Запчасти Case IH 915 (25-04) - ELEVATORS, GRAIN ELEVATOR, FOR BEAN Elevators

Схема запчастей Case IH 915 - (25-04) - ELEVATORS, GRAIN ELEVATOR, FOR BEAN Elevators
43
9
7
28
27
50
38
6
14
52
44
3
12
39
66
1
61
31
57
58
33
47
1
48
10
63
4
11
32
5
28
19
64
18
35
23
35
21
46
40
8
60
53
3
54
5
2
36
24
15
17
17
41
63
13
56
61
6
55
20
16
49
7
30
26
27
29
45
35
38
34
33
25
60
65
59
35
22
42
66
34
36
51
26
37
37
62
4
65
14
FIT
1:1
100%

Артикул

Название

Примечание

Количество

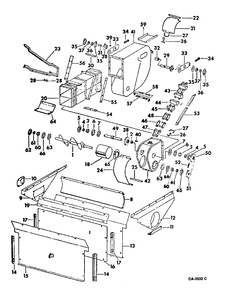
1

162035C91

AUGER ASSY, grain

1шт.

2

157207C1

SPACER

grain auger

1шт.

3

482303R92

BALL BEARING,1.0005" ID x 52 mm OD x 0.84375"

grain auger

2шт.

4

455102R21

COLLAR

W/SET SCREW, locking

2шт.

5

180383C1

FLANGE

w/str lub fitting

2шт.

16897R1

CARRIAGE BOLT,Short Nk, 5/16" - 18 x 3/4", Gr 2, Full Thd

BOLT, 5/16 x 3/4 sq-nk crg

6шт.

120376

NUT,5/16"-18, G5

6шт.

80681

LOCK WASHER,5/16"

WASHER, LOCK, 5/16"

6шт.

6

937517R1

FLANGE

grain auger brg grooved

2шт.

7

589389R1

CYLINDER END CAP

SHIELD, grain auger bearing

2шт.

8

177362C1

ASSEMBLY

SECTION, grain auger trough bottom, not perforated

1шт.

8

177362C1

ASSEMBLY

SECTION, grain auger trough bottom, perforated

1шт.

18673R1

CARRIAGE BOLT,Short Sq Nk, 5/16" - 18 x 1/2", Gr 2

BOLT, 5/16 x 1/2 sq-nk crg

14шт.

938017R1

FLANGE NUT,Flg, USR, 5/16"-18

5/16 flange lock

14шт.

9

178688C1

SIDE ASSY, grain auger trough LH

1шт.

18763R1

BOLT,Hex, 5/16" - 18 x 1/2", Gr 2

5/16 x 1/2 hex-hd mach

6шт.

120376

NUT,5/16"-18, G5

8шт.

938017R1

FLANGE NUT,Flg, USR, 5/16"-18

5/16 flange

6шт.

80681

LOCK WASHER,5/16"

WASHER, LOCK, 5/16"

4шт.

10

178602C1

PLATE

grain auger LH access

1шт.

11

178848C1

ANGLE, grain auger trough LH side

1шт.

16897R1

CARRIAGE BOLT,Short Nk, 5/16" - 18 x 3/4", Gr 2, Full Thd

BOLT, 5/16 x 3/4 sq-nk crg

2шт.

938017R1

FLANGE NUT,Flg, USR, 5/16"-18

5/16 flange lock

2шт.

12

177357C1

SIDE ASSY.

SIDE ASSY, grain auger trough RH

1шт.

18763R1

BOLT,Hex, 5/16" - 18 x 1/2", Gr 2

5/16 x 1/2 hex-hd mach

6шт.

938017R1

FLANGE NUT,Flg, USR, 5/16"-18

5/16 flange lock

8шт.

13

177350C1

ASSEMBLY

SECTION ASSY, grain auger trough front

1шт.

14

178846C1

ANGLE, grain trough front

2шт.

16897R1

CARRIAGE BOLT,Short Nk, 5/16" - 18 x 3/4", Gr 2, Full Thd

BOLT, 5/16 x 3/4 sq-nk crg

8шт.

938017R1

FLANGE NUT,Flg, USR, 5/16"-18

5/16 flange lock

2шт.

15

178850C1

ASSEMBLY

SECTION, grain auger trough lower rear

1шт.

16

177353C1

VALVE BLOCK

SECTION, grain auger trough upper rear

1шт.

938017R1

FLANGE NUT,Flg, USR, 5/16"-18

5/16 flange lock

5шт.

477-73108

SERRATED SCREW,Sl Truss Hd, 5/16" - 18 x 1/2"

5/16 x 1/2 slt-hd truss

5шт.

17

178847C1

ANGLE, grain auger trough rear

4шт.

16897R1

CARRIAGE BOLT,Short Nk, 5/16" - 18 x 3/4", Gr 2, Full Thd

BOLT, 5/16 x 3/4 sq-nk crg

15шт.

12872R1

BOLT,Short NK, 5/16"-18 x 1", G2, Full Thd

CARRIAGE, Short NK, 5/16"-18 x 1", G2, Full Thd

1шт.

938017R1

FLANGE NUT,Flg, USR, 5/16"-18

5/16 flange lock

16шт.

18

177372C1

TUBE ASSY, grain auger trough, perforated

1шт.

18

177370C1

TUBE

ASSY, grain auger trough, not perforated

1шт.

18474R1

BOLT,Hex, 5/16" - 18 x 1", Gr 2

5/16 x 1 znd hex-hd mach

2шт.

120376

NUT,5/16"-18, G5

2шт.

80681

LOCK WASHER,5/16"

WASHER, LOCK, 5/16"

2шт.

19

177355C1

SECTION, grain auger trough rear

1шт.

18673R1

CARRIAGE BOLT,Short Sq Nk, 5/16" - 18 x 1/2", Gr 2

BOLT, 5/16 x 1/2 sq-nk crg

8шт.

938017R1

FLANGE NUT,Flg, USR, 5/16"-18

5/16 flange lock

8шт.

20

179110C2

HOUSING ASSY, grain elevator

1шт.

135270

SERRATED SCREW,5/16" - 18 x 3/4"

5/16 x 3/4 znp slt-truss-hd

1шт.

938017R1

FLANGE NUT,Flg, USR, 5/16"-18

5/16 flange lock

1шт.

134238R1

WASHER

.344 x 1.000 x .054

1шт.

21

162099C1

DOOR, grain elevator head

1шт.

22

160743C1

PIN

ROD, grain elevator head door hinge

1шт.

23

168238C1

SUPPORT ASSY, grain elevator

1шт.

18494R1

BOLT,Hex, 3/8" - 16 x 1", Gr 2

3/8 x 1 hex-hd mach

2шт.

120377

NUT,3/8" - 16, Gr 5

2шт.

120382

LOCK WASHER,Helical Spring, 3/8"

WASHER, LOCK, 3/8"

2шт.

20803R1

WASHER

13/32 x 1 x 11ga

2шт.

24

196214C1

DOOR

grain elevator boot, not perforated

1шт.

24

162031C1

DOOR, grain elevator boot-perforated, perforated

1шт.

25

160743C1

PIN

grain elevator boot door hinge

1шт.

26

155909C1

LATCH

grain elevator door

2шт.

648002

KNIFE

1/8" x 3/4"

2шт.

21879R1

HEADED PIN,1/4" x 1 1/4"

PIN, 1/4 x 1-1/4 std-hd

2шт.

27

664360R1

BOLT,U, 1/4" - 20 x 69.65"

U-BOLT, grain elevator door

2шт.

86625061

NUT,1/4"-20, GB

NUT, 1/4 nylon insert

2шт.

28

(Not used this application)

1шт.

29

170540C1

SHAFT

grain elevator head

1шт.

21789R1

WASHER

1-1/32 x 1-1/4 x 16 ga

11шт.

30

160431C1

PIPE

SPACER, grain elevator head

1шт.

31

160695C1

SPACER

grain elevator head shaft sprocket left

1шт.

32

157207C1

SPACER

grain elevator head shaft brg

1шт.

33

170584C11

BRACKET

ASSY, grain elevator head shaft brg

2шт.

19389R1

CARRIAGE BOLT,Sq Nk, 5/16" - 18 x 9", Gr 2

BOLT, 5/16 x 9 sq-nk crg

1шт.

120376

NUT,5/16"-18, G5

1шт.

80681

LOCK WASHER,5/16"

WASHER, LOCK, 5/16"

1шт.

134238R1

WASHER

11/32 x 1 x 16 ga

2шт.

34

611421R1

BOLT,Hex, 7/16" - 14 x 3 1/2", Full Thd

7/16 x 3-1/2 hex-hd mach

2шт.

NLS

NO LONGER SERVICED

NUT, 7/16 hex

2шт.

35

612031R1

FLANGED BEARING

grain elevator head shaft brg

4шт.

16897R1

CARRIAGE BOLT,Short Nk, 5/16" - 18 x 3/4", Gr 2, Full Thd

BOLT, 5/16 x 3/4 sq-nk crg

4шт.

120376

NUT,5/16"-18, G5

4шт.

80681

LOCK WASHER,5/16"

WASHER, LOCK, 5/16"

4шт.

36

160796C91

BALL BEARING,25.4mm ID x 51.99mm OD x 16.56mm W

BEARING, grain elevator head shaft

2шт.

37

564853R11

COLLAR

W/SET SCREW

2шт.

38

163486C91

SPROCKET ASSY.

SPROCKET ASSY, grain elevator conveyor used upper and lower 7-T

2шт.

39

124553

WOODRUFF KEY,#15, 1/4" x 1", HT

1шт.

40

155308C1

KEY

1/4 x 1-5/16 sq parallel hard

1шт.

41

162092C91

HEAD ASSY, grain elevator

1шт.

18673R1

CARRIAGE BOLT,Short Sq Nk, 5/16" - 18 x 1/2", Gr 2

BOLT, 5/16 x 1/2 sq-nk crg

8шт.

120376

NUT,5/16"-18, G5

8шт.

80681

LOCK WASHER,5/16"

WASHER, LOCK, 5/16"

8шт.

42

162023C91

BOOT ASSY, grain elevator

1шт.

18673R1

CARRIAGE BOLT,Short Sq Nk, 5/16" - 18 x 1/2", Gr 2

BOLT, 5/16 x 1/2 C-Z sq-nk crg

4шт.

120376

NUT,5/16"-18, G5

4шт.

80681

LOCK WASHER,5/16"

WASHER, LOCK, 5/16"

4шт.

43

179116C91

CHAIN ASSY, grain elevator conveyor

1шт.

44

162416C2

BUCKET

BRACKET, grain elevator conveyor chain, 86

1шт.

104248

RIVET, 1/4 x 3/8 fl hd solid, 99

1шт.

45

588567R11

DRAG LINK

LINK, grain elevator conveyor attaching

1шт.

46

588564R11

LINK

grain elevator conveyor chain connecting

1шт.

47

588562R91

CHAIN LINK

LINK, grain elevator conveyor offset

1шт.

48

588566R91

LINK

grain elevator conveyor roller

1шт.

49

162106C11

SHAFT ASSY, grain elevator boot

1шт.

50

174171C1

SPROCKET ASSY, grain elevator boot shaft drive, 21-T

1шт.

137185

COTTER PIN,1/8" x 1"

PIN, SPLIT (COTTER), 1/8" x 1"

1шт.

379990R1

HEADED PIN

PIN, 3/8 x 2 C-Z std-hd dld

1шт.

51

162038C91

SPROCKET ASSY, grain elevator boot shaft drive 17T

1шт.

137185

COTTER PIN,1/8" x 1"

PIN, SPLIT (COTTER), 1/8" x 1"

1шт.

379990R1

HEADED PIN

PIN, 3/8 x 2 C-Z std hd dld

1шт.

52

CHAIN ASSY, grain elevator boot shaft drive, use 39 links from 10-ft roll marked 1791 D one connecting link 1310 D and one offset link 1315 D

1шт.

53

179115C1

STRIP, grain elevator wood

1шт.

101994

SCREW, no 10 x 1/2 wood

11шт.

54

171983C1

STRIP, elevator filler lower

1шт.

55

171984C1

STRIP, elevator filler LH

1шт.

56

171985C1

STRIP, elevator filler RH

1шт.

477-73108

SERRATED SCREW,Sl Truss Hd, 5/16" - 18 x 1/2"

5/16 x 1/2 slt-truss-hd

1шт.

938017R1

FLANGE NUT,Flg, USR, 5/16"-18

5/16 flange lock

1шт.

134238R1

WASHER

.344 x 1.000 x .054

1шт.

57

174172C1

STRAP, elevator tie inner

1шт.

938017R1

FLANGE NUT,Flg, USR, 5/16"-18

5/16 C-Z flange lock

3шт.

135270

SERRATED SCREW,5/16" - 18 x 3/4"

5/16 x 3/4 C-Z slt-truss-hd

3шт.

58

174173C1

STRAP, elevator tie outer

1шт.

59

175288C1

PLATE ASSY, elevator head guide support

1шт.

18763R1

BOLT,Hex, 5/16" - 18 x 1/2", Gr 2

5/16 x 1/2 C-Z hex-hd mach

4шт.

80681

LOCK WASHER,5/16"

WASHER, LOCK, 5/16"

4шт.

101994

SCREW, no. 10 x 1/2 wood

4шт.

60

482303R92

BALL BEARING,1.0005" ID x 52 mm OD x 0.84375"

grain elevator boot shaft

2шт.

61

455102R11

COLLAR

W/SET SCREW, grain elevator boot shaft brg lkg

2шт.

62

937518R91

FLANGE

w/45 deg lub fitting

1шт.

16897R1

CARRIAGE BOLT,Short Nk, 5/16" - 18 x 3/4", Gr 2, Full Thd

BOLT, 5/16 x 3/4 C-Z sq-nk crg

6шт.

120376

NUT,5/16"-18, G5

12шт.

80681

LOCK WASHER,5/16"

WASHER, LOCK, 5/16"

6шт.

63

587389R1

SHIELD, grain elevator boot shaft brg

2шт.

64

196210C1

SUPPORT, grain elevator housing lower, serial no 19001 and above

1шт.

18494R1

BOLT,Hex, 3/8" - 16 x 1", Gr 2

3/8 x 1 hex-hd mach

6шт.

120377

NUT,3/8" - 16, Gr 5

6шт.

120382

LOCK WASHER,Helical Spring, 3/8"

WASHER, LOCK, 3/8"

6шт.

120394

WASHER,3/8", SAE

WASHER, .41 x .81 x .06

6шт.

65

180383C91

FLANGED BEARING,3.75" OD x 0.4062"

FLANGE W/45 deg lub fitting

2шт.

16897R1

CARRIAGE BOLT,Short Nk, 5/16" - 18 x 3/4", Gr 2, Full Thd

BOLT, 5/16 x 3/4 crg type 1

1шт.

120376

NUT,5/16"-18, G5

1шт.

80681

LOCK WASHER,5/16"

WASHER, LOCK, 5/16"

1шт.

66

937517R1

FLANGE

bearing grooved

2шт.

Выбрано товаров: 143