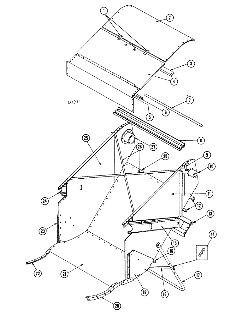
Запчасти Case IH 1010 (084) - FEEDER SPOUT, STANDARD HEADER (60) - PRODUCT FEEDING

Схема запчастей Case IH 1010 - (084) - FEEDER SPOUT, STANDARD HEADER (60) - PRODUCT FEEDING
2
10
18
11
3
6
25
14
23
13
1
12
22
24
16
9
26
8
19
5
4
27
20
21
28
7
15
17
FIT
1:1
100%

Артикул

Название

Примечание

Количество

1

F86525

CLIP

- door

2шт.

SCREW - #10-24 x 1/2" rhd. mach. (173-97) nut (129-7)

2шт.

2

F10276

TOP - upper feeder spout

1шт.

SCREW - 1/4" x 3/4" N.C. mach. (73-412) nut (25-104)

6шт.

WASHER - 1/4" plain (95-4) L.W. (92-4)

6шт.

3

F8271

CHANNEL - for ref. 2

1шт.

4

F77078

DOOR - feeder spout

1шт.

HANDLE - #479 Stanley door (228-3)

1шт.

RIVET - 3/16" x 5/16" W.B. (49-35)

2шт.

5

F8338

TOP SHEET - feeder spout

1шт.

RIVET - 1/4" x 7/8" rhd.

2шт.

6

F10807

CHANNEL - for ref. 5

1шт.

7

F7805

ROD - hinge, feeder spout door

1шт.

8

F11287

PLATE - stiffener, for pivot hub

1шт.

BOLT - 3/8" x 7/8" x N.F. hex. (14-614) nut (25-116)

8шт.

9

F10161

BRACKET - for ref. 26

2шт.

BOLT - 3/8" x 1" N.F. hex. (14-616) nut (25-116)

4шт.

10

F79557

HUB - L.H., pivot (Before #8252001)

1шт.

FITTING - 1/8" - 90 degree Lincoln #5407 (219-56)

1шт.

RIVET - 1/4" x 3/4" ctsk. hd. (46-412)

9шт.

F86522

HUB - L.H. pivot (#8252001 and after)

1шт.

FITTING - 1/8" str. Lincoln #5003 (219-3)

1шт.

11

F79552

SIDE SHEET - L.H. feeder spout (Before #8252001)

1шт.

SCREW - 5/16" x 3/4" N.C. mach. (77-512) nut (25-105)

2шт.

F86519

SIDE SHEET - L.H. feeder spout (#8252001 and after)

1шт.

12

F8262

CHANNEL - upper, feeder spout floor

2шт.

BOLT - 1/4" x 5/8" rhd. sq. nk. (11-410) nut (25-104)

6шт.

13

F77058

SUPPORT - header lift

1шт.

BOLT - 3/8" x 1-1/4" rhd. sq. nk. (11-620) nut (25-106)

6шт.

14

O1095CU

X

COTTER - hair pin, for ref. 18

4шт.

15

F77057

SCREW

CHANNEL - side rail, L.H.

1шт.

RIVET - 5/16" x 3/4" rhd. (45-512)

2шт.

RIVET - 5/16" x 3/4" W.B. (49-512)

2шт.

16

F8269

CHANNEL - lower, feeder spout floor

1шт.

17

F77102

STAND - header support

1шт.

BOLT - 1/2" x 1-3/4" N.F. hex. (14-828)

2шт.

BOLT - 5/16" x 2-1/2" N.F. hex. (14-540)

2шт.

NUT - (25-118) nut (25-115)

4шт.

18

F8397

TIE ROD - header support stand

2шт.

19

F8317

GUSSET - lower side sheet, L.H.

1шт.

RIVET - 5/16" x 1/2" rhd. (45-58)

1шт.

RIVET - 5/16" x 5/8" rhd. (45-510)

2шт.

RIVET - 5/16" x 3/4" rhd. (45-512)

1шт.

20

F79100

ANGLE - L.H. lower, feeder spout

1шт.

BOLT - 1/4" x 1/2" rhd. sq. nk. (11-48) nut (25-104)

4шт.

BOLT - 1/4" x 3/4" rhd. sq. nk. (11-412) nut (25-104)

4шт.

21

F8268

FLOOR - lower, feeder spout

1шт.

BOLT - 1/4" x 1/2" rhd. sq. nk. (11-48) nut (25-104)

7шт.

22

F79102

ANGLE - R.H. lower, feeder spout

1шт.

BOLT - 1/4" x 1/2" rhd. sq. nk. (11-48) nut (25-104)

4шт.

BOLT - 1/4" x 3/4" rhd. sq. nk. (11-412) nut (25-104)

4шт.

23

F8318

GUSSET - lower side sheet, R.H.

1шт.

RIVET - 5/16" x 1/2" rhd. (45-58)

1шт.

RIVET - 5/16" x 5/8" rhd. (45-510)

2шт.

RIVET - 5/16" x 3/4" rhd. (45-512)

2шт.

24

F77054

CHANNEL - side rail, R.H.

1шт.

RIVET - 5/16" x 3/4" rhd. (45-512)

3шт.

25

F79555

SIDE SHEET - R.H. (Before #8252001)

1шт.

77-512

SCREW

- 5/16" x 3/4" N.C. mach. and nut (25-105)

2шт.

F86520

SIDE SHEET - R.H. (#8252001 and after)

1шт.

26

F10160

BRACE - cross

2шт.

14-828

BOLT,Hex, 1/2" - 20 x 1-3/4", Gr 5

- 1/2" X 1-3/4" N.F. hex. and nut (25-118)

2шт.

25-1110

NUT,5/8"-18, G5

- 5/8" N.F. hex.

4шт.

27

F79556

HUB - R.H., pivot (Before #8252001)

1шт.

219-56

LUBE NIPPLE,90 Degree Elbow, 1/8" - 27 NPTF

FITTING - grease 1/8" - 90 degrees

1шт.

46-412

RIVET,Csk, 1/4" x 13/16"

- 1/4" x 3/4" ctsk. hd.

9шт.

F86524

HUB - R.H., pivot (#8252001 and after)

1шт.

219-3

LUBE NIPPLE,1/8" - 27 NPTF

FITTING - grease, 1/8" str.

1шт.

28

F8258

FLOOR - upper

1шт.

411-48

CARRIAGE BOLT,Sq Nk, 1/4" - 20 x 1/2", Gr 2

BOLT - 1/4" x 1/2" rhd. nk. and nut (25-104)

12шт.

F86629

SHELL - 12 ft. header

1шт.

F86630

SHELL - 14 ft. header

1шт.

F86631

SHELL - 16 ft. header

1шт.

F86632

SHELL - 18 ft. header

1шт.

Выбрано товаров: 74