Запчасти Case IH 1010 (206) - FRONT SIDES AND DECK (90) - PLATFORM, CAB, BODYWORK AND DECALS

Схема запчастей Case IH 1010 - (206) - FRONT SIDES AND DECK (90) - PLATFORM, CAB, BODYWORK AND DECALS
22
23
14
24
32
26
19
8
21
21
18
20
24
33
10
11
15
1
17
9
13
30
21
4
5
7
25
31
6
12
16
34
29
3
24
2
28
27
21
FIT
1:1
100%

Артикул

Название

Примечание

Количество

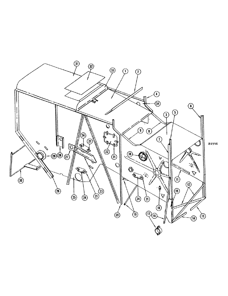
1

F86554

DECK - center, top (Replaces F86045)

1шт.

2

F11884

DECK - false top

1шт.

BOLT - 1/4" x 1/2" N.F. hex. (114-2) nut (129-121)

5шт.

BOLT - 1/4" x 5/8" N.F. hex. (114-3) nut (129-121)

2шт.

3

F79357

DECK - front, top

1шт.

4

F79278

POST - cylinder, rear, L.H.

1шт.

5

F10983

POST - cylinder, front R.H.

1шт.

6

F10994

POST - cylinder, front L.H.

1шт.

7

F11009

REINFORCEMENT - for F10983 R.H. cylinder post

1шт.

F11010

REINFORCEMENT - for F10994 L.H. cylinder post

1шт.

8

F11825

ANGLE - top deck, L.H. front

1шт.

9

F10985

ANGLE - top deck, R.H.

1шт.

10

F11019

PLATE - beater bearing mounting

2шт.

11

F11820

ANGLE - conveyor rake, R.H.

1шт.

F11824

ANGLE - conveyor rake, L.H.

1шт.

12

F9537

BRACE - body support, front

2шт.

13

F9539

BRACE - lower body L.H.

1шт.

14

F9538

BRACE - lower body R.H.

1шт.

15

F11833

REINFORCEMENT - cylinder post, L.H.

1шт.

F11834

REINFORCEMENT - cylinder post, R.H.

1шт.

16

F86172

BRACE - for R.H. front cylinder post

1шт.

BOLT - 1/2" x 1-3/4" N.F. hex. (14-828)

1шт.

NUT - 1/2" N.F. hex. (25-118)

2шт.

17

F9826

CLAMP - axle, For R.H. cylinder post

2шт.

BOLT - 1/2" x 1-3/4" N.F. hex. (14-828)

1шт.

NUT - 1/2" N.F. hex. (25-118)

2шт.

18

F12598

PLATE

COVER - concave alignment hole

4шт.

BOLT - 5/16" x 3/4" rhd. sq. nk. (11-512) nut (25-105)

4шт.

WASHER - 5/16" plain (195-21)

4шт.

19

F7775

BRACE - cross, from R.H. to L.H. rear cylinder posts (Beneath body)

2шт.

BOLT - 3/8" x 1-1/2" N.F. hex. (14-624) nut (25-116)

4шт.

20

F86712

POST - cylinder, rear R.H. (Replaces F79272)

1шт.

21

F86525

CLIP

- access door (Replaces F7738)

24шт.

151-123

RIVET - 3/16" x 1/4" steel semi-tube

20шт.

151-122

RIVET- 3/16" x 5/16" #2160 steel semi-tube

4шт.

22

F9213

DOOR - side

2шт.

23

F7742

BRACKET - support, rear conveyor rake, R.H.

1шт.

F11917

BRACKET - support, rear conveyor rake, L.H.

1шт.

24

F8077

DOOR - access

6шт.

25

F86707

SHEET - side, L.H. (Replaces F86544)

1шт.

F86711

SHEET - side, R.H. (Replaces F86545)

1шт.

26

F7773

STIFFENER - rear body angle

2шт.

27

F7743

SUPPORT - shoe jackshaft, R.H.

1шт.

F7758

SUPPORT - shoe jackshaft, L.H.

1шт.

28

F7744

SUPPORT - strawwalker crankshaft

2шт.

29

F7832

FLANGE - tailings auger

1шт.

30

F86596

SHIELD - rear wheels

1шт.

114-7

BOLT,Hex, 1/4" - 28 x 7/8", Gr 5, Full Thd

and stop nut (131-1) Hex, 1/4"-28 x 7/8", G5, Full Thd

2шт.

31

F79280

DECK - rear

1шт.

32

F86814

DOOR - rear deck (Replaces F76768)

1шт.

33

F76929

REINFORCEMENT - rear deck

1шт.

34

F10986

PLATE - filler, combine body

2шт.

F7723

STRAP - tension, across rear body

2шт.

14-620

BOLT,Hex, 3/8" - 24 x 1-1/4", Gr 5

- 3/8" x 1-1/4" N.F. hex. and nut (25-116)

4шт.

F7732

STRIP - wear, conveyor rake angles (Not shown)

2шт.

F11826

BRACKET - upper, skirt (Upper brace for diagonal brackets) L.H. side only (Not shown)

1шт.

45-512

RIVET,But Hd, 5/16" x 3/4"

- 5/16" x 3/4" rhd.

4шт.

F11827

BRACKET - lower, skirt (Lower brace for diagonal brackets) L.H. side only (Not shown)

1шт.

45-512

RIVET,But Hd, 5/16" x 3/4"

- 5/16" x 3/4"

4шт.

F12622

SHIELD - side sheet stiffener (Not shown)

2шт.

Выбрано товаров: 60