Запчасти Case IH 1060 (234) - ELECTRICAL SYSTEM, CASE A284LP, SERIAL NUMBER 8311400 AND AFTER (55) - ELECTRICAL SYSTEMS

Схема запчастей Case IH 1060 - (234) - ELECTRICAL SYSTEM, CASE A284LP, SERIAL NUMBER 8311400 AND AFTER (55) - ELECTRICAL SYSTEMS
19
7
5
11
4
2
26
18
17
27
32
25
16
3
6a
13
28
18
22
31
30
1
15
20
31
29
6
7a
34
21
6
23
35
10
24
3
3
6a
12
14
FIT
1:1
100%

Артикул

Название

Примечание

Количество

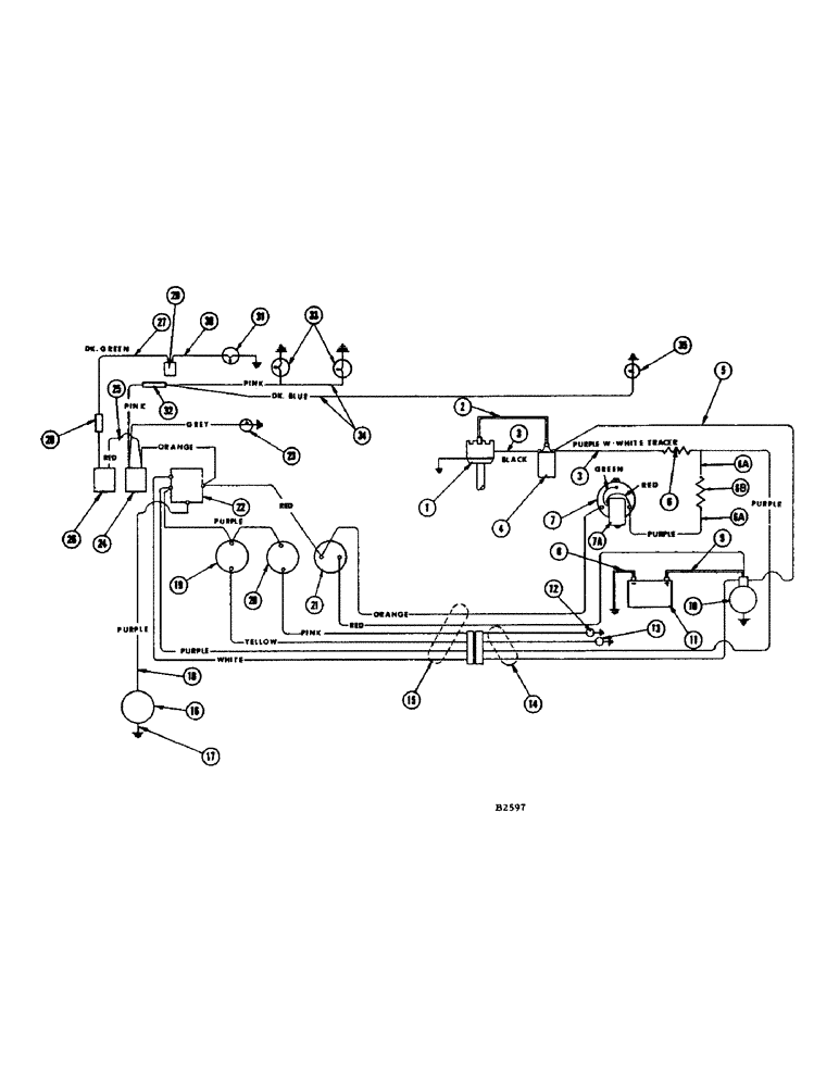
1

A24507

X

DISTRIBUTOR

1шт.

2

A29180

CABLE

WIRE -, Serial Range: distributor-coil

1шт.

3

A28015

WIRE - distributor to coil and, Serial Range: coil-resistor

2шт.

4

A24503

COIL

- ignition

1шт.

5

A8743

WIRE - starter, Serial Range: solenoid-coil

1шт.

6

A24504

RESISTOR

1шт.

6a

F14518

WIRE - field resistor terminal

2шт.

6b

F22316

RESISTOR,75 Ohms 0.2 Amps DC

1шт.

7

A41090

ALTERNATOR

- less pulley and regulator

1шт.

7a

A41083

REGULATOR - voltage

1шт.

8

A7441

CABLE

-, Serial Range: battery-ground

1шт.

9

A21363

CABLE

- battery to starter solenoid

1шт.

10

A57092

X

MOTOR - starting (Replaces A20873) See page 426

1шт.

11

M20389

X

BATTERY - (12 volt DC)

1шт.

12

F12033

X

UNIT - sending, temperature

1шт.

13

F12034

SENDER UNIT

UNIT - sending, oil pressure (60#)

1шт.

14

F14043

HARNESS - electric cable engine end

1шт.

PINK - temperature sending unit

1шт.

YELLOW - oil pressure sending unit

1шт.

PURPLE - resistor and, Serial Range: alternator-resistor

1шт.

WHITE - starter solenoid

1шт.

15

F14044

HARNESS - electric cable instrument panel end

1шт.

ORANGE - ammeter to alternator and light switch to ignition switch

1шт.

RED - alternator to ammeter and ammeter to ignition switch

1шт.

PINK - temperature gauge

1шт.

YELLOW - oil pressure gauge

1шт.

PURPLE - ignition switch, ignition switch to oil pressure gauge to temperature gauge

1шт.

WHITE - starter switch

1шт.

16

D39286

GAUGE

KIT - engine hour meter

1шт.

17

D39285

ELECTRICAL WIRE

WIRE - lead (36" long) Same as ref. 18

1шт.

18

D39285

ELECTRICAL WIRE

WIRE - lead (36" long) Same as ref. 17

1шт.

19

F13116

SCREW

GAUGE - oil pressure

1шт.

20

F13117

GAUGE

- temperature

1шт.

21

F13118

AMMETER

1шт.

22

F91864

SWITCH

- ignition and starter

1шт.

23

A24087

LAMP BASE

LIGHT - instrument panel, with wire

1шт.

A22349

BULB

- (#1445)

1шт.

24

A10942

KIT

SWITCH - light

1шт.

25

F22240

WIRE - flasher switch to light switch

1шт.

26

F91851

SWITCH - flasher

1шт.

27

F87890

WIRE - flasher to flasher switch

1шт.

28

223-9

FUSE,9 Amp, Type SFE

- 9 amp.

1шт.

29

A34867

FLASHER UNIT

FLASHER

1шт.

30

F22378

WIRE - flasher to flasher lamp

1шт.

31

A34853

LAMP

- flasher

1шт.

32

223-9

FUSE,9 Amp, Type SFE

- 9 amp. (See lighting attachment)

1шт.

33

F82077

LAMP BASE

LAMP - head (See lighting attachment)

2шт.

34

F14025

WIRE - (See lighting attachment)

1шт.

35

A20965

LAMP BASE

LAMP - combination flood or tail (See lighting attachment)

1шт.

Выбрано товаров: 0