Запчасти Case IH 1060 (246) - BATTERY TRAY, GASOLINE AND L.P. (55) - ELECTRICAL SYSTEMS

Схема запчастей Case IH 1060 - (246) - BATTERY TRAY, GASOLINE AND L.P. (55) - ELECTRICAL SYSTEMS
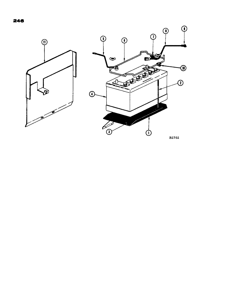
11
6
10
3
9
1
5
2
8
7
4
FIT
1:1
100%

Артикул

Название

Примечание

Количество

F77032

TRAY - battery (Case)

1шт.

1

F86762

TRAY - battery (Chrysler only)

1шт.

2

A7368

ROD - hold down

2шт.

RIVET - 5/16" x 5/8" W.B. (49-510)

2шт.

NUT - 3/8" N.C. wing (129-410)

2шт.

3

A7390

PAD - rubber

2шт.

4

F14897

BATTERY

- 12 volt (Prod. only - use M20389 for repairs)

1шт.

M20389

X

BATTERY - 12 volt (Replacement)

1шт.

5

A7441

CABLE

- battery ground

1шт.

6

F14452

HOLD DOWN - battery (Replaces A11243)

1шт.

A11243

FRAME - battery clamp (Replaced by F14452)

1шт.

7

A27072

COVER

- positive terminal

1шт.

8

A21363

CABLE

- battery to starter (Case)

1шт.

A20634

CABLE - battery to starter (Chrysler only)

1шт.

F12300

CLIP - for A20634 cable (Not shown)

1шт.

9

A21753

CAP

NIPPLE - (Rubber) Positive terminal

1шт.

10

A35010

CLIP

- battery hold-down (For F14452)

2шт.

11

F88730

SHIELD - heat (Chrysler only) Replaces F13227

1шт.

BOLT - 5/16" x 3/4" N.F. hex. (14-512) nut (25-115)

2шт.

WASHER - 5/16" flat (195-21) L.W. (92-5)

2шт.

Выбрано товаров: 0