Запчасти Case IH 1060 (087A) - FEED RAKE (60) - PRODUCT FEEDING

Схема запчастей Case IH 1060 - (087A) - FEED RAKE (60) - PRODUCT FEEDING
1
8
3
7
4
3
10
2
5
9
8
11
4
5
13
8
1
13
8
8
2
12
FIT
1:1
100%

Артикул

Название

Примечание

Количество

1

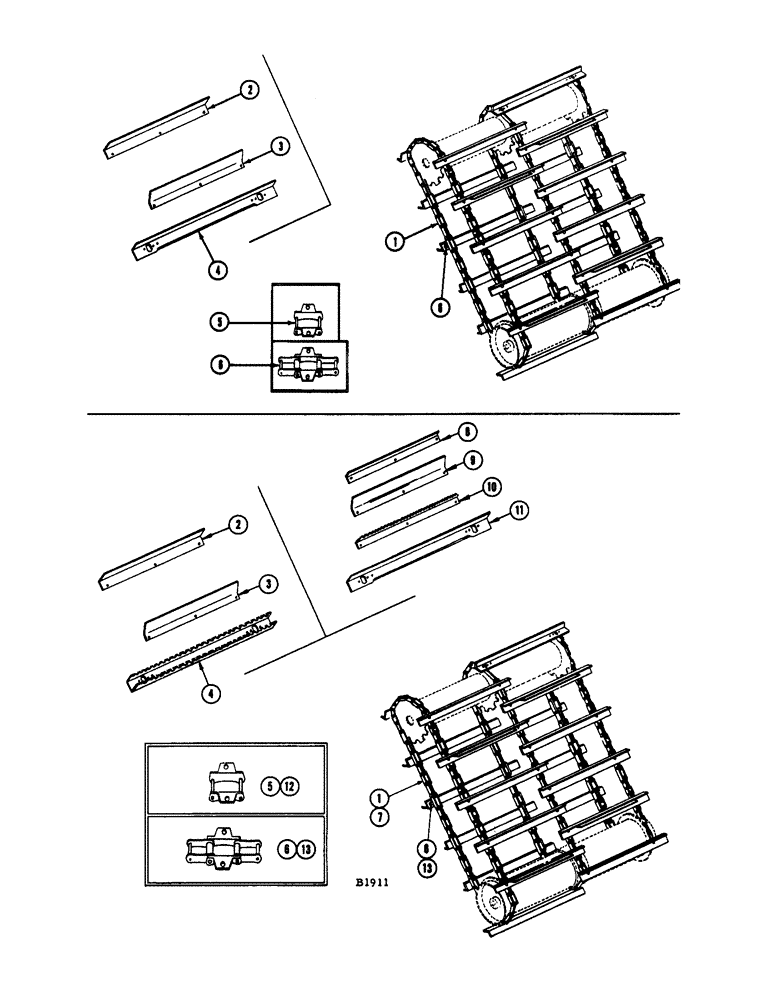
F79561

RAKE - feed (Consists of 26-F11300 slats, 8-F11301 wipers, 8-F11302 reinforcements, 52 attachments links and A550 chain links UAR)

1шт.

2

F11302

REINFORCEMENT - wiper strip

8шт.

BOLT - 1/4" x 3/4" N.F. hex. (14-412) nut (25-114)

24шт.

3

F11301

WIPER

8шт.

4

F11300

SLAT - feed rake

26шт.

RIVET - 1/4" x 5/8" rhd. (45-410)

104шт.

F79124

PKG. OF 25 HARDENED COTTERS FOR A550-CHAIN LINKS

1шт.

5

F11698

LINK ASSY.

LINK - connecting attaching (Outside)

1шт.

6

F79916

LINK - attaching w/2 conn. links

1шт.

K3913

LINK

- connecting, #A550 roller chain

1шт.

K3914

LINK

- roller, #A550 roller chain

1шт.

K3915

LINK

- offset #A550 roller chain

1шт.

1

F88149

RAKE - feed (Consists of 38-F14544, 8-F11301 wipers, 8-F11302 reinforcements, 76-attachment links and A550 chain links UAR), heavy duty headers 8334601 and, Start Serial: after

1шт.

2

F11302

REINFORCEMENT - wiper strip, feed rake heavy duty headers 8334601 and, Start Serial: after

8шт.

3

F11301

WIPER, feed rake heavy duty headers 8334601 and, Start Serial: after

8шт.

4

F14544

SLAT - feed rake, heavy duty headers 8334601 and, Start Serial: after

38шт.

RIVET - 1/4" x 5/8" rhd. (45-410), feed rake heavy duty headers 8334601 and, Start Serial: after

152шт.

F79124

PKG. OF 25 HARDENED COTTERS FOR A550 CHAIN LINKS, feed rake heavy duty headers 8334601 and, Start Serial: after

1шт.

5

F11698

LINK ASSY.

LINK - connecting attaching (Outside), feed rake heavy duty headers 8334601 and, Start Serial: after

1шт.

6

F79916

LINK - attaching with 2 connecting links, feed rake heavy duty headers 8334601 and, Start Serial: after

1шт.

K3913

LINK

- connecting, A550 roller chain, feed rake heavy duty headers 8334601 and, Start Serial: after

1шт.

K3914

LINK

- roller, A550 roller chain, feed rake heavy duty headers 8334601 and, Start Serial: after

1шт.

K3915

LINK

- offset, A550 roller chain, feed rake heavy duty headers 8334601 and, Start Serial: after

1шт.

7

F88071

RAKE - feed (Consists of 26-F11300 slats, 8-F11301 wipers, 8-F14480 reinforcements, 26-F14133 angles, 52 attachment links and A550 chain links UAR) before, Start Serial: 8334601

1шт.

8

F14480

REINFORCEMENT - wiper before, Start Serial: 8334601

8шт.

BOLT - 1/4" x 7/8" N.F. hex. (14-414) nut (25-114) before, Start Serial: 8334601

24шт.

9

F11301

WIPER before, Start Serial: 8334601

8шт.

10

F14133

ANGLE before, Start Serial: 8334601

26шт.

BOLT - 1/4" x 5/8" N.F. hex. (14-410) nut (25-114) before, Start Serial: 8334601

54шт.

11

F11300

SLAT - feed rake before, Start Serial: 8334601

26шт.

RIVET - 1/4" x 5/8" rhd. (45-410) before, Start Serial: 8334601

104шт.

F79124

PKG. OF 25 HARDENED COTTERS FOR A550 CHAIN LINKS before, Start Serial: 8334601

1шт.

12

F11698

LINK ASSY.

LINK - connecting attaching (Outside) before, Start Serial: 8334601

1шт.

13

F79916

LINK - attaching w/2 conn. links before, Start Serial: 8334601

1шт.

K3913

LINK

- connecting, A550 roller chain before, Start Serial: 8334601

1шт.

K3914

LINK

- roller, A550 roller chain before, Start Serial: 8334601

1шт.

K3915

LINK

- offset, A550 roller chain before, Start Serial: 8334601

1шт.

Выбрано товаров: 37