Запчасти Case IH 1060 (096) - FEEDER SPOUT, EXTENDED CUTTER BAR (60) - PRODUCT FEEDING

Схема запчастей Case IH 1060 - (096) - FEEDER SPOUT, EXTENDED CUTTER BAR (60) - PRODUCT FEEDING
11
24
15
28
4
22
21
13
9
3
2
5
25
29
7
23
12
8
27
6
19
16
17
18
10
14
26
20
1
FIT
1:1
100%

Артикул

Название

Примечание

Количество

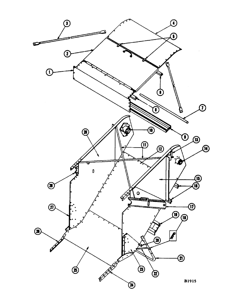
1

F8338

TOP SHEET - feeder spout

1шт.

RIVET - 1/4" x 7/8" rhd. (45-414)

2шт.

2

F77078

DOOR - feeder spout

1шт.

HANDLE - #479 Stanley door (228-3)

1шт.

RIVET - 3/16" x 5/16" W.B. hd. (49-35)

2шт.

3

F11914

ROD - tension

2шт.

BOLT - 7/16" x 1-1/2" N.F. hex. (14-724) nut (25-117)

2шт.

NUT - 5/8" N.F. hex. (25-1110)

4шт.

WASHER - 5/8" plain (195-41)

2шт.

4

F10276

TOP - upper feeder spout

1шт.

SCREW - 1/4" x 3/4" N.C. mach. (73-412) nut (25-104)

6шт.

WASHER - 1/4" plain (95-4) L.W. (92-4)

6шт.

5

F86525

CLIP

- door

2шт.

SCREW - #10-24 rhd. mach. (173-97) nut (129-7)

2шт.

6

F8271

CHANNEL - for ref. 4

1шт.

7

F7805

ROD - hinge, feeder spout door

1шт.

8

F10807

CHANNEL - for ref. 1

1шт.

9

F11287

PLATE - stiffener, for pivot hub

1шт.

BOLT - 3/8" x 7/8" N.F. hex. (14-614) nut (25-116)

8шт.

10

F86524

HUB - R.H. pivot

1шт.

11

F10160

BRACE - cross, feeder spout

2шт.

BOLT - 1/2" x 1-3/4" N.F. hex. (14-828) nut (25-118)

2шт.

NUT - 5/8" N.F. hex. (25-1110)

4шт.

12

F8258

FLOOR - upper, feeder spout

1шт.

BOLT - 1/4" x 1/2" rhd. sq. nk. (11-48) nut (25-104)

12шт.

13

F10161

BRACKET - for ref. 11

2шт.

BOLT - 3/8" x 1" N.F. hex. (14-616) nut (25-116)

4шт.

14

F86522

HUB - L.H. pivot

1шт.

15

F86526

SIDE SHEET - L.H., feeder spout

1шт.

16

F8262

CHANNEL - upper, feeder spout floor

2шт.

BOLT - 1/4" x 5/8" rhd. sq. nk. (11-410) nut (25-104)

6шт.

17

F77057

SCREW

CHANNEL - side rail, L.H.

1шт.

RIVET - 5/16" x 3/4" rhd. (45-512)

2шт.

RIVET - 5/16" x 3/4" W.B. hd. (49-512)

2шт.

18

136-159

HAIR PIN COTTER,Int, 3/16 x .080"

PIN, SPLIT (COTTER), , For Ref. 22 Int, 3/16 x .080"

4шт.

19

F77058

SUPPORT - header lift (Before #8334601) Replaced by F88424 when stock is exhausted

1шт.

F88424

SUPPORT - header lift (#8334601 and after)

1шт.

BOLT - 3/8" x 1-1/4" rhd. sq. nk. (11-620) nut (25-106)

6шт.

20

F8269

CHANNEL - lower, feeder spout floor

1шт.

21

F77102

STAND - header support

1шт.

BOLT - 1/2" x 1-3/4" N.F. hex. (14-828)

2шт.

BOLT - 5/16" x 2-1/2" N.F. hex. (14-540)

2шт.

NUT - (25-118) nut (25-115)

4шт.

22

F8397

TIE ROD - header support stand

2шт.

23

F8317

GUSSET - lower side sheet, L.H.

1шт.

RIVET - 5/16" x 1/2" rhd. (45-58)

1шт.

RIVET - 5/16" x 5/8" rhd. (45-510)

2шт.

RIVET - 5/16" x 3/4" rhd. (45-512)

1шт.

24

F79100

ANGLE - L.H. lower, feeder spout

1шт.

BOLT - 1/4" x 1/2" rhd. sq. nk. (11-48) nut (25-104)

4шт.

BOLT - 1/4" x 3/4" rhd. sq. nk. (11-412) nut (25-104)

4шт.

25

F8268

FLOOR - lower, feeder spout

1шт.

BOLT - 1/4" x 1/2" rhd. sq. nk. (11-48) nut (25-104)

7шт.

26

F79102

ANGLE - R.H. lower, feeder spout

1шт.

BOLT - 1/4" x 1/2" rhd. sq. nk. (11-48) nut (25-104)

4шт.

BOLT - 1/4" x 3/4" rhd. sq. nk. (11-412) nut (25-104)

4шт.

27

F12238

GUSSET - lower side sheet, R.H.

1шт.

RIVET - 5/16" x 1/2" rhd. (45-58)

1шт.

RIVET - 5/16" x 5/8" rhd. (45-510)

4шт.

28

F86269

CHANNEL - side rail, R.H.

1шт.

RIVET - 5/16" x 3/4" rhd. (45-512)

1шт.

RIVET - 5/16" x 7/8" rhd. (45-514)

1шт.

29

F86527

SIDE SHEET - R.H., feeder spout

1шт.

Выбрано товаров: 63