Запчасти Case IH 1060 (106) - FLAX ATTACHMENT, ROLLER HOUSING (60) - PRODUCT FEEDING

Схема запчастей Case IH 1060 - (106) - FLAX ATTACHMENT, ROLLER HOUSING (60) - PRODUCT FEEDING
14
17
6
2
11
3
16
12
18
13
10
8
4
9
15
5
7
1
FIT
1:1
100%

Артикул

Название

Примечание

Количество

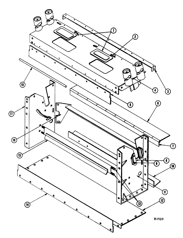
1

F8077

DOOR - access, top deck

2шт.

2

F7738

CLIP - access door

4шт.

RIVET - 3/16" x 3/8" split (151-196)

4шт.

3

F77123

ANGLE - rear, frame top cross

1шт.

4

F86412

TOP DECK ASSEMBLY

1шт.

BOLT - 1/4" x 5/8" N.C. hex. (13-410) L.W. (92-4)

9шт.

BOLT - 3/8" x 3/4" N.C. hex. (13-612) L.W. (92-6)

2шт.

BOLT - 3/8" x 3/4" N.F. hex. (14-612) nut (25-116)

6шт.

5

F8459

SEAL - feed plate, front (Bolts to F8433 floor)

1шт.

6

F8439

FEED PLATE - hinged

1шт.

7

F8438

HINGE STRIP - feed plate

1шт.

BOLT - 1/4" x 3/4" rhd. sq. nk. (11-412) nut (25-104)

9шт.

8

F10388

BRACKET - guide, inner

4шт.

RIVET - 5/16" x 11/16" ctsk. hd. (46-511)

8шт.

9

F10387

BRACKET - guide, outer

4шт.

10

F12290

DOOR - access

1шт.

11

F86331

FRAME - roller housing, L.H.

1шт.

BOLT - 1/2" x 1-1/4" N.F. hex. (114-400) nut (129-125)

3шт.

BOLT - 5/8" x 1-1/4" N.F. hex. (114-608) Jam nut (129-167)

1шт.

12

F8433

FLOOR - roller housing

1шт.

BOLT - 3/8" x 3/4" N.F. hex. (14-612) nut (25-116)

8шт.

13

F8432

ROD - for fixed feed plate

2шт.

NUT - 3/8" N.F. hex. (25-116) L.W. (92-6)

4шт.

14

F8460

SEAL - feed plate, front (Bolts under feeder spout)

1шт.

SCREW - 1/4" x 3/4" N.C. mach. (173-202) nut (129-101)

9шт.

15

F77652

FEED PLATE - fixed (Front)

1шт.

16

F79010

STRIPPER

1шт.

BOLT - 3/8" x 3/4" rhd. sq. nk. (11-612) nut (25-106)

2шт.

BOLT - 3/8" x 1" N.C. grade 5 plow (118-112) nut (25-106)

2шт.

WASHER - 3/8" plain (95-6) L.W. (92-6)

2шт.

17

F86328

FRAME - roller housing, R.H.

1шт.

BOLT - 1/2" x 1-1/4" N.F. hex. (114-400) nut (129-125)

2шт.

BOLT - 5/8" x 1-1/4" N.F. hex. (114-608) nut (129-167)

1шт.

18

F8440

ROD - hinged feed plate

1шт.

F77134

SPROCKET - (28T) upper roller drive (R.H. end of upper feed rake shaft), special parts for flax attachment

1шт.

KEY - "C" Woodruff (126-29)), special parts for flax attachment

1шт.

F86336

LINK - torque tube, R.H. (Use in place of F86018)), special parts for flax attachment

1шт.

F86337

LINK - torque tube, L.H. (Use in place of F81990)), special parts for flax attachment

1шт.

O1202TS

SPACER - for F77134 sprocket), special parts for flax attachment

2шт.

Выбрано товаров: 39