Запчасти Case IH 1060 (204) - SIDES AND DECK (90) - PLATFORM, CAB, BODYWORK AND DECALS

Схема запчастей Case IH 1060 - (204) - SIDES AND DECK (90) - PLATFORM, CAB, BODYWORK AND DECALS
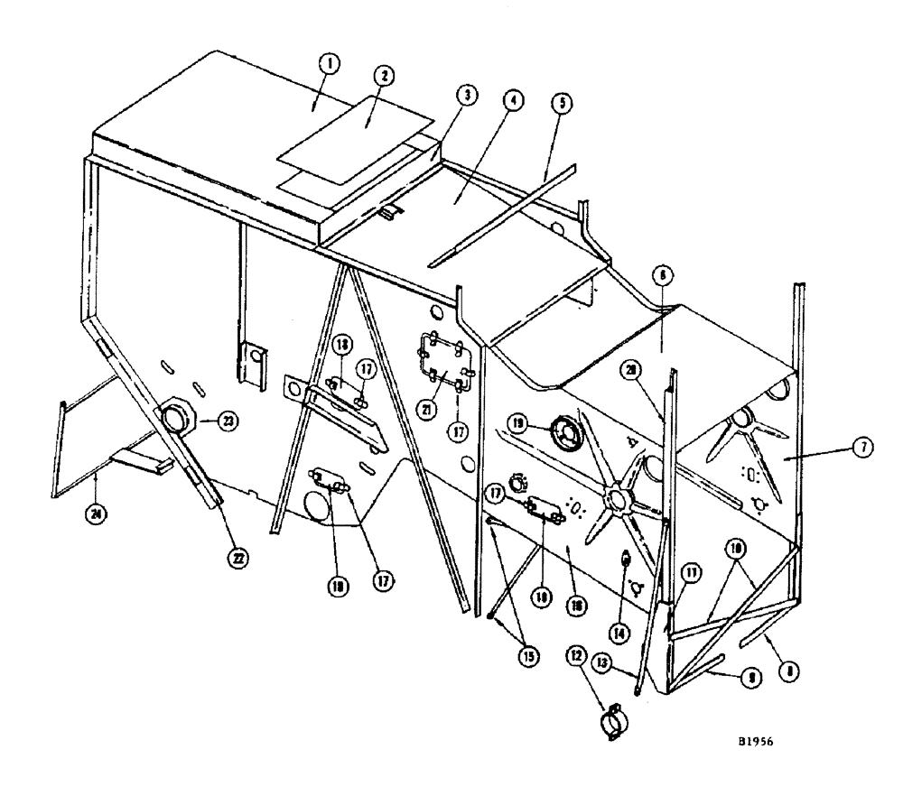
5
15
17
2
17
14
24
23
8
7
17
8
16
18
18
17
20
10
12
1
19
11
3
13
22
18
9
21
4
FIT
1:1
100%

Артикул

Название

Примечание

Количество

1

F87558

DECK - rear (Replaces F87001)

1шт.

2

F86814

DOOR - rear deck

1шт.

F12794

STRIP - anti-skid

3шт.

3

F87000

REINFORCEMENT - rear deck

1шт.

4

F86554

DECK - center, top (Replaced by F88195 when stock is exh.)

1шт.

F88195

DECK - center, top (Replaces F86554)

1шт.

5

F11884

DECK - false top

1шт.

BOLT - 1/4" x 1/2" N.F. hex. (114-2) nut (129-121)

5шт.

BOLT - 1/4" x 5/8" N.F. hex. (114-3) nut (129-121)

2шт.

6

F79357

DECK - front, top

1шт.

7

F87314

SHEET - side, L.H. (Replaces F86707)

1шт.

F86525

CLIP

- access door (See ref. 17)

12шт.

8

F9539

BRACE - lower body L.H.

1шт.

9

F9538

BRACE - lower body R.H.

1шт.

10

F9537

BRACE - body support, front

2шт.

11

F11834

REINFORCEMENT - cylinder post, R.H. (Replaced by F14950 when stocks are exhausted)

1шт.

F14950

REINFORCEMENT - cylinder post, R.H. (Replaces F11834)

1шт.

F14949

REINFORCEMENT - cylinder post, L.H. (Replaces F11833)

1шт.

F11833

REINFORCEMENT - cylinder post, L.H. (Replaced by F14949 when stocks are exhausted)

1шт.

12

F9826

CLAMP - axle, for F86172 brace

2шт.

BOLT - 1/2" x 1-3/4" N.F. hex. (14-828)

1шт.

NUT - 1/2" N.F. hex. (25-118)

2шт.

13

F86172

BRACE - for R.H. front cylinder post

1шт.

BOLT - 1/2" x 1-3/4" N.F. hex. (14-828)

1шт.

NUT - 1/2" N.F. hex. (25-118)

2шт.

14

F12598

PLATE

COVER - concave alignment hole

4шт.

BOLT - 5/16" x 3/4" rhd. sq. nk. (11-512) nut (25-105)

4шт.

WASHER - 5/16" plain (195-21)

4шт.

15

F7775

BRACE - cross, from R.H. to L.H. rear cylinder posts (Beneath body)

2шт.

BOLT - 3/8" x 1-1/2" N.F. hex. (14-624) nut (25-116)

4шт.

16

F86711

SHEET - side, R.H.

1шт.

17

F86525

CLIP

- access door

12шт.

RIVET - 3/16" x 1/4" steel semi-tube (151-123)

10шт.

RIVET - 3/16" x 5/16" #2160 steel semi-tube (151-122)

2шт.

18

F8077

DOOR - access

7шт.

F14114

STIFFENER - strip, second body diagonal to main frame

2шт.

19

F11019

PLATE - beater, bearing mounting

2шт.

20

F11009

REINFORCEMENT - for R.H. cylinder post

1шт.

F11010

REINFORCEMENT - for L.H. cylinder post

1шт.

21

F9213

DOOR - side

2шт.

22

F7773

STIFFENER - rear body angle (See F14762)

2шт.

F14762

PLATE - stiffener, rear body (Chrysler L.P.)

2шт.

F14763

SPACER - stiffener plate (Chrysler L.P.)

2шт.

BOLT - 3/8" x 1-1/4" N.F. hex. (14-620) nut (25-116)

4шт.

23

F7832

FLANGE - tailings auger

1шт.

F12622

SHIELD - side sheet stiffener (Not shown)

2шт.

24

F86596

SHIELD - rear wheels

1шт.

BOLT - 1/4" x 7/8" N.F. hex. (114-7) ESNA nut (131-1)

2шт.

F7723

STRAP - tension, across rear body (Not shown)

2шт.

BOLT - 3/8" x 1-1/4" N.F. hex. (14-620) nut (25-116)

4шт.

Выбрано товаров: 0