Запчасти Case IH 1060 (318[1]) - F83641 PRE-SCREENER (10) - ENGINE

Схема запчастей Case IH 1060 - (318[1]) - F83641 PRE-SCREENER (10) - ENGINE
8
1
7
5
2
4
6
9
3
FIT
1:1
100%

Артикул

Название

Примечание

Количество

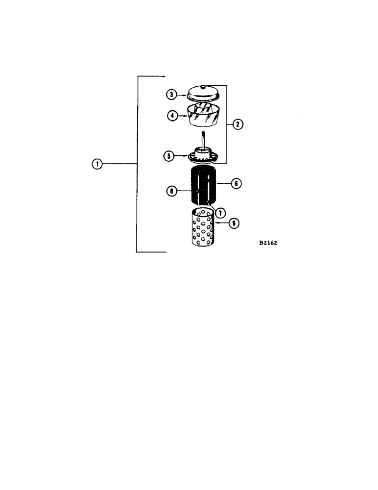
1

F83641

CLEANER

PRE-SCREENER

1шт.

2

A64589

PRECLEANER

COLLECTOR

1шт.

3

73187

COVER

1шт.

4

73186

HOUSING

BODY

1шт.

5

73185

SLEEVE

1шт.

6

F83644

SCREEN

1шт.

7

A22780

SPRING

2шт.

8

A22781

CLIP

1шт.

9

F83643

BODY

1шт.

Выбрано товаров: 0