Запчасти Case IH 1060 (318[2]) - F87566 PRE-SCREENER (10) - ENGINE

Схема запчастей Case IH 1060 - (318[2]) - F87566 PRE-SCREENER (10) - ENGINE
2
3
9
5
6
1
4
7
8
FIT
1:1
100%

Артикул

Название

Примечание

Количество

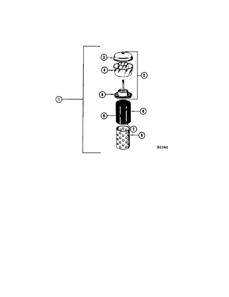
1

F87566

PRE-SCREENER

1шт.

2

F87657

AIR PRE-CLEANER ASSY

COLLECTOR

1шт.

3

73187

COVER

1шт.

4

NLS

NO LONGER SERVICED

BODY

1шт.

5

F87659

SLEEVE

1шт.

6

F83644

SCREEN

1шт.

7

A22780

SPRING

2шт.

8

A22781

CLIP

1шт.

9

F87658

BODY

1шт.

Выбрано товаров: 9