Запчасти Case IH 1060 (342) - DIESEL FUEL SYSTEM, A301 D-F ENGINE (10) - ENGINE

Схема запчастей Case IH 1060 - (342) - DIESEL FUEL SYSTEM, A301 D-F ENGINE (10) - ENGINE
3
10
4
31
24
19
16
27
10
34
33
7
20
32
15
22
11
5
29
30
14
17
26
25
35
21
1
28
23
13
8
2
9
12
18
6
FIT
1:1
100%

Артикул

Название

Примечание

Количество

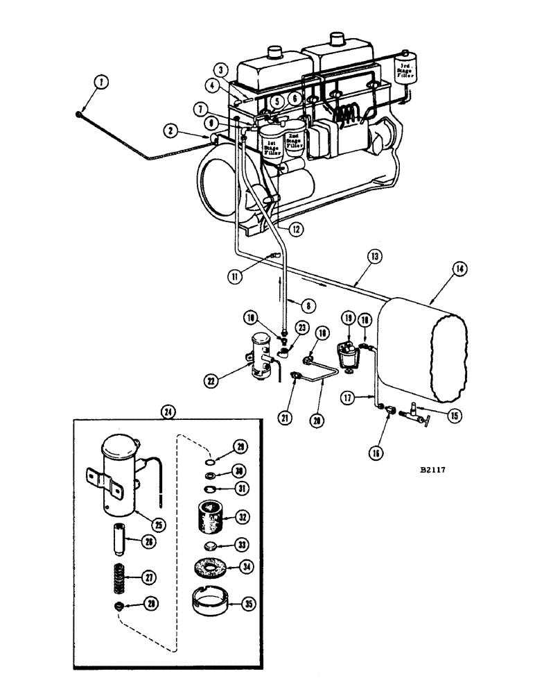
1

A30858

SWITCH

STARTING SWITCH - push button, for diesel manifold heat (Includes O10463AB boot)

1шт.

2

F10127

SOLENOID - heater

1шт.

*

SCREW - #10 x 1/2" N.C. rhd. mach. (173-97) nut (129-7)

2шт.

3

F12461

LINE - fuel return

1шт.

4

222-55

ELBOW - 1/4" O.D. x 1/8" NPT (Imp. #70FL)

1шт.

5

A24661

TUBE - relief valve

1шт.

6

222-43

ELBOW,90 Degree, 1/2"-24 Fem x 1/4"-27 NPTF

- 1/4" x 1/4" NPT (Imp. #69FL)

1шт.

7

222-83

TEE - 1/4" x 1/4" NPT (Imp. #76FL)

1шт.

8

F11171

LINE - fuel, flexible, Serial Range: (Pump-filter)

1шт.

9

217-21

ELBOW,90 Degree, 1/4"-18 NPTF, Fem x 1/4"-18 NPTF Male

- 1/4" x 1/4" NPT (Imp. #116B)

2шт.

10

218-901

HYD CONNECTOR,1/4" NPT x 1/4" ORFS

ADAPTOR - 1/4" x 1/4" swivel - anchor 4M 4UFS

1шт.

11

F11197

CLIP - fuel line

1шт.

*

BOLT - 5/16" x 3/4" N.F. hex. (14-512) nut (25-115)

1шт.

*

F11198

COVER - canvas, fuel line (Not shown)

1шт.

12

F10141

CABLE - starter solenoid to heater solenoid

1шт.

*

F10142

CABLE

- starter solenoid to heater manifold (See electrical system)

1шт.

*

F11082

CUSHION - felt, fuel tank (Not shown - see gas)

2шт.

*

F11084

STEP - fuel tank (Not shown - see gas fuel tank)

1шт.

*

BOLT - 5/16" x 1/2" N.F. hex. (114-108) nut (129-122)

2шт.

*

BOLT - 5/16" x 3/4" N.F. hex. (114-102) nut (129-122)

2шт.

13

F11172

LINE - fuel, flexible, Serial Range: (Return-tank)

1шт.

14

F79391

TANK - fuel

1шт.

*

F6541

CAP

- fuel tank (Not shown - see gas)

1шт.

15

A7313

VALVE

- needle

1шт.

16

222-14

FITTING,5/8"-24 Inv Fl x 1/4" NPT Fem

CONNECTOR - 3/8" x 1/4" NPT (Imp. #66FL)

1шт.

17

F12459

LINE - fuel, tank, Serial Range: valve-strainer

1шт.

18

222-47

ELBOW,90 Degree, 5/8"-24 Fem x 1/4"-27 NPTF

- 3/8" x 1/4" NPT (Imp. #69FL)

2шт.

19

R18798

STRAINER ELEMENT

STRAINER - fuel, complete

1шт.

*

BOLT - 1/4" x 3/4" N.F. hex. (14-412) nut (25-114)

2шт.

20

F14229

LINE - fuel, Serial Range: strainer-pump

1шт.

21

222-26

HYD CONNECTOR,5/8"-24 x 1/8" NPTF W/Nut

CONNECTOR - 3/8" x 1/8" NPT (Imp. #68FL)

1шт.

22

L11122

FUEL PUMP

PUMP - fuel, electric (See ref. 24)

1шт.

*

BOLT - 1/4" x 5/8" N.C. hex. (13-410) nut (25-104)

2шт.

23

217-220

ELBOW UNION

ELBOW - 1/4" x 1/8" NPT reducing (Imp. #128B)

1шт.

*

F8190

WASHER - fuel tank strap (Not shown - see gas)

2шт.

*

F79282

SUPPORT - fuel tank (Not shown - see gas)

2шт.

*

BOLT - 3/8" x 3/4" N.F. hex. (14-612) nut (25-116)

4шт.

*

BOLT - 3/8" x 1-3/4" N.F. hex. (14-628) nut (25-116)

2шт.

24

L11122

FUEL PUMP

ASSEMBLY - electric, L11122

1шт.

25

NSS

NOT SOLD SEPARAT

BODY - fuel pump (Order L11122), L11122

1шт.

26

NSS

NOT SOLD SEPARAT

PLUNGER - pump, L11122 fuel

1шт.

27

NSS

NOT SOLD SEPARAT

SPRING - plunger, L11122 fuel pump

1шт.

28

NSS

NOT SOLD SEPARAT

VALVE - cup, L11122 fuel pump

1шт.

29

NSS

NOT SOLD SEPARAT

"O" RING - valve, L11122 fuel pump

1шт.

30

NSS

NOT SOLD SEPARAT

WASHER - "O" ring retainer, L11122 fuel pump

1шт.

31

NSS

NOT SOLD SEPARAT

KEEPER - "O" ring retainer, L11122 fuel pump

1шт.

32

A40314

FILTER CARTRIDGE

FILTER- fuel, L11122 pump

1шт.

33

A40311

MAGNET

- plunger (Permanent type), L11122 fuel pump

1шт.

34

A40315

GASKET

- cover, L11122 fuel pump

1шт.

35

A40312

COVER

- fuel pump, L11122

1шт.

*

R21356

HOUSING

BODY - strainer, R18798 fuel strainer

1шт.

*

R21357

GASKET

R18798 fuel strainer

1шт.

*

R21358

CLAMP

BAIL ASSEMBLY, R18798 fuel strainer

1шт.

*

R21359

FILTER SCREEN

SCREEN, R18798 fuel strainer

1шт.

*

R21360

TUBE,0.687" DIA x 3.344" L

R18798 fuel strainer

1шт.

*

R21361

BOWL

R18798 fuel strainer

1шт.

Выбрано товаров: 56