Запчасти Case IH 1060 (404) - VALVES AND VALVE MECHANISM, (284) SPARK IGNITION ENGINE (10) - ENGINE

Схема запчастей Case IH 1060 - (404) - VALVES AND VALVE MECHANISM, (284) SPARK IGNITION ENGINE (10) - ENGINE
2
31
26
19
30
3
7
32
8
25
12
31
10
9
15
37
1
38
34
43
36
32
16
25
33
17
18
11
35
41
27
42
6
39
29
28
4
33
14
20
32
33
40
FIT
1:1
100%

Артикул

Название

Примечание

Количество

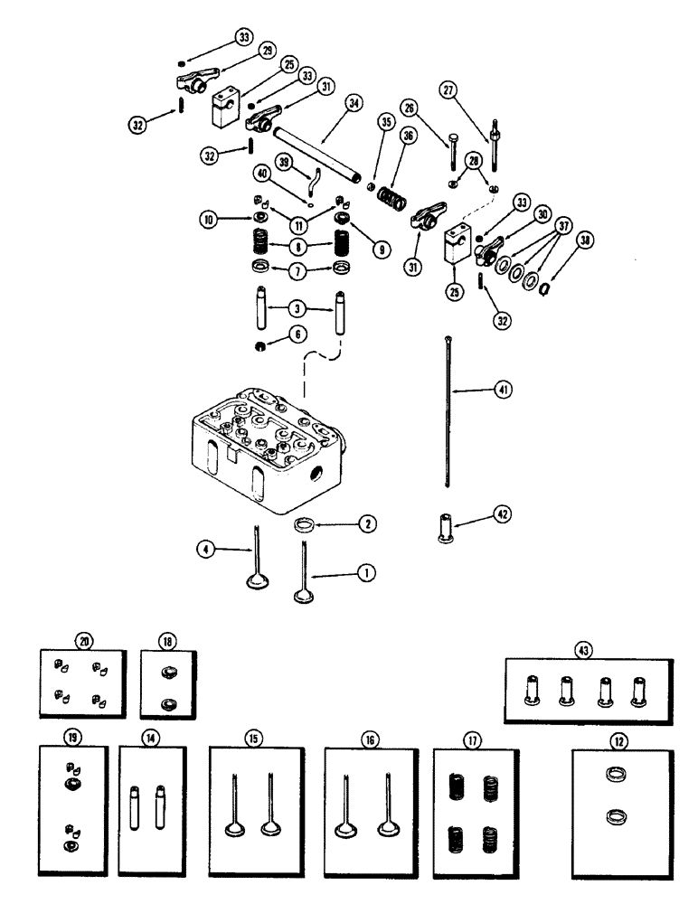
1

NSS

NOT SOLD SEPARAT

VALVE - exhaust (Order ref. 15)

4шт.

2

NSS

NOT SOLD SEPARAT

INSERT - exhaust valve seat (Order ref. 12)

4шт.

3

NSS

NOT SOLD SEPARAT

GUIDE - int. & exh. valve (Order ref. 14)

8шт.

4

NSS

NOT SOLD SEPARAT

VALVE - intake (Order ref. 16)

4шт.

6

A10726

SEAL

SHIELD - int. valve stem (Rubber)

4шт.

7

A27866

SEAT

- int. & exh. valve spring

8шт.

8

NSS

NOT SOLD SEPARAT

SPRING - int. & exh. valve (Order ref. 17)

8шт.

9

NSS

NOT SOLD SEPARAT

ROTO-CAP - exhaust valve (Order ref. 18)

4шт.

10

NSS

NOT SOLD SEPARAT

RETAINER - int. valve spring (Order ref. 19)

4шт.

11

NSS

NOT SOLD SEPARAT

KEEPER - valve spring (Order ref. 20)

16шт.

12

A33454

INSERT

KIT - exh. valve seat (Set of 2)

2шт.

14

A21673

GUIDE

KIT - int. & exh. valve (Set of 2)

4шт.

15

A33458

VALVE, ENG EXHAUST,

VALVE KIT - exhaust (Set of 2)

2шт.

16

A33457

VALVE

KIT - intake (Set of 2)

2шт.

17

A21694

SPRING

KIT - int. & exh. valve (Set of 4)

2шт.

18

A24993

CAP

ROTO-CAP KIT - exh. valve (Set of 2)

2шт.

19

A21657

LOCK

RETAINER KIT - int. valve (Set of 2 ret. & keepers)

2шт.

20

A40352

LOCK

KEEPER KIT - valve spring (Set of 8)

2шт.

25

A27881

BRACKET

- shaft, rocker arm

4шт.

26

13-760

BOLT,Hex, 7/16" - 14 x 3-3/4", Gr 5

Bracket Hex, 7/16"-14 x 3 3/4", G5

4шт.

27

A57458

STUD

- brkt. & cyl. hd. cover (3-3/4" N.C. end to nut) (Does not require lock washer)

4шт.

27

A28124

STUD - cyl. hd. cover & brkt. (3-13/16" N.C. end to nut) (Used w/item 28)

4шт.

28

92-7

LOCK WASHER,7/16"

(4 also used w/A28124 stud) 7/16"

4шт.

29

A22326

ROCKER

ARM ASSY. - rocker, exh. (#2 & 4 cyl.) (Incl. ref. 32 & 33)

2шт.

30

A22324

ROCKER

ARM ASSY. - rocker, exh. (#1 & 3 cyl.) (Incl. ref. 32 & 33)

2шт.

31

A22322

ROCKER

ARM ASSY. - rocker, intake valve (Incl. ref. 32 & 33)

4шт.

32

A21105

ADJUSTMENT SCREW,3/8" - 24 x 1 9/16"

SCREW - adj., rocker arm

1шт.

33

25-156

JAM NUT,Jam, 3/8"-24, G5

- (3/8" N.C. jam)

1шт.

34

A21100

SHAFT

ASSY. - rocker arm

2шт.

35

A26667

PLUG - end, rocker shaft

2шт.

36

A27877

SPRING

- rocker shaft

2шт.

37

A27878

WASHER

- rocker shaft ends (29/32 x 1-5/16 x .028")

12шт.

38

B18206

SNAP RING,#87, Ext

Ring, Snap, , rocker shaft #87, Ext

4шт.

39

A27879

TUBE

- oil, rocker shaft

2шт.

40

A27880

O-RING,0.07" Thk x 0.18" ID, -8, Cl 5, 75 Duro

"O"RING - oil tube (3/16 x 5/16 x 1/16")

2шт.

41

A21060

ROD

- push, rocker arm

8шт.

42

NSS

NOT SOLD SEPARAT

LIFTER - push rod (Order ref. 43)

8шт.

43

A21653

KIT

LIFTER KIT - push rod (Set of 4)

2шт.

Выбрано товаров: 38