Запчасти Case IH 403 (257) - OPERATORS CAB HEATER (50) - CAB CLIMATE CONTROL

Схема запчастей Case IH 403 - (257) - OPERATORS CAB HEATER (50) - CAB CLIMATE CONTROL
4
2
1
3
9
6
3
3
8
5
4
3
2
2
7
7
2
FIT
1:1
100%

Артикул

Название

Примечание

Количество

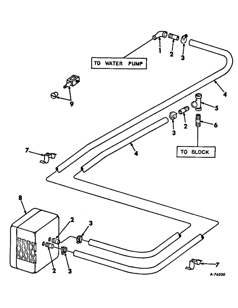
1

120702

ELBOW,45 Degree, 3/8" NPT Street

45 deg. street

1шт.

2

574631R1

FITTING

NIPPLE, heater hose

4шт.

3

274085R91

HOSE CLAMP,#10, 0.56/1.06 Type F Worm

CLAMP, heater hose

4шт.

4

634654R1

HOSE, heater

2шт.

5

120280

TEE,3/8" NPT, Fem

3/8 pipe

1шт.

6

144601

NIPPLE, 3/8 pipe

1шт.

7

574522R1

CLIP, heater hose

2шт.

1/4 X 3/4 MACH BOLT W/NUT

2шт.

1/4 LOCK WASHER

2шт.

136661H

WASHER

17/64 X 1 X 16 GA WASHER

2шт.

8

936197R91

HEATER ASSY, perfection, For components see list of parts under detail of heater, perfection

1шт.

1/4 X 1/2 MACH BOLT W/NUT

3шт.

1/4 LOCK WASHER

3шт.

9

937574R91

SWITCH

ASSY, heater, perfection

1шт.

Выбрано товаров: 14