Запчасти Case IH 403 (066) - FEED AND CYLINDER BEATER DRIVE AND STONE RETARDER, FOR USE WITH WINDROW SPECIAL (72) - SEPARATION

Схема запчастей Case IH 403 - (066) - FEED AND CYLINDER BEATER DRIVE AND STONE RETARDER, FOR USE WITH WINDROW SPECIAL (72) - SEPARATION
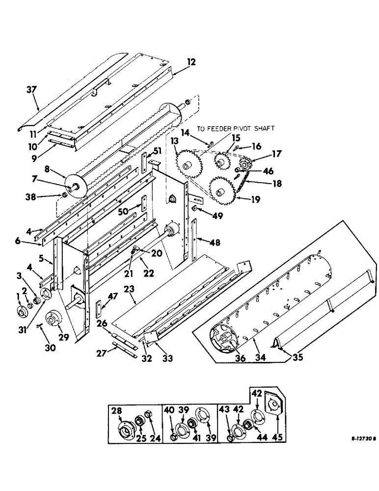
14
48
47
34
13
4
35
32
43
37
8
28
12
49
3
42
46
41
40
25
15
5
1
26
27
9
24
11
4
44
22
39
17
6
19
20
23
29
39
2
36
18
7
51
30
33
21
38
16
45
42
31
10
50
FIT
1:1
100%

Артикул

Название

Примечание

Количество

1

563401R1

FLANGED BEARING

FLANGE, bearing

2шт.

5/16 X 1 CRG BOLT W/NUT

6шт.

5/16 LOCK WASHER

6шт.

2

455102R11

COLLAR

W/SET SCREW ASSY, locking

2шт.

83-1254

SET SCREW,Hex Soc, 1/4"-20 x 1/4"

1/4 X 1/4 CUP-PT SET SCREW

2шт.

3

455965R91

BALL BEARING,1.0005" ID x 52 mm OD x 15 mm

ball

2шт.

4

568473R1

STIFFENER, feeder pivot support seal

2шт.

1/4 X 3/4 MACH BOLT W/NUT

1шт.

1/4 LOCK WASHER

1шт.

5

634154R92

SUPPORT W/BOX ASSY, feeder pivot

1шт.

3/8 X 1-1/4 MACH BOLT W/NUT

2шт.

1/2 X 1-1/2 MACH BOLT W/NUT

1шт.

1/2 X 1-3/4 MACH BOLT W/NUT

1шт.

935736R1

NUT, WING

5/16 WING NUT

1шт.

3/8 LOCK WASHER

2шт.

1/2 LOCK WASHER

1шт.

575807R1

WASHER

13/32 X 1 X 11 GA WASHER

2шт.

17/32 X 1 X 11 GA WASHER

1шт.

6

634204R1

SEAL

feeder pivot support

2шт.

7

634195R1

SHAFT, feeder beater

1шт.

1-1/32 X 1-3/4 X 16 GA WASHER

2шт.

936727R1

WASHER,26.16mm ID x 56.9mm OD x 6.35mm Thk

1-1/32 X 2-1/4 X 1/4 WASHER

1шт.

8

634196R91

BEATER W/BLADE ASSY, feed

1шт.

9

634570R1

STRIP, feeder extension cover seal

2шт.

1/4 X 3/4 MACH BOLT W/NUT

6шт.

1/4 LOCK WASHER

6шт.

10

634569R1

SEAL, feeder extension cover

2шт.

11

634178R91

COVER W/HANDLE, feeder extension

1шт.

12

634366R1

DEFLECTOR, feed beater

1шт.

13

634545R91

SPROCKET ASSY.

SPROCKET W/HUB, feeder jackshaft drive, 35-T

1шт.

14

Q1497

KEY,Gib, 3/8" Sq x 2"

3/8 x 2 gib

2шт.

15

634191R91

SPROCKET ASSY.

SPROCKET W/HUB, feed beater driven, 22-T, Serial no., Serial Range: 501-4643

1шт.

15

936327R91

SPROCKET W/HUB, feed beater driven, 22-T, Serial no. 4644 and above

1шт.

16

Q3932

KEY,Gib, 5/16" Sq x 2"

5/16 x 2 gib

1шт.

17

582389R91

DRIVE SPROCKET

SPROCKET ASSY, feed beater drive chain tightener, 15-T

1шт.

5/8 X 3-1/4 CRG BOLT W/NUT

1шт.

5/8 LOCK WASHER

1шт.

10620P

WASHER

21/32 X 1-1/2 X 16 GA WASHER

3шт.

21/32 X 1-1/4 X 12 GA SQ-HOLE WASHER

1шт.

575810R1

WASHER

21/32 X 1-1/2 X 11 GA WASHER

1шт.

CHAIN, feed beater drive roller, Ind. no. 60H 1/8 in. thick side bar, Use 69 links from 10-ft roll marked 1793D, one connecting link 1317D and 1 offset connecting link 1318D, Ind. no. 60 3/32 in. thick side bar, Use 69 links from 10-ft roll marked 611362R11, one connecting link 574532R91 and two offset links 612612R91

1шт.

19

634545R91

SPROCKET ASSY.

SPROCKET W/HUB, feed beater drive, 35-T, Serial no., Serial Range: 501-4643

1шт.

19

936325R91

SPROCKET ASSY.

SPROCKET W/HUB, feed beater drive, 35-T, Serial no. 4644 and above

1шт.

20

634187R1

CLIP, stone retarder door, 5 used

5шт.

21

7422T

SPRING

stone retarder door clip, 5 used

5шт.

5/16 X 2-1/4 CRG BOLT W/NUT

1шт.

5/16 LOCK WASHER

1шт.

22

569274R1

SHAFT

JACKSHAFT, feeder

1шт.

23

634184R91

DOOR W/HINGE, stone retarder

1шт.

24

455104R11

COLLAR

W/SET SCREW ASSY, locking, Serial no. 2840 and below

2шт.

102592

SET SCREW,Hex Skt, 3/8" - 16 x 3/8"

3/8 X 3/8 CUP-PT SET SCREW

2шт.

25

565672R91

BALL BEARING,1.25" ID x 72 mm OD x 1.53125"

ball, Serial no. 2840 and below

2шт.

26

634541R1

SEAL, stone retarder door

2шт.

1/4 X 3/4 MACH BOLT W/NUT

6шт.

1/4 LOCK WASHER

6шт.

27

634542R1

STRIP, stone retarder door seal

2шт.

28

631633R1

CAGE

BOX, feeder jackshaft bearing, Serial no. 2840 and below

2шт.

29

571442R1

HUB CAP

HUB, feeder driven sheave

1шт.

3/8 X 2-1/4 MACH BOLT W/NUT

4шт.

3/8 LOCK WASHER

4шт.

30

240

KEY,Gib, 3/8" Sq x 2 1/2"

3/8 x 2-1/2 gib

1шт.

31

571424R1

FLANGE

bearing

2шт.

32

568476R1

ROD

stone retarder door hinge

1шт.

33

634180R91

RETARDER W/HINGE, stone

1шт.

3/8 X 1 NO. 3 PLOW BOLT W/NUT

4шт.

3/8 LOCK WASHER

4шт.

34

634133R91

BEATER W/FINGER, cylinder, Serial no. 2195 and below

1шт.

35

634138R91

COVER W/CLAMP, cylinder beater finger, Serial no. 2195 and below

1шт.

5/16 X 3/4 MACH BOLT W/NUT

24шт.

115548

LOCK WASHER,Int Tooth, 5/16"

WASHER, LOCK, Int Tooth, 5/16"

24шт.

11/32 X 3/4 X 16 GA WASHER

24шт.

36

634141R1

HUB, cylinder beater, Serial no. 2195 and below

1шт.

3/8 X 1 MACH BOLT W/NUT

12шт.

115549

LOCK WASHER,Int Tooth, 3/8"

WASHER, LOCK, Int Tooth, 3/8"

12шт.

37

634151R1

EXTENSION, feed plate

1шт.

38

M73125

SPACER,1" Pipe x 3/8"

feed beater shaft

2шт.

39

617863R1

FLANGED BEARING

feed jackshaft bearing, Serial no. 2841 and above

4шт.

3/8 X 3/4 CRG BOLT W/NUT

6шт.

3/8 LOCK WASHER

6шт.

40

455104R11

COLLAR

W/SET SCREW ASSY, locking, Serial no. 2841 and above

2шт.

102592

SET SCREW,Hex Skt, 3/8" - 16 x 3/8"

3/8 X 3/8 CUP-PT SET SCREW

2шт.

41

455103R91

BEARING

ball, Serial no. 2841 and above

2шт.

42

617863R1

FLANGED BEARING

feeder jackshaft bearing, field improvement package

4шт.

3/8 X 1 CRG BOLT W/NUT

6шт.

3/8 LOCK WASHER

6шт.

43

455104R11

COLLAR

W/SET SCREW ASSY, locking, field improvement package

2шт.

102592

SET SCREW,Hex Skt, 3/8" - 16 x 3/8"

3/8 X 3/8 CUP-PT SET SCREW

2шт.

44

455103R91

BEARING

ball, field improvement package

2шт.

45

935607R91

BRACKET W/CHANNEL ASSY, feeder jackshaft bearing support LH

1шт.

45

935608R91

BRACKET W/CHANNEL ASSY, feeder jackshaft bearing support RH, field improvement package

1шт.

3/8 X 1 CRG BOLT W/NUT

5шт.

3/8 LOCK WASHER

5шт.

46

575098R1

SPACER,16.7mm ID x 22.23mm OD x 15.9mm L

feed beater drive chain tightener sprocket, Serial no. 4644 and above

1шт.

47

156173C1

BAR, feeder pivot support angle rear left

1шт.

48

156175C1

BAR, feeder pivot support angle rear right

1шт.

49

156174C1

BLOCK, feeder pivot rear support angle stiffener right

1шт.

362441R1

SCREW,Hex, 7/16"-14 x 1 1/2", G8

7/16 x 1-1/2 cap

1шт.

271500

SOCKET

7/16 hex.

1шт.

103322

LOCK WASHER,7/16"

WASHER, LOCK, 7/16"

1шт.

50

156172C1

BAR, feeder pivot bracket lower right

1шт.

51

156171C1

BAR, feeder pivot bracket upper right

1шт.

Выбрано товаров: 101