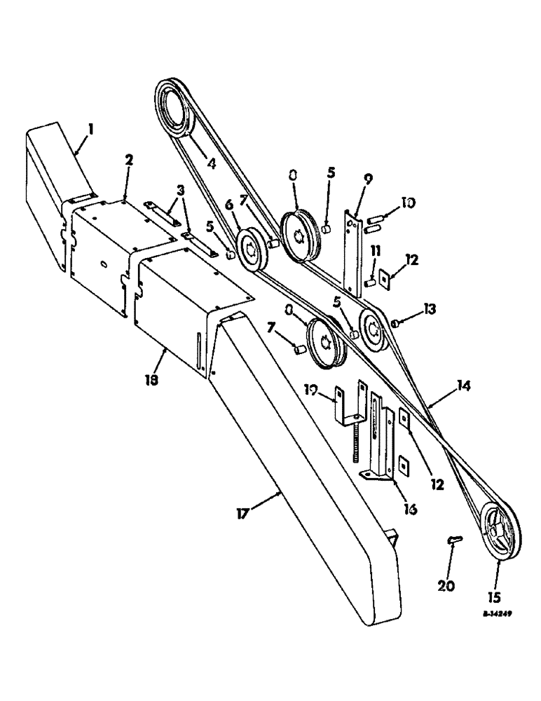
Запчасти Case IH 403 (324) - STRAW CHOPPER, DRIVE, SERIAL NO. 7223 AND BELOW (73) - RESIDUE HANDLING

Схема запчастей Case IH 403 - (324) - STRAW CHOPPER, DRIVE, SERIAL NO. 7223 AND BELOW (73) - RESIDUE HANDLING
8
3
12
14
4
18
13
19
9
7
7
1
5
5
6
2
10
11
15
16
12
17
5
8
20
FIT
1:1
100%

Артикул

Название

Примечание

Количество

1

936142R91

SHIELD ASSY, drive belt front

1шт.

9635884

BOLT,Hex, 5/16" - 18 1", Full Thd, Gr 5

5/16 X 1 C-Z CAP

6шт.

80681

LOCK WASHER,5/16"

WASHER, LOCK, 5/16"

6шт.

2

936157R1

SHIELD, belt center

1шт.

18508R1

CARRIAGE BOLT,Short Nk, 3/8" - 16 x 3/4", Gr 2, Full Thd

3/8 X 004 C-Z CRG BOLT W/NUT

2шт.

120382

LOCK WASHER,Helical Spring, 3/8"

WASHER, LOCK, 3/8"

2шт.

3

936155R1

BRACE, drive belt center shield

2шт.

18494R1

BOLT,Hex, 3/8" - 16 x 1", Gr 2

3/8 X 1 C-Z MACH BOLT W/NUT

3шт.

120382

LOCK WASHER,Helical Spring, 3/8"

WASHER, LOCK, 3/8"

3шт.

Q1505

WASHER

13/32 X 1 X 16 GA WASHER

1шт.

575807R1

WASHER

13/32 X 1 X 11 GA WASHER

1шт.

4

936161R1

PULLEY, drive

1шт.

9635884

BOLT,Hex, 5/16" - 18 1", Full Thd, Gr 5

5/16 X 1 C-Z CAP

6шт.

80681

LOCK WASHER,5/16"

WASHER, LOCK, 5/16"

6шт.

5

576015R1

SPACER,7/8" Tube x 11/16"

pulley

3шт.

6

574097R91

PULLEY

idler

2шт.

7

554327R1

SPACER,7/8" Tube x 1"

pulley

2шт.

8

663887R91

PULLEY,203.2mm Idler Dia x 214.63mm OD x 48.42mm W

tightener

2шт.

9

936154R1

CHANNEL, idler pulley

1шт.

20628R1

BOLT,Hex, 3/8"-16 x 3 1/4", G2

3/8 X 3-1/4 C-Z CRG BOLT W/NUT

3шт.

18727R1

BOLT,Short NK, 5/8"-11 x 5 1/2", G2

5/8 X 5-1/2 C-Z CRG BOLT W/NUT

1шт.

120382

LOCK WASHER,Helical Spring, 3/8"

WASHER, LOCK, 3/8"

3шт.

492-11062

BEARING WASHER,5/8"

WASHER, LOCK, 5/8"

1шт.

551177R1

WASHER

21/32 X 1-1/4 X 16 GA WASHER

2шт.

10

936153R1

SPACER

idler pulley bracket

2шт.

11

564025R1

SPACER, bracket

1шт.

12

936152R1

WASHER

idler mounting bracket stiffener

4шт.

13

583496R1

SPACER

pulley

1шт.

14

936156R1

V-BELT,0.88" W

Drive 0.88" W

1шт.

15

936163R1

PULLEY, driven, Order pulley package 151310C91, Consists of

1шт.

151065C1

HUB

1шт.

151066C1

PULLEY

1шт.

114-219

BOLT,Hex, 3/8" - 24 x 2-1/2", Gr 5

SCREWS

3шт.

120377

NUT,3/8" - 16, Gr 5

3шт.

120382

LOCK WASHER,Helical Spring, 3/8"

WASHER, LOCK, 3/8"

3шт.

16

936147R91

BRACKET ASSY, tightener

1шт.

18479R1

CARRIAGE BOLT,Sq Nk, 3/8" - 16 x 2", Gr 2

3/8 X 2 C-Z CRG BOLT W/NUT

2шт.

18727R1

BOLT,Short NK, 5/8"-11 x 5 1/2", G2

5/8 X 5-1/2 C-Z CRG BOLT W/NUT

1шт.

120382

LOCK WASHER,Helical Spring, 3/8"

WASHER, LOCK, 3/8"

2шт.

492-11062

BEARING WASHER,5/8"

WASHER, LOCK, 5/8"

1шт.

551177R1

WASHER

21/32 X 1-1/4 X 16 GA WASHER

2шт.

17

936497R91

SHIELD ASSY, rotor driven pulley

1шт.

18

936156R1

V-BELT,0.88" W

Drive, Shield, Rear 0.88" W

1шт.

18673R1

CARRIAGE BOLT,Short Sq Nk, 5/16" - 18 x 1/2", Gr 2

5/16 X 1/2 C-Z CRG BOLT W/NUT

5шт.

18508R1

CARRIAGE BOLT,Short Nk, 3/8" - 16 x 3/4", Gr 2, Full Thd

3/8 X 3/4 C-Z CRG BOLT W/NUT

3шт.

80681

LOCK WASHER,5/16"

WASHER, LOCK, 5/16"

5шт.

120382

LOCK WASHER,Helical Spring, 3/8"

WASHER, LOCK, 3/8"

3шт.

19

936150R91

BRACKET ASSY, tightener pulley

1шт.

124589

BALL STUD,Hex, 5/8" - 11 x 2", Gr 5

5/8 C-Z NUT

2шт.

20

Q3952

KEY,Gib, 3/8" Sq x 2 3/4"

gib

1шт.

Выбрано товаров: 50