Запчасти Case IH 403 (128) - PROPULSION CONTROLS, NOT HYDROSTATIC GROUND DRIVE (90) - PLATFORM, CAB, BODYWORK AND DECALS

Схема запчастей Case IH 403 - (128) - PROPULSION CONTROLS, NOT HYDROSTATIC GROUND DRIVE (90) - PLATFORM, CAB, BODYWORK AND DECALS
3
21
8
23
6
7
11
15
14
10
13
18
2
22
24
9
3
1
16
15
19
28
5
30
17
12
25
4
29
27
26
13
20
16
FIT
1:1
100%

Артикул

Название

Примечание

Количество

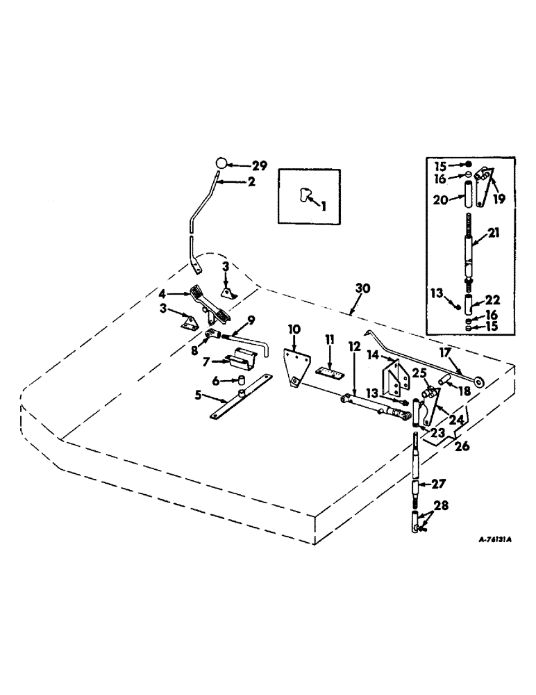
1

629626R1

KNOB, propulsion drive lever, Serial no. 2195 and below

1шт.

1

634769R1

KNOB, propulsion drive lever, Serial no., Serial Range: 2196-7223

1шт.

2

632024R1

LEVER, propulsion control, Hand operated, Serial no. 7223 and below

1шт.

2

939245R1

LEVER, propulsion control, Hand operated, Serial no. 7224 and above

1шт.

5/16 X 1 CRG BOLT W/NUT

2шт.

5/16 LOCK WASHER

2шт.

3

574471R1

BRACKET, foot control pivot

2шт.

5/16 X 3/4 MACH BOLT

4шт.

1/8 X 1 COT. PIN

1шт.

U5363

7/16 X 2-7/8 DLD PIN

1шт.

5/16 LOCK WASHER

4шт.

4

631486R1

PEDAL, foot control

1шт.

5

627425R91

BAR W/HUB, speed control pivot

1шт.

3/8 X 2 MACH BOLT W/NUT

1шт.

3/8 LOCK WASHER

1шт.

510579R1

WASHER

13/32 X 1-1/4 X 16 GA WASHER

1шт.

6

574464R1

BUSHING, speed control pivot bar

1шт.

3/8 X 2 MACH BOLT W/NUT

1шт.

3/8 LOCK WASHER

1шт.

510579R1

WASHER

13/32 X 1-1/4 X 16 GA WASHER

1шт.

7

627429R1

SUPPORT, speed control pivot bar

1шт.

3/8 X 1 CRG BOLT W/NUT

4шт.

3/8 LOCK WASHER

4шт.

13/32 X 1 X 16 GA WASHER

4шт.

8

104038

ADJUSTABLE CLEVIS,3/8"-24 x 2 1/2"

CLEVIS, 3/8 in.

1шт.

3/32 X 3/4 COT. PIN

1шт.

103496

CLEVIS PIN,3/8" x 1.060"

3/8 X 1-3/32 ROD END PIN

1шт.

9

633674R1

ROD, front control, Serial no. 7223 and below

1шт.

9

938295R1

ROD, front control, Serial no. 7224 and above

1шт.

10

627419R1

ANCHOR, propulsion cyl

1шт.

11

629810R1

PLATE, propulsion indicator, Serial no. 7223 and below

1шт.

11

938815R1

PLATE, propulsion indicator, Serial no. 7224 and above

1шт.

12

574475R91

CYLINDER ASSY, propulsion control, For components see list of parts under details of hydraulic propulsion control cylinder, Order cylinder assy 378864R91, two hose assy 939480R91 and two O-rings 364839R1

1шт.

12

378864R91

CYLINDER ASSY, propulsion control, For components see list of parts under details of hydraulic propulsion control cylinder

1шт.

13

332040

LUBE NIPPLE,90 Degree, 1/8" NPT x .84" lg

FITTING, 1/4 str lub, Serial no. 501 to 4643

1шт.

14

171895C1

BRACKET W/SUPPORT, bellcrank mounting

1шт.

3/8 X 1 CRG BOLT W/NUT

2шт.

3/8 X 1 MACH BOLT W/NUT

1шт.

1/2 X 3-3/4 MACH BOLT W/NUT

1шт.

3/8 LOCK WASHER

3шт.

1/2 LOCK WASHER

1шт.

15

350781R1

SEAT

PLUG, ball seat adjusting, Serial no., Serial Range: 501-4643

2шт.

16

350780R1

SEAT

BALL, seat, Serial no., Serial Range: 501-4643

2шт.

17

629809R11

ROD W/WASHER, propulsion speed

1шт.

18

580184R1

BUSHING, bellcrank tube

1шт.

19

631996R91

BELLCRANK W/ARM, propulsion, Serial no., Serial Range: 501-4643

1шт.

20

563133R1

END, vertical rod upper adjusting, Serial no., Serial Range: 501-4643

1шт.

3/32 X 1-1/2 COT. PIN

1шт.

21

627494R91

ROD W/END, propulsion drive control, Serial no., Serial Range: 501-4643

1шт.

22

563134R1

NO LONGER SERVICED

END, vertical rod lower adjusting, Serial no., Serial Range: 501-4643

1шт.

3/31 X 1-1/2 COT. PIN

1шт.

23

936613R91

SOCKET

BALL JOINT ASSY, propulsion drive control rod LH thread, Serial no. 4644 and above

1шт.

1/2-20UNF NUT

1шт.

1/2 LOCK WASHER

1шт.

24

936609R91

LEVER ASSY, propulsion control, Serial no. 4645 and above

1шт.

25

936612R1

BALL, propulsion control lever, Serial no. 4644 and below

1шт.

26

631996R92

LEVER ASSY, propulsion control, Includes ref. no. 39, Serial no. 4644 and below

1шт.

27

936606R1

TURNBUCKLE

ROD, propulsion drive control, Serial no. 4644 and above

1шт.

280963

NUT,Nut, 1/2-20 GR 5 ZND

1/2-20UNF LH NUT

1шт.

25-118

NUT,1/2"-20, G5

1/2-20UNF NUT

1шт.

115551

LOCK WASHER,Int Tooth, 1/2"

WASHER, LOCK, Int Tooth, 1/2"

1шт.

28

936614R91

STEERING KNUCKLE

BALL JOINT ASSY, propulsion drive control rod, Serial no. 4644 and above

1шт.

1/2-20UNF NUT

1шт.

1/2 LOCK WASHER

1шт.

29

163574C1

KNOB

propulsion control lever, Serial no. 7224 and above

1шт.

30

PLATFORM ASSY, operators, Refer to operators deck and ladder for listing

1шт.

Выбрано товаров: 66