Запчасти Case IH 403 (345) - FUEL TANK, CAP, LINES AND SUPPORTS, FOR C-263 GASOLINE ENGINES (10) - ENGINE

Схема запчастей Case IH 403 - (345) - FUEL TANK, CAP, LINES AND SUPPORTS, FOR C-263 GASOLINE ENGINES (10) - ENGINE
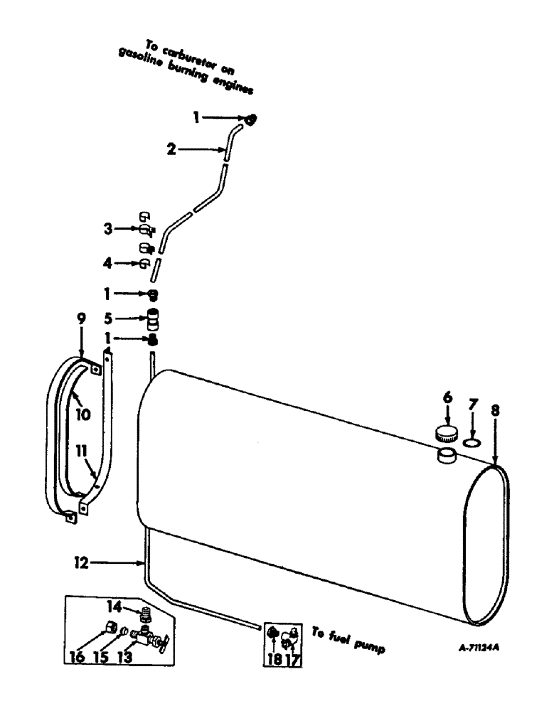
14
12
11
13
17
16
9
5
10
1
3
4
6
7
8
18
1
1
2
15
FIT
1:1
100%

Артикул

Название

Примечание

Количество

1

222-503

TUBE NUT,1/2"-20

NUT, 1/2-20 hi-duty tube fitting, fuel line

3шт.

2

LINE, fuel upper, 5/16 OD x 52-3/4 in. long, Order one foot increments of 995062R1 copper tubing

1шт.

3

140582

CLAMP

CLIP, fuel line

2шт.

3

105250

fuel lower line

1шт.

17403R1

BOLT,Hex, 1/4" - 20 x 1/2", Gr 2

1/4 X 1/2 MACH BOLT

2шт.

109084

NUT,1/4"-20, G5

2шт.

103319

LOCK WASHER,1/4"

WASHER, LOCK, 1/4"

2шт.

4

52728D

CUSHION, fuel line clip

3шт.

5

50050D

UNION, fuel line

1шт.

6

23995DC

FILLER CAP

CAP W/GASKET, 23977DC assy, fuel

1шт.

7

23977DC

GASKET

fuel cap

1шт.

8

627279R91

TANK W/CAP, 23995DC assy, fuel

1шт.

9

569462R2

STRAP, fuel tank support

2шт.

17412R1

BOLT,Hex, 3/8" - 16 x 3/4", Gr 2

3/8 X 3/4 MACH BOLT

2шт.

102635

NUT,3/8"-16, G5

2шт.

103321

LOCK WASHER,3/8"

WASHER, LOCK, 3/8"

2шт.

10

ORDER COTTON WEBBING FROM BULK STOCK 1 X 56 IN 2 PLY

1шт.

11

564529R1

SUPPORT, fuel tank

2шт.

17412R1

BOLT,Hex, 3/8" - 16 x 3/4", Gr 2

3/8 X 3/4 MACH BOLT

4шт.

17471R1

BOLT,Hex, 3/8" - 16 x 1 1/2"

3/8 X 1-1/2 MACH BOLT

2шт.

102635

NUT,3/8"-16, G5

6шт.

103321

LOCK WASHER,3/8"

WASHER, LOCK, 3/8"

6шт.

12

LINE, fuel lower, Combine serial no. 2195 & below, 5/16 OD x 62-5/32 in., Order one foot increments of 995062R1 copper tubing

1шт.

12

LINE, fuel lower, Combine serial no. 2196 & above, 5/16 OD x 40 in., Order one foot increments of 995062R1 copper tubing

1шт.

13

120900

VALVE

ASSY, fuel shut-off, Combine serial no. 2196 & above

1шт.

14

119933

ADAPTER,3/8" NPT Male x 1/8" NPT Fem

BUSHING, reducing, For use with valve 120900, Combine serial no. 2196 & above

1шт.

15

114631

SLEEVE,Ball Type, 5/16" Tube

For use with valve 120900, Combine serial no. 2196 & above

1шт.

16

222-663

NUT,1/2"-24, 45 Degree Fl, Comp

NUT, 5/16 brass, For use with valve 120900, Combine serial no. 2196 & above

1шт.

17

61650D

VALVE

ASSY, fuel shut-off, Combine serial no. 2195 & below

1шт.

18

222-503

TUBE NUT,1/2"-20

NUT, 1/2-20 hi-duty tube fitting, For use with valve 61650D, Combine serial no. 2195 & below

1шт.

Выбрано товаров: 30