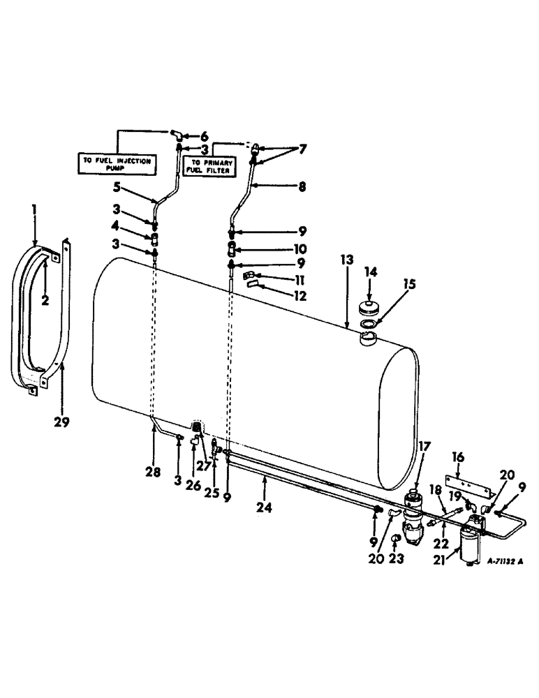
Запчасти Case IH 403 (349) - FUEL TANK AND CONNECTIONS, FOR D-282 ENGINE (10) - ENGINE

Схема запчастей Case IH 403 - (349) - FUEL TANK AND CONNECTIONS, FOR D-282 ENGINE (10) - ENGINE
26
24
3
1
3
7
17
18
29
9
8
9
2
3
13
9
9
19
20
20
11
16
15
6
23
3
27
22
14
9
5
25
21
4
10
12
28
FIT
1:1
100%

Артикул

Название

Примечание

Количество

1

569462R2

STRAP, fuel tank support

2шт.

17412R1

BOLT,Hex, 3/8" - 16 x 3/4", Gr 2

3/8 X 3/4 MACH BOLT

2шт.

102635

NUT,3/8"-16, G5

2шт.

103321

LOCK WASHER,3/8"

WASHER, LOCK, 3/8"

2шт.

2

ORDER COTTON WEBBING FROM BULK STOCK 1 X 56 IN 2 PLY

1шт.

3

222-503

TUBE NUT,1/2"-20

NUT, 1/2-20 hi-duty tube fitting, fuel line

4шт.

4

50050D

UNION, fuel line

1шт.

5

LINE, fuel tank upper returen, 5/16 OD x 53-7/16 in. long, Order one foot increments of 995062R1 copper tubing

1шт.

6

24847H

ELBOW,90 Degree x 1/8" NPT x 1/2"-20

fuel line

1шт.

7

278958R91

NIPPLE, LUBE

ELBOW W/NUT ASSY, fuel line upper

1шт.

8

LINE, fuel upper, 5/16 OD x 38-7/8 in. long, Order one foot increments of 995062R1 copper tubing

1шт.

9

222-504

TUBE NUT,9/16"-20

NUT, 9/16-20 hi-duty tube fitting, fuel line

5шт.

10

55999D

HYD CONNECTOR,9/16"-20

UNION, fuel line

1шт.

11

362120R1

CLAMP,9.53mm ID, 10.32mm Bolt Hole, P Type

CLIP, fuel line

2шт.

17403R1

BOLT,Hex, 1/4" - 20 x 1/2", Gr 2

1/4 X 1/2 MACH BOLT

2шт.

109084

NUT,1/4"-20, G5

2шт.

103319

LOCK WASHER,1/4"

WASHER, LOCK, 1/4"

2шт.

12

52728D

CUSHION, fuel line clip

2шт.

13

631754R91

TANK W/CAP ASSY, fuel, Includes ref. nos. 14 and 15

1шт.

14

23995DC

FILLER CAP

CAP W/GASKET ASSY, fuel, Includes ref. no. 15

1шт.

15

23997DC

GASKET, filler cap

1шт.

16

631738R1

BRACKET, fuel pump and water trap

1шт.

17

306274R91

PUMP

ASSY, electric fuel transfer, For components see Eng 5 parts catalog

1шт.

18

277041R91

PIPE CLAMP

HOSE ASSY, water trap fuel pump

1шт.

19

118755

ELBOW

1/4 x 90 deg flared tube

1шт.

20

37323D

ELBOW,90 Degree x 1/4" NPT x 9/16"-20

fuel pump and water trap

2шт.

21

251355R91

TRAP

ASSY, water, For components see Eng 5 parts catalog

1шт.

22

633436R1

LINE, water trap to fuel shut-off valve

1шт.

23

105243

ELBOW, 1/4 90 deg street

1шт.

24

LINE, fuel lower, 5/16 OD x 52-3/4 in. long, Order one foot increments of 995062R1 copper tubing

1шт.

25

307881R91

COCK

VALVE ASSY, fuel shut-off

1шт.

26

36391D

ELBOW,90 Degree x 1/4" NPT x 1/2"-20

fuel tank lower return line

1шт.

27

NLS

NO LONGER SERVICED

REDUCER, 3/8 x 1 plain

1шт.

28

LINE, fuel tank lower return, 5/16 OD x 51-3/32 in. long, Order one foot increments of 995062R1 copper tubing

1шт.

29

564529R1

SUPPORT, fuel tank

2шт.

17412R1

BOLT,Hex, 3/8" - 16 x 3/4", Gr 2

3/8 X 3/4 MACH BOLT

4шт.

17471R1

BOLT,Hex, 3/8" - 16 x 1 1/2"

3/8 X 1-1/2 MACH BOLT

2шт.

102635

NUT,3/8"-16, G5

6шт.

103321

LOCK WASHER,3/8"

WASHER, LOCK, 3/8"

6шт.

Выбрано товаров: 39