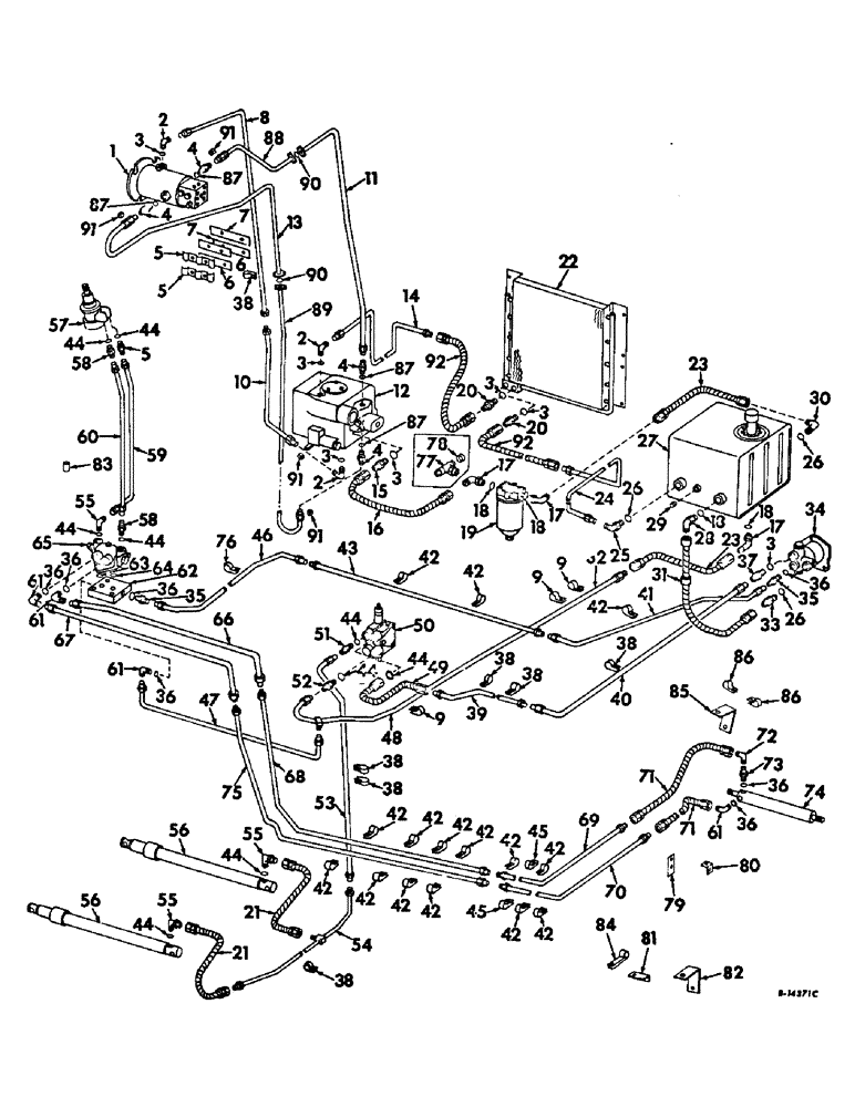
Запчасти Case IH 403 (163) - HYDRAULIC DIAGRAM, FOR HYDROSTATIC GROUND DRIVE (35) - HYDRAULIC SYSTEMS

Схема запчастей Case IH 403 - (163) - HYDRAULIC DIAGRAM, FOR HYDROSTATIC GROUND DRIVE (35) - HYDRAULIC SYSTEMS
42
9
39
3
27
18
35
4
87
36
45
85
42
9
7
5
87
47
21
41
84
91
38
44
80
3
42
57
42
42
61
38
17
67
10
25
40
44
7
77
18
2
52
45
62
88
23
91
42
4
51
18
42
90
92
2
72
36
75
87
44
61
3
36
31
87
26
91
61
16
18
59
42
89
35
32
38
65
43
50
44
55
36
42
38
61
55
19
29
42
17
81
8
82
58
42
38
86
46
30
5
68
17
6
78
3
38
53
71
36
90
23
3
55
6
83
79
54
73
44
22
3
2
42
63
58
76
60
48
38
44
74
24
42
1
44
20
86
56
11
9
64
69
44
12
20
49
14
92
71
42
70
66
26
34
4
5
91
37
15
36
42
36
4
21
26
33
28
3
56
13
FIT
1:1
100%

Артикул

Название

Примечание

Количество

1

150620C92

MOTOR ASSY, ground drive, For machines w/o foot-n-inch valve, For components see list of parts under details of ground drive motor assy

1шт.

1

403346R92

MOTOR

ASSY, ground drive, For machines w/foot-n-inch valve, For components see list of parts under details of ground drive motor assy

1шт.

179887

CABLE

4шт.

103323

LOCK WASHER,1/2"

WASHER, LOCK, 1/2"

4шт.

283856C1

WASHER

17/32 x 1 x 7 ga

4шт.

2

9410978

ELBOW,90 Degree, 7/8"-14, 37 Degree x 7/8"-14, O-Ring

7/8-14 90 deg

3шт.

3

364885R1

O-RING,0.097" Thk x 0.755" ID, -910, Cl 6, 90 Duro

3/4 x 15/16 x 3/32

7шт.

4

150772C1

UNION

CONNECTOR, Serial no. 16129 and below

4шт.

4

163915C1

FITTING

CONNECTOR, 1-15/16, Serial no. 16130 and above

1шт.

5

150778C1

CLAMP, hydraulic tube upper

1шт.

5

164997C1

CLAMP, hydraulic tube lower

1шт.

6

150779C1

TUBE

STRAP, hydraulic pipe cushion

2шт.

7

150780C1

STRAP

hydraulic tube cushion upper

1шт.

7

157783C1

STRAP, hydraulic tube cusion lower

1шт.

271501

SOCKET

NUT, 7/16 C-Z hex.

4шт.

120383

LOCK WASHER,Helical Spring, 7/16"

WASHER, LOCK, 7/16"

4шт.

8

150774C91

PIPE ASSY, motor to pump lower bleed

1шт.

9

573099R2

CLIP

tube

3шт.

10

150773C91

PIPE ASSY, motor to pump upper bleed

1шт.

11

164089C91

TUBE

ASSY, forward pressure upper

1шт.

12

150642C95

PUMP

ASSY, ground drive, For components see list of parts under details of ground drive pump assy

1шт.

413-1036

BOLT,Hex, 5/8" - 11 x 2-1/4", Gr 5

SCREW, 5/8 x 2-1/4 hex-hd cap

4шт.

120639

NUT, 5/8 hex.

4шт.

103325

LOCK WASHER,5/8"

WASHER, LOCK, 5/8"

4шт.

614774R1

WASHER, 21/32 x 1-11/16 x 3/16

4шт.

13

167937C1

TUBE ASSY, rearward pressure lower

1шт.

14

150787C91

PIPE ASSY, ground drive pump to oil cooler

1шт.

15

574479R1

HYD CONNECTOR,1 1/16"-12, 37 Degree x 7/8"-14, O-Ring

CONNECTOR, 7/8-14

1шт.

16

153677C91

HOSE ASSY, filter to ground drive

1шт.

17

9410979

ELBOW,90 Degree, 1 1/16"-12, 37 Degree x 1 1/16"-12, O-Ring

1-1/16-12 90 deg, See note

2шт.

18

368269R1

O-RING,0.116" Thk x 0.924" ID, -912, Cl 6, 90 Duro

For 1 in. OD tube

2шт.

19

150956C91

FILTER ASSY, oil, For components see list of parts under details of oil filter assy, Serial no. 13062 and below

1шт.

19

156571C91

FILTER CARTRIDGE

FILTER ASSY, oil, For components see list of parts under details of oil filter assy, Serial no. 13063 and above

1шт.

20

9410204

HYD CONNECTOR,7/8"-14, 37 Degree x 7/8"-14, O-Ring

CONNECTOR, 7/8-14

2шт.

21

574230C91

HOSE ASSY, cooler

2шт.

22

150947C91

COOLER ASSY, oil

1шт.

18764R1

HARDWARE,Hex, 5/16"-18 x 3/4", G2

BOLT, 5/16 x 3/4 C-Z hex-hd mach

8шт.

120376

NUT,5/16"-18, G5

8шт.

80681

LOCK WASHER,5/16"

WASHER, LOCK, 5/16"

8шт.

23

150785C91

HOSE ASSY, Serial Range: reservoir-filter

2шт.

24

150788C91

PIPE ASSY, reservoir to oil cooler, Gasoline

1шт.

24

155778C91

PIPE ASSY, reservoir to oil cooler, Diesel

1шт.

25

633460R91

ELBOW,90 Degree, 7/8"-14, 37 Degree x 1 1/16"-12, O-Ring

7/8-14 x 1-1/16-12 90 deg

1шт.

26

368269R1

O-RING,0.116" Thk x 0.924" ID, -912, Cl 6, 90 Duro

59/64 x 1-1/16 x 7/16

3шт.

27

154748C92

RESERVOIR ASSY, hyd oil, For components see list of parts under details of hydraulic oil reservoir assy

1шт.

28

9410981

ELBOW,90 Degree, 1 5/16"-12, 37 Degree x 1 5/16"-12, O-Ring

1-15/16-12 90 deg

1шт.

29

103867

PLUG

3/8 sq-hd pipe

1шт.

30

9410979

ELBOW,90 Degree, 1 1/16"-12, 37 Degree x 1 1/16"-12, O-Ring

1-1/16 90 deg

1шт.

31

152985C91

HOSE ASSY, pump suction, See note

1шт.

32

627539R11

PIPE ASSY, rear return 0.75" OD, 46.25" Length

1шт.

33

574018R1

HYD CONNECTOR,1 5/16"-12, 37 Degree x 1 1/16"-12, O-Ring

CONNECTOR, 1-1/16-12, See note

1шт.

34

631143R92

PUMP

ASSY, hydraulic oil, See note

1шт.

125-10003

NUT,3/8"-16, G5, LH

3/8 hex. LH thread

1шт.

Q5035

WASHER

17/32 x 1 x 16 ga

1шт.

35

9410202

HYD CONNECTOR,9/16"-18, 37 Degree x 9/16"-18, O-Ring

CONNECTOR, 9/16-18, See note

2шт.

36

364839

O-RING

For 3/8 OD tubing

7шт.

37

9410204

HYD CONNECTOR,7/8"-14, 37 Degree x 7/8"-14, O-Ring

CONNECTOR, 7/8-14, See note

1шт.

38

567895R2

CLIP, tube

7шт.

39

155001C91

TUBE ASSY, platform lift front pressure

1шт.

40

155013C91

TUBE ASSY, platform lift rear pressure, See note

1шт.

41

154996C91

TUBE ASSY, pump to valve steering upper, See note

1шт.

42

589980R2

CLIP

tube

1шт.

18474R1

BOLT,Hex, 5/16" - 18 x 1", Gr 2

5/16-18 X 1 C-Z MACH BOLT W/NUT

1шт.

9635884

BOLT,Hex, 5/16" - 18 1", Full Thd, Gr 5

5/16-18 X 1 C-Z CAP, rice and adjustable guide wheel axle

3шт.

NLS

NO LONGER SERVICED

5/16-18 X 1-1/2 C-Z CAP SCREW, rice and adjustable guide wheel axle

1шт.

80681

LOCK WASHER,5/16"

WASHER, LOCK, 5/16"

1шт.

43

154991C91

TUBE ASSY, pump to valve steering center, See note

1шт.

44

570828R1

O-RING,0.087" Thk x 0.644" ID, -908, Cl 6, 90 Duro

For 1/2 in. OD tubing

9шт.

45

935765R1

CLIP, tube

5шт.

9635884

BOLT,Hex, 5/16" - 18 1", Full Thd, Gr 5

5/16-18 X 1 C-Z CAP

5шт.

120376

NUT,5/16"-18, G5

5шт.

80681

LOCK WASHER,5/16"

WASHER, LOCK, 5/16"

5шт.

46

939256R11

PIPE ASSY, pump to valve front steering

1шт.

47

939253R11

PIPE ASSY, steering valve return, For machines w/o foot-n-inch valve

1шт.

47

164409C91

TUBE ASSY, steering return, For machines w/foot-n-inch valve

1шт.

48

588538R91

PIPE ASSY, front return, See note

1шт.

49

631163R91

HOSE ASSY.

HOSE ASSY, front pressure

1шт.

50

156196C92

VALVE

ASSY, platform lift, For components see list of parts under details of platform lift valve

1шт.

51

574478R1

UNION

CONNECTOR, platform lift tube

1шт.

52

587577R1

CONNECTION,1 1/16"-12, 37 Degree x 3/4"-16, O-Ring

CONNECTOR, return tube

1шт.

53

627437R11

PIPE ASSY, platform lift cylinder upper

1шт.

54

631847R11

TUBE ASSY, platform lift cylinder lower 0.625" OD, 36.06, 4.75" Length

1шт.

55

9410977

ELBOW,90 Degree, 3/4"-16, 37 Degree x 3/4"-16, O-Ring

3/4-16 90 deg

3шт.

56

383762R92

CYLINDER ASSY, platform lift, For 18.4 x 26 tires and all machines w/feeder hitch att.

2шт.

56

570799R91

CYLINDER ASSY, platform lift, For 18.4 x 26 tires and all machines w/feeder hitch att.

2шт.

56

570801R92

CYLINDER ASSY, platform lift, For 18.4 x 26 tires and all machines w/feeder hitch att.

2шт.

56

631403R91

CYLINDER ASSY, platform lift, For 18.4 x 26 tires heavy duty

2шт.

56

383763R92

CYLINDER ASSY, platform lift, For 23.1 x 26 tires w/o feeder hitch att

2шт.

56

570810R92

CYLINDER ASSY, platform lift, For 23.1 x 26 tires w/o feeder hitch att

2шт.

56

570985R91

CYLINDER ASSY, platform lift, For 23.1 x 26 tires w/o feeder hitch att

2шт.

56

631404R91

CYLINDER ASSY, platform lift, For 23.1 x 26 tires heavy duty, For components see list of parts under details of platform lift cylinder assy

2шт.

57

378578R94

HYDRAULIC STEERING

PUMP ASSY, steering hand, For components see list of parts under details of steering pump assy

1шт.

58

9410203

HYD CONNECTOR,3/4"-16, 37 Degree x 3/4"-16, O-Ring

CONNECTOR, 3/4-16

3шт.

59

939252R11

PIPE ASSY, hand pump to valve right

1шт.

60

939254R11

PIPE ASSY, hand pump to valve left

1шт.

61

9410976

ELBOW,90 Degree, 9/16"-18, 37 Degree x 9/16"-18, O-Ring

4шт.

62

633383R1

BLOCK, steering valve mounting

1шт.

63

362796R1

O-RING,0.924" ID x 0.103" Width

15/16 x 1-1/8 x 3/32

1шт.

64

369908R1

O-RING,0.103" Thk x 0.799" ID, -117, Cl 5, 75 Duro

13/16 x 1 x 3/32

1шт.

65

396726R91

LOCK VALVE

VALVE ASSY, steering, For components see list of parts under details of steering valve assy

1шт.

NLS

NO LONGER SERVICED

1шт.

17521R1

BOLT,Hex, 3/8" - 16 x 2", Gr 2

3/8 x 2 hex-hd mach

2шт.

102635

NUT,3/8"-16, G5

1шт.

103321

LOCK WASHER,3/8"

WASHER, LOCK, 3/8"

1шт.

66

654584R11

PIPE ASSY, steering valve to cylinder front lower 1.375" OD, 41.06, 5.24" Length

1шт.

67

654585R11

PIPE ASSY, steering valve to cylinder front upper 1.375" OD, 39.75, 4.81" Length

1шт.

68

154982C91

TUBE ASSY, steering middle top, Serial no. 13062 and below .375" OD, 31.44, 5.712" Length

1шт.

68

155954C91

TUBE ASSY, steering valve to cylinder center, rice and adjustable guide wheel axle, Serial no. 13063 and above

1шт.

69

154995C91

TUBE ASSY, steering top, grain, Narrow guide wheel axle

1шт.

69

155003C91

TUBE ASSY, steering top, rice and adj guide wheel axle, Serial no. 13062 and below

1шт.

69

155953C91

TUBE ASSY, steering valve to cylinder rear, rice and adjustable guide wheel axle, Serial no. 13063 and above

1шт.

70

154994C91

TUBE ASSY, steering rear lower, grain, Narrow guide wheel axle

1шт.

70

155002C91

TUBE ASSY, steering rear lower, rice and adj guide wheel axle, Serial no. 13062 and below

1шт.

70

155953C91

TUBE ASSY, steering valve to cylinder rear, rice and adjustable guide wheel axle, Serial no. 13063 and above

1шт.

71

632454R91

HYDRAULIC HOSE,0.31" ID x 30.00", SAE 100R1 Class B

HOSE ASSY, adjustable guide wheel axle wide

2шт.

71

632455R91

HOSE

ASSY, grain and rice not adj guide wheel axle

2шт.

71

155309C91

HYDRAULIC HOSE,0.31" ID x 20.00", SAE 100R1

0.31" ID x 20.00", Adjustable Guide Wheel Axle Narrow

2шт.

71

633213R91

HOSE ASSY, rice track and rice rubber with wide nonadjustable guide wheel axle

2шт.

72

9410976

ELBOW,90 Degree, 9/16"-18, 37 Degree x 9/16"-18, O-Ring

grain 90º, 9/16"-18, 37º x 9/16"-18, O-Ring

1шт.

73

9410202

HYD CONNECTOR,9/16"-18, 37 Degree x 9/16"-18, O-Ring

CONNECTOR, 9/16-18 rice

1шт.

74

654631R91

CYLINDER ASSY, steering, For components

1шт.

74

397689R91

CYLINDER ASSY, steering, Optional for 654631R91, See list of parts under details of steering cylinder assy

1шт.

75

154983C91

TUBE ASSY, steering middle bottom, Serial no. 13062 and below

1шт.

75

155954C91

TUBE ASSY, steering valve to cylinder center, rice and adjustable guide wheel axle, Serial no. 13063 and above

1шт.

76

633125R1

CLAMP

CLIP, hyd tube

1шт.

77

574873R91

TEE, Serial no. 13062 and below

1шт.

78

9403374

CAP,37 Degree, 1 1/16"-12

Serial no. 13062 and below

1шт.

79

154986C1

STRAP, hyd tube, grain

1шт.

88574

BOLT,Hex, 5/16" - 18 x 1/2", Gr 5, Full Thd

1шт.

180077

BOLT,Hex, 5/16" - 18 x 3/4", Gr 5

SCREW, 5/16 x 3/4 C-Z hex-hd cap

1шт.

120376

NUT,5/16"-18, G5

1шт.

80681

LOCK WASHER,5/16"

WASHER, LOCK, 5/16"

1шт.

80

154971C1

ANGLE

valve to cylinder rear tube clip, rice and adjustable guide wheel axle, Serial no. 13062 and below

1шт.

81

155950C1

ANGLE, valve to cylinder rear tube clip

1шт.

82

154981C1

ANGLE, hydraulic tube clip

1шт.

18780R1

BOLT,Hex, 3/8"-16 x 1 3/4", G2

3/8-16 X 1-3/4 C-Z MACH BOLT W/NUT

1шт.

120382

LOCK WASHER,Helical Spring, 3/8"

WASHER, LOCK, 3/8"

1шт.

83

567987R1

SPACER,10.3mm ID x 15.88mm OD x 17.5mm L

steering valve to center tube

1шт.

84

633125R2

CLAMP

CLIP

1шт.

85

161307C1

ANGLE, steering cylinder hose clip

1шт.

18780R1

BOLT,Hex, 3/8"-16 x 1 3/4", G2

3/8 x 1-3/4 C-Z hex-hd mach

1шт.

120377

NUT,3/8" - 16, Gr 5

1шт.

120382

LOCK WASHER,Helical Spring, 3/8"

WASHER, LOCK, 3/8"

1шт.

86

573099R2

CLIP

steering cylinder hose

1шт.

18685R1

CARRIAGE BOLT,Short Sq Nk, 3/8" - 16 x 1 1/2", Gr 2

BOLT, 3/8 x 1-1/2 C-Z sq-nk crg

1шт.

120377

NUT,3/8" - 16, Gr 5

1шт.

120382

LOCK WASHER,Helical Spring, 3/8"

WASHER, LOCK, 3/8"

1шт.

Q1597

WASHER

13/32 x 3/4 x 16 ga

1шт.

87

296247R1

O-RING,16-1, 90 Duro, 1.171" ID x .116" Thk

For 1 in. OD tube

4шт.

88

164090C91

TUBE ASSY, forward pressure lower

1шт.

180124

BOLT,Hex, 3/8" - 16 x 1 1/4", Gr 5

3/8 x 1-1/4 C-Z hex-hd

4шт.

120382

LOCK WASHER,Helical Spring, 3/8"

WASHER, LOCK, 3/8"

4шт.

89

164091C91

TUBE

rearward pressure upper

1шт.

180124

BOLT,Hex, 3/8" - 16 x 1 1/4", Gr 5

3/8 x 1-1/4 C-Z hex-hd

4шт.

120382

LOCK WASHER,Helical Spring, 3/8"

WASHER, LOCK, 3/8"

4шт.

90

343906R1

O-RING,0.139" Thk x 1.296" ID, -219, Cl 6, 90 Duro

1-5/16 x 1-9/16 x 1/8

2шт.

91

165722C1

SLEEVE

hyd ground drive tube rubber

4шт.

92

155225C91

HOSE ASSY.

HOSE ASSY, oil cooler

2шт.

Выбрано товаров: 0