Запчасти Case IH 660 (184) - BAG CHUTE

Схема запчастей Case IH 660 - (184) - BAG CHUTE
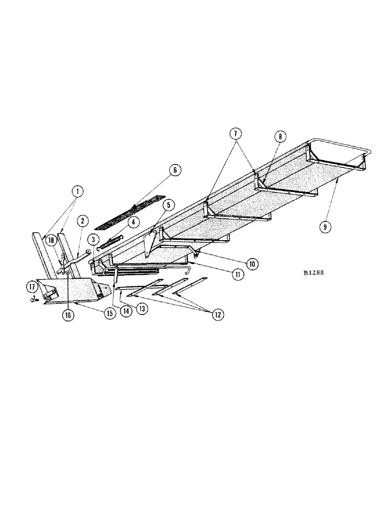
10
14
11
2
18
12
1
17
15
3
13
16
4
6
5
8
7
9
FIT
1:1
100%

Артикул

Название

Примечание

Количество

1

F77328

EXTENSION - bag chute end gate

2шт.

2

F7589

STRAP - gate latch, L.H. (Shown)

1шт.

BOLT - 7/16" x 1-1/4" rhd. sq. nk. (11-720) nut (25-107)

1шт.

WASHER - 7/16" flat (195-29)

1шт.

F7588

STRAP - gate latch, R.H. (Not shown)

1шт.

B18072

X,3/8" Pipe x 3/8"

SPACER - end gate latch strap (Not shown)

2шт.

3

F8753

STRAP - reinforcement, lower end (Vertical)

1шт.

RIVET - 1/4" x 7/8" ctsk. hd. (46-414)

4шт.

4

F5318

SPRING - end gate

2шт.

5

O1049CK

RETAINER - gate spring

2шт.

BOLT - 1/4" x 1/2" rhd. sq. nk. (11-48) nut (25-104)

6шт.

BOLT - 5/16" x 3/4" N.F. hex (14-512) nut (25-115)

2шт.

6

O8080HT

BELTING - bag chute floor

1шт.

7

F77324

ANGLE - reinforcement (Beneath chute floor)

3шт.

RIVET - 3/8" x 1" rhd. (45-616)

6шт.

8

F8752

STRAP - reinforcement

7шт.

SCREW - 3/8" x 1-1/4" N.C. fl. hd. mach. (73-620) nut (25-106)

3шт.

9

F82668

BAG CHUTE - with bail

1шт.

10

F8750

BRACE - gate spring retainer

1шт.

11

F8755

REINFORCEMENT - latch bracket

1шт.

BOLT - 3/8" x 1-1/2" N.F. hex (14-624) nut (25-116)

4шт.

BOLT - 1/2" x 1-1/2" N.F. hex (14-824) nut (25-116)

2шт.

12

F7584

STRAP - reinforcement, lower end

3шт.

SCREW - 3/8" x 1-1/4" N.C. fl. hd. mach. (73-620) nut (25-106)

6шт.

13

F8754

FILLER - lower end

1шт.

14

F86605

TRIP - gate latch, with lever

1шт.

PIN - cotter, 1/8" x 1" (132-48)

1шт.

15

F77326

END GATE - bag chute

1шт.

BOLT - 7/16" x 1-1/4" rhd. sq. nk. (11-720) nut (25-107)

2шт.

16

O6345HT

SPACER - end gate latch bracket

2шт.

17

O6300HT

BOLT - shoulder, end gate

2шт.

NUT - 1/2" N.C. hex (25-108) L.W. (92-8)

2шт.

18

O6344HT

BRACKET - end gate latch

2шт.

SCREW - 1/4" x 1" N.C. fl. hd. mach. (73-416) nut (25-104)

4шт.

Выбрано товаров: 34