Запчасти Case IH 660 (192) - SCOURKLEEN ATTACHMENT, ELEVATOR EXTENSION AND DRIVE, GRAIN BIN COMBINES BEFORE NUMBER 8357001

Схема запчастей Case IH 660 - (192) - SCOURKLEEN ATTACHMENT, ELEVATOR EXTENSION AND DRIVE, GRAIN BIN COMBINES BEFORE NUMBER 8357001
19
20
40
3
24
9
10
34
49
1
32
22
17
45
36
43
37
39
11
35
14
25
41
47
13
2
12
7
50
29
27
4
5
33
6
15
18
28
46
31
42
8
44
48
23
16
30
21
38
26
FIT
1:1
100%

Артикул

Название

Примечание

Количество

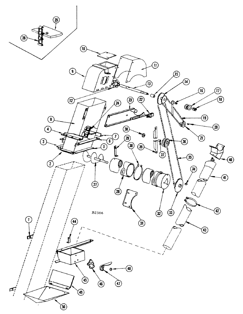
1

F21904

BRACKET - clamp

2шт.

BOLT - 5/16" x 6" N.C. hex (13-596) nut (25-105)

2шт.

NUT - 5/16" N.C. wing (129-405)

2шт.

2

F20345

ANGLE - rear

1шт.

3

F20347

ANGLE - L.H. side

1шт.

4

F17780

SUPPORT - rear

1шт.

BOLT - 5/16" x 3/4" N.C. hex (13-512) nut (25-105)

2шт.

5

F20346

ANGLE - R.H. side

1шт.

6

F17778

SUPPORT - R.H. and L.H.

2шт.

BOLT - 5/16" x 3/4" N.C. hex (13-512) nut (25-105)

2шт.

7

F17779

SUPPORT - front

1шт.

BOLT - 5/16" x 3/4" N.C. hex (13-512) nut (25-105)

3шт.

8

F83380

TUBE - elevator extension

1шт.

BOLT - 1/4" x 1/2" N.C. hex (13-48) nut (25-104)

2шт.

BOLT - 1/4" x 5/8" rhd. sq. nk. (11-410) nut (25-104)

16шт.

9

F83379

HEAD - grain elevator

1шт.

BOLT - 5/16" x 2-1/2" N.C. full thread (13-540) dbl. nut (25-105)

2шт.

10

F20341

DOOR - clean out

1шт.

SCREW - #10 x 1/2" metal (187-329) and Tinnerman nut (131-105)

2шт.

11

F83381

SPOUT - elevator discharge

1шт.

BOLT - 1/4" x 1/2" N.C. hex (13-48) nut (25-104)

6шт.

LOCKWASHER - 1/4" (92-4) fl. wshr. (95-4)

6шт.

12

51B

SPROCKET ASSY.

SPROCKET - (7T) grain elevator upper shaft (Standard - not part of attachment)

1шт.

KEY - "A" Woodruff (126-121)

1шт.

PIN - cotter, 3/16" x 2" (132-99)

1шт.

13

F21610

SHAFT - upper, grain elevator (Standard - not part of att.)

1шт.

14

F84770

SPROCKET - (20T and 30T dbl.) drives ScourKleen

1шт.

KEY - "A" Woodruff (126-121)

1шт.

15

F11042

BEARING

BUSHING

1шт.

16

F84771

ARM - chain tightener roller

1шт.

WASHER - 1/2" flat (95-8)

2шт.

PIN - cotter, 1/8" x 1" (132-48)

1шт.

17

F83368

ROLLER - chain tightener

1шт.

18

F4345

BUSHING

1шт.

19

F20444

X

CHAIN - ScourKleen drive (NSS - See page 7)

1шт.

20

126-124

WOODRUFF KEY,#15, 1/4" x 1", HT

Ref. 21 sprocket to rotor shaft #15, 1/4" x 1", HT

1шт.

21

F22067

SPROCKET - (15T) drives rotor shaft, driven

1шт.

SCREW - 3/8" x 5/8" sq. hd. set (85-610)

1шт.

22

F1648

CLAMP - collar, on chain tightener arm

1шт.

SCREW - 3/8" x 5/8" N.C. sq. hd. set (85-610)

1шт.

23

F83386

BRACKET - support, for chain tightener

1шт.

SCREW - 1/4" x 5/8" N.C. fl. hd. mach. (73-410) nut (25-104)

3шт.

NUT - 1/4" N.C. Tinnerman (131-135)

3шт.

24

F83369

EXTENSION - chain and flights (NSS - use (2) F86419, (1) F86423, (9) F79799 flights and (1) 235-52 att. link)

1шт.

25

F79799

RUBBER FLIGHT

FLIGHT - rubber, elevator extension chain (Includes F11165, 1-235-65 att. link, 2-235-11 plain links and 2-151-135 rivets)

9шт.

26

F86419

CHAIN AND FLIGHTS - (Consists of chain and 2 flights)

2шт.

26

F86423

CHAIN (AG)

CHAIN AND FLIGHTS - (Consists of chain and 10 flights)

2шт.

27

F84393

AUGER - leveling, grain bin (Standard - not part of att.) (Before #8357001)

1шт.

27

F94219

AUGER - leveling (#8357001 and after)

1шт.

28

F22071

SHROUD - leveling, auger

1шт.

29

F22065

BRACKET - hanger

1шт.

BOLT - 1/4" x 5/8" N.C. hex (13-410) nut (25-104)

2шт.

30

F22070

BAND - clamp

1шт.

BOLT - 5/16" x 1-1/2" N.C. hex (13-524) nut (25-105)

1шт.

31

F22098

BRACKET - support

1шт.

BOLT - 5/16" x 3/4" N.C. hex (13-512) nut (25-105)

2шт.

32

F84772

SHEET - auger tube

1шт.

33

F84909

SPROCKET ASSY.

SPROCKET - (36T) driven, leveling auger (Standard - not part of attachment - #8309001 and after)

1шт.

33

F84862

SPROCKET - (18T) driven, leveling auger (Standard - not part of attachment - #8309001)

1шт.

PIN - cotter, 3/16" x 2-1/2" (132-102)

1шт.

34

126-21

WOODRUFF KEY,#A, 1/4" x 7/8"

Ref. 33 sprocket to leveling auger #A, 1/4" x 7/8"

1шт.

35

F60261

X

CHAIN - elevator drive (NSS - see page 7)

1шт.

36

O3511CS

PULLEY

- idler (Standard - not part of attachment)

1шт.

BOLT - 1/2" x 3" rhd. sh. sq. nk. (12-848) nut (25-108)

1шт.

WASHER - 1/2" flat (195-33)

1шт.

37

F22068

SPACER

1шт.

38

F22074

WASHER - idler pulley

4шт.

39

F22063

BRACE - tie

1шт.

BOLT - 5/16" x 1" N.C. hex (13-516) nut (25-105)

2шт.

40

F83377

DOWNSPOUT - for weed seed tubes

1шт.

SCREW - 3/16" x 3/8" N.C. rhd. mach. (173-92)

4шт.

41

F84775

TUBE - upper, weed seed

1шт.

SCREW - 1/4" x 5/8" N.C. rhd. mach. (68-410) nut (25-104) and Tinnerman nut (131-109)

2шт.

42

F20358

BAND - clamp

1шт.

BOLT - 5/16" x 1-1/2" N.C. hex (13-524) nut (25-105)

1шт.

43

F22073

TUBE - lower, weed seed

1шт.

BOLT - 1/4" x 5/8" N.C. hex (13-410) nut (25-104) and Tinnerman nut (131-109)

1шт.

44

F22064

BRACKET - attaching, lower weed seed tube to bag holder

1шт.

BOLT - 1/4" x 5/8" N.C. hex (13-410) nut (25-104)

2шт.

45

F83388

HOLDER - bag

1шт.

46

F1651

BRACKET

1шт.

PIN - cotter, 3/16" x 1" (132-91)

1шт.

47

F1650

LEVER

1шт.

48

A26411

WASHER

- ref. 47

1шт.

49

F20340

SHIELD - front

1шт.

SCREW - 1/4" x 5/8" N.C. mach. (68-410) nut (25-104)

2шт.

BOLT - 1/4" x 5/8" N.C. hex (13-410) nut (25-104)

2шт.

WASHER - 1/4" flat (95-4)

4шт.

50

F83370

BOX - bag

1шт.

BOLT - 1/4" x 1" N.C. hex (13-416) nut (25-104)

2шт.

WASHER - 1/4" flat (95-4)

2шт.

Выбрано товаров: 91