Запчасти Case IH 660 (023A) - REMOTE CONTROLLED V.S. REEL DRIVE

Схема запчастей Case IH 660 - (023A) - REMOTE CONTROLLED V.S. REEL DRIVE
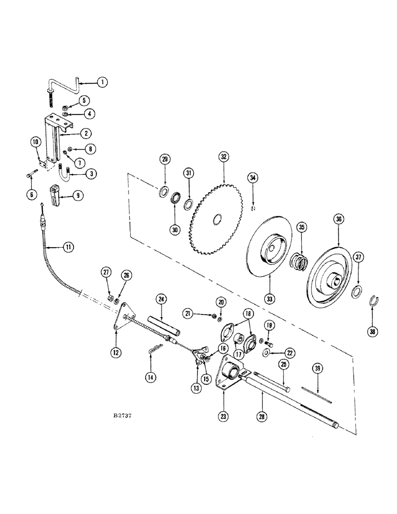
1
23
13
4
30
36
26
20
32
10
12
37
14
11
21
19
16
33
3
7
38
8
34
18
9
39
6
27
17
31
28
15
22
2
25
5
29
35
FIT
1:1
100%

Артикул

Название

Примечание

Количество

1

F94001

CRANK - reel speed control

1шт.

2

F94002

HOUSING - crank

1шт.

3

A22439

"U" BOLT - crank housing

1шт.

4

192-20

LOCK WASHER,Helical Spring, 0.318" ID, CST, ZND

WASHER, LOCK, 5/16"

2шт.

5

7770

NUT,Hex, 1/4 - 20, Cl 5

- 5/16" N.C. hex.

2шт.

6

113-5

BOLT,Hex, 1/4" - 20 x 1-1/2", Gr 5

Hex, 1/4"- 20 x 1 1/2", G5

2шт.

7

192-19

LOCK WASHER,Helical Spring, 0.256" ID, CST, ZND

WASHER, LOCK, 1/4"

2шт.

8

7770

NUT,Hex, 1/4 - 20, Cl 5

1/4"-20, G5

2шт.

9

F87371

CLEVIS AND NUT - cable hook up

1шт.

10

F13538

SPACER - control cable

2шт.

11

F22545

CABLE - control

1шт.

12

F13528

SCREW

PLATE - mounting, control cable

1шт.

13

F13527

SCREW

BRACKET - cable hook up

1шт.

14

136-6

HAIRPIN - cotter, control cable

1шт.

15

129-540

NUT,Jam, 1/2"-13, G5, LH

- 1/2" N.C. hex. jam

1шт.

16

192-23

LOCK WASHER,1/2"

WASHER, LOCK, 1/2"

1шт.

17

K3380

BEARING

1шт.

18

F13526

FLANGED BEARING

FLANGETTE - bearing

2шт.

19

111-102

CARRIAGE BOLT,Short NK, 1/4"-20 x 5/8", G2

BOLT - 1/4" x 5/8" rhd. sq. nk.

2шт.

20

192-19

LOCK WASHER,Helical Spring, 0.256" ID, CST, ZND

WASHER, LOCK, 1/4"

2шт.

21

7770

NUT,Hex, 1/4 - 20, Cl 5

1/4"-20, G5

2шт.

22

195-106

WASHER,1/2"

- flat 1/2"

1шт.

23

F94000

BRACKET - jackshaft bearing support, L.H. inner

1шт.

24

F61089

SPACER - bearing brackets

3шт.

25

113-231

BOLT - 3/8" x 6" N.C. hex.

3шт.

26

192-21

LOCK WASHER,3/8"

WASHER, LOCK, 3/8"

3шт.

27

129-103

NUT,Hex, 3/8" - 16, Gr 5

NUT, 3/8"-16, G5

3шт.

28

F22541

JACKSHAFT - reel drive

1шт.

29

F51909

WASHER - thrust, jackshaft

1шт.

30

G13609

THRUST BEARING,25.4mm ID x 39.67mm OD x 1.98mm W

BEARING, THRUST, Jackshaft

1шт.

31

F51641

WASHER

- thrust, jackshaft

1шт.

32

F84649

SPROCKET - (60T) reel drive, driven

1шт.

33

F1572

SHEAVE HALF - (Ref. only - not part of att.)

1шт.

34

219-1

LUBE NIPPLE,1/8" - 27 NPTF

FITTING - grease, 1/8" straight

1шт.

35

F21925

SPRING - reel drive sheaves

1шт.

36

F1313

SHEAVE

HALF - reel drive (Ref. only - not part of att.)

1шт.

37

F62073

WASHER

- jackshaft

1шт.

38

A26949

RING, SNAP

SNAP RING - jackshaft

1шт.

39

F21923

KEY

- drive, Serial Range: sheaves-jackshaft

1шт.

Выбрано товаров: 39