Запчасти Case IH 660 (342) - DISTRIBUTOR IGNITION

Схема запчастей Case IH 660 - (342) - DISTRIBUTOR IGNITION
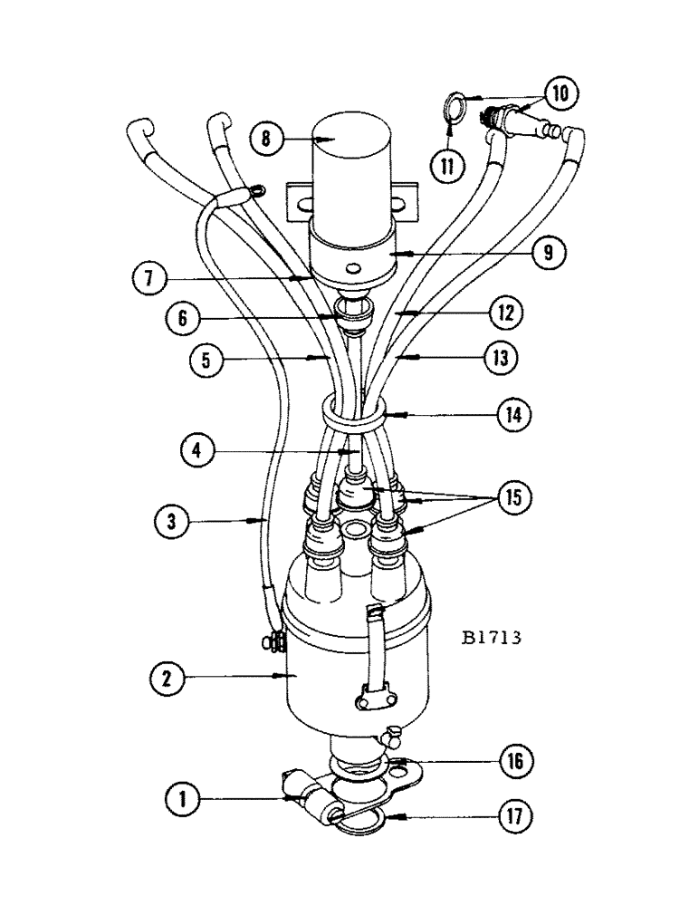
6
10
1
4
14
2
12
8
17
16
15
3
13
7
5
11
9
FIT
1:1
100%

Артикул

Название

Примечание

Количество

1

A29989

ARM

- advance

1шт.

13-48

BOLT,Hex, 1/4" - 20 x 1/2", Gr 5

1шт.

92-4

LOCK WASHER,1/4"

WASHER, LOCK, 1/4"

1шт.

2

A30358

DISTRIBUTOR

1шт.

3

G13085

ELECTRICAL WIRE

WIRE - distributor to coil (12")

1шт.

4

G44085

CABLE -, Serial Range: coil-distributor

1шт.

5

G44045

WIRE - spark plug #4

1шт.

6

G46803

BOOT

NIPPLE - rubber, coil to distributor cable (Coil end)

1шт.

7

A29994

CABLE

WIRE - spark plug #3

1шт.

8

A33438

COIL

- ignition

1шт.

9

G46106

BRACKET

CLAMP - coil

1шт.

14-512

BOLT,Hex, 5/16" - 24 x 3/4", Gr 5, Full Thd

2шт.

193-513

SCREW,SEMS, Hex Hd, 5/16"-18 x 1/2"

LOCKWASHER - 5/16" Shakeproof int. (Coil to block)

2шт.

10

G44840

SPARK PLUG

4шт.

11

G46839

GASKET

1шт.

12

A29994

CABLE

WIRE - spark plug #2

1шт.

13

G44044

ELECTRICAL WIRE

WIRE - spark plug #1

1шт.

14

A30109

WASHER

- rubber harness, spark plug wires

1шт.

15

A29338

COVER

NIPPLE -, Serial Range: cable-distributor

5шт.

16

A30080

THRUST WASHER

- thrust, advance arm

1шт.

17

A29456

O-RING,0.139" Thk x 1.046" ID, -215, Cl 5, 75 Duro

- distributor seal

1шт.

Выбрано товаров: 21