Запчасти Case IH 660 (348) - ELECTRICAL SYSTEM, DIESEL ENGINE, EQUIPPED WITH GENERATOR

Схема запчастей Case IH 660 - (348) - ELECTRICAL SYSTEM, DIESEL ENGINE, EQUIPPED WITH GENERATOR
8
23
22
33
30
27
20
17
4
28
1
7
10
14
19
12
28
6
36
3
21
15
32
29
11
26
5
31
30
35
18
13
2
9
24
34
16
25
FIT
1:1
100%

Артикул

Название

Примечание

Количество

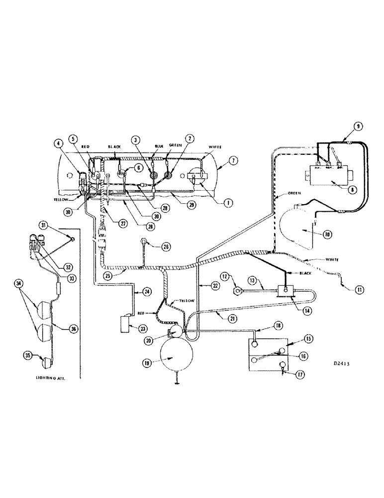
1

F82423

GAUGE - temperature

1шт.

2

F84181

LIGHT - generator indicator

1шт.

3

F82422

LIGHT - oil pressure warning

1шт.

4

A7935

SWITCH

- ignition

1шт.

A7819

KNOB

- (Not shown)

1шт.

5

A30858

SWITCH

STARTING SWITCH - push button type

1шт.

O10463AB

BOOT

- (Rubber) (Not shown)

1шт.

6

A30858

SWITCH

- heater, push button

1шт.

O10463AB

BOOT

- (Rubber) (Not shown)

1шт.

7

F22375

PANEL - instrument (Replaces F21637 when stocks are exhausted)

1шт.

7

F21637

PANEL - instrument (Replaced by F22375 when stocks are exhausted)

1шт.

8

A41464

REGULATOR

- voltage (Delco-Remy #119270)

1шт.

*

BOLT - 1/4" x 1-1/2" N.F. hex (14-424) nut (25-114)

4шт.

9

F21705

WIRE -, Serial Range: generator-regulator

2шт.

10

D27034

GENERATOR

- (Delco-Remy #1100404)

1шт.

*

BOLT - 5/16" x 3/4" N.C. hex (13-512) L.W. (92-5) and fl. wshr. (95-5)

1шт.

*

BOLT - 5/16" x 1" N.C. hex (13-516) L.W. (92-5)

2шт.

10

103814A1R

REMAN-GENERATOR

Generator

1шт.

10

103814A1C

CORE-GENERATOR

Return Number

1шт.

11

F21200

TRANSMITTER

UNIT - temperature sending

1шт.

*

BUSHING - 1/2" x 1/8" P.T. (221-54)

1шт.

12

A37775

HEATER

- manifold (Replaces A24396)

1шт.

*

NUT - 1/4" N.C. hex (129-101)

1шт.

13

A21483

CABLE

- heater solenoid to manifold heater

1шт.

*

NUT - 1/4" N.C. hex (129-101)

1шт.

14

A57069

SOLENOID

- heater switch (Replaces A21481)

1шт.

*

BOLT - 1/4" x 1/2" N.C. hex (113-1) L.W. (193-60)

2шт.

15

F53478

DRY BATTERY

- 6 volt

2шт.

16

A7440

CABLE

- jumper, Serial Range: battery-battery

1шт.

17

F21064

ELECTRICAL WIRE

CABLE - battery ground

1шт.

18

F21065

CABLE - battery to starter solenoid

1шт.

*

NUT - 3/8" N.C. jam (129-143) L.W. (192-21)

1шт.

19

A36583

STARTER MOTOR

STARTING MOTOR - (Delco-Remy #1107583)

1шт.

*

BOLT - 3/8" x 2" N.C. hex (13-632) L.W. (92-6)

3шт.

20

G44891

SOLENOID

- starting motor (Delco-Remy #1114289)

1шт.

21

A36896

CABLE PULLING GRIP

CABLE - starter solenoid to heater solenoid

1шт.

22

F21266

CABLE - starter, Serial Range: solenoid-regulator

1шт.

23

L11122

FUEL PUMP

PUMP - electric fuel (NOTE: On combines prior to #8314001, also use F91844 line kit)

1шт.

24

F22387

CABLE - fuel pump to ignition switch

1шт.

25

F21504

HARNESS - wire, engine portion

1шт.

*

WHITE WIRE - temperature sending unit

1шт.

*

GREEN WIRE - voltage regulator

1шт.

*

BLACK WIRE - heater switch solenoid

1шт.

*

YELLOW WIRE - battery - starter solenoid/generator light

1шт.

*

RED WIRE - starter solenoid

1шт.

*

BLUE WIRE - oil pressure sending unit

1шт.

26

F19683

UNIT - oil pressure sending

1шт.

27

F21641

HARNESS - wire, instrument panel end

1шт.

*

WHITE WIRE - temperature gauge

1шт.

*

GREEN WIRE - generator indicator light

1шт.

*

BLACK WIRE - heater switch

1шт.

*

YELLOW WIRE - ignition switch

1шт.

*

RED WIRE - starter switch

1шт.

*

BLUE WIRE - oil pressure indicator light

1шт.

28

F22268

CABLE - ignition switch to oil pressure light and generator light

2шт.

29

F21640

CABLE - ignition switch to temperature gauge

1шт.

30

F10793

CABLE - ignition switch to starter switch and heater switch

2шт.

31

A24087

LAMP BASE

LAMP - dash (12 volt)

1шт.

*

SCREW - #6-32 x 5/16" rhd. self tapping (187-1007)

2шт.

A22349

BULB

- (Mfg. #1445)

1шт.

32

A10942

KIT

SWITCH - light

1шт.

A7817

KNOB

- (Not shown)

1шт.

33

F18726

CABLE

WIRE - (12" long) starter, Serial Range: switch-lights

1шт.

34

F82077

LAMP BASE

LAMP - head (12-16 volt, 35 watt)

2шт.

*

NUT - 1/2" N.C. hex (129-105) L.W. (192-23)

2шт.

F21933

BRACKET - head lamp (Not shown)

2шт.

*

BOLT - 3/8" x 3/4" rhd. sq. nk. (111-340) nut (129-103)

2шт.

35

A20965

LAMP BASE

LAMP - combination flood and tail

1шт.

*

NUT - 1/2" N.C. hex (129-105) L.W. (192-23)

1шт.

F21933

BRACKET - tail lamp (Not shown)

1шт.

*

BOLT - 3/8" x 3/4" rhd. sq. nk. (111-340) nut (129-103)

1шт.

36

F21934

HARNESS - wire (Replaced by F22342 when exhausted)

1шт.

F19785

NIPPLE, LUBE

NIPPLE - wire harness

1шт.

F53322

GROMMET - wire harness

2шт.

Выбрано товаров: 74