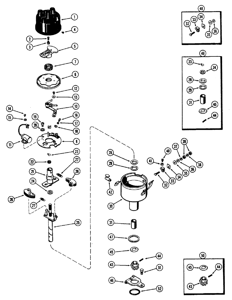
Запчасти Case IH 660 (416) - DISTRIBUTOR, 201 SPARK IGNITION ENGINE

Схема запчастей Case IH 660 - (416) - DISTRIBUTOR, 201 SPARK IGNITION ENGINE
23
22
19
4
26
28
37
36
43
45
10
18
7
35
43
44
12
17
38
14
5
13
32
40
6
46
44
29
34
45
52
39
27
11
21
15
24
51
47
23
49
36
29
16
3
28
30
2
34
48
24
1
8
41
32
26
27
33
31
33
45
50
20
25
44
35
42
31
FIT
1:1
100%

Артикул

Название

Примечание

Количество

A30358

DISTRIBUTOR

ASSY. - (Auto-Lite #IAD 6003-2F)

1шт.

1

A8368

CAP

ASSY.

1шт.

2

NSS

NOT SOLD SEPARAT

SPRING - contact

1шт.

3

NSS

NOT SOLD SEPARAT

CONTACT - Hi-tension (Carbon)

1шт.

4

NSS

NOT SOLD SEPARAT

PLUG - vent hole (Rubber)

1шт.

5

A8369

ROTOR

1шт.

6

A25194

PLATE

COVER - breaker plate, w/dust seal

1шт.

7

NSS

NOT SOLD SEPARAT

SEAL - dust, felt

1шт.

8

A25196

PLATE

- breaker

1шт.

A40929

KIT

- points and condenser

1шт.

10

NSS

NOT SOLD SEPARAT

POINT SET - (Order A40929)

1шт.

11

NSS

NOT SOLD SEPARAT

CONDENSER - (ORDER A40929)

1шт.

12

192-6

LOCK WASHER,#8

WASHER, LOCK, #8

1шт.

13

177-72

SCREW - contact (#8-32 x 3/16" fill. hd.)

1шт.

14

177-56

SCREW - condenser (#6-32 x 3/16" fill. hd.)

1шт.

15

192-5

LOCK WASHER,#6

WASHER, LOCK, #6

1шт.

16

171-216

SCREW,Sl Flat Hd, #6 - 32 x 5/16"

- condenser lead (#6-32 x 5/16" spec. hd.)

1шт.

17

192-5

LOCK WASHER,#6

WASHER, LOCK, #6

1шт.

18

195-6

WASHER,#6

- ( small flat) #6

1шт.

19

177-94

SCREW,Sl Fil Hd, #10 - 32 x 5/16"

- breaker plate (#10-32 x 5/16" fill. hd.)

2шт.

20

193-26

LOCK WASHER,Int Tooth, #10

WASHER, LOCK, Int Tooth, #10

2шт.

21

A25193

CAM

ASSY.

1шт.

22

NSS

NOT SOLD SEPARAT

WICK - oiler

1шт.

23

A25180

RING, SNAP

RING - snap (See A40322)

1шт.

24

NSS

NOT SOLD SEPARAT

SPACER - cam (Order A40322)

1шт.

25

A25177

SHAFT

- drive

1шт.

26

A25198

WEIGHT

- governor

2шт.

27

A25199

SPRING KIT

SPRING - governor weight (Set of 2)

1шт.

28

A24752

WASHER

- thrust, inner (see A40322)

1шт.

29

A24753

WASHER

- thrust, outer (See A40322)

1шт.

30

NSS

NOT SOLD SEPARAT

BASE ASSY. - (Order A30358)

1шт.

31

A24766

BUSHING

BEARING - drive shaft (See A40322)

2шт.

32

NSS

NOT SOLD SEPARAT

CONTACT - lo-tension terminal (Order A40321)

1шт.

33

NSS

NOT SOLD SEPARAT

CONNECTOR - lo-tension (Order A40321)

1шт.

34

NSS

NOT SOLD SEPARAT

INSULATION - inner (Order A40321)

1шт.

35

NSS

NOT SOLD SEPARAT

BUSHING - insulator (Order A40321)

1шт.

36

NSS

NOT SOLD SEPARAT

INSULATION - contact outer (Order A40321)

1шт.

37

195-5

WASHER

- (#10 plain)

1шт.

38

92-3

LOCK WASHER,#10

WASHER, LOCK, #10

1шт.

39

129-27

NUT,Hex, #10 - 32

- ( hex) #10-32

2шт.

40

174-56

SCREW - connector (#6-32 x 3/16" rd. hd.)

1шт.

41

192-5

LOCK WASHER,#6

WASHER, LOCK, #6

1шт.

42

A24887

OILER - drive shaft

1шт.

43

NSS

NOT SOLD SEPARAT

GEAR - drive (Order A40323)

1шт.

44

138-56

LOCK PIN,1/8" x 11/16", Slotted

PIN, 1/8" x 11/16", Slotted

1шт.

45

A25200

WASHER

- thrust, gear (See A40322 and A40323)

1шт.

46

A29989

ARM

- advance

1шт.

47

A30080

THRUST WASHER

- thrust, advance arm

1шт.

48

A40321

KIT

- terminal stud (Incl. items 32 thru 36)

1шт.

49

A40322

KIT

- shaft bearing (Incl. items 23, 24, 28, 29, 31, 44 & 45)

1шт.

50

A40323

GEAR

KIT - gear (Incl. items 43 thru 45)

1шт.

51

113-1

BOLT,Hex, 1/4" - 20 x 1/2", Gr 5

1шт.

52

192-19

LOCK WASHER,Helical Spring, 0.256" ID, CST, ZND

WASHER, LOCK, 1/4"

1шт.

53

A29456

O-RING,0.139" Thk x 1.046" ID, -215, Cl 5, 75 Duro

"O" RING - distributor to block (1-1/16 x 1-5/16 x 1/8")

1шт.

Выбрано товаров: 0