Запчасти Case IH 660 (158) - GRAIN BIN DISCHARGE AUGER

Схема запчастей Case IH 660 - (158) - GRAIN BIN DISCHARGE AUGER
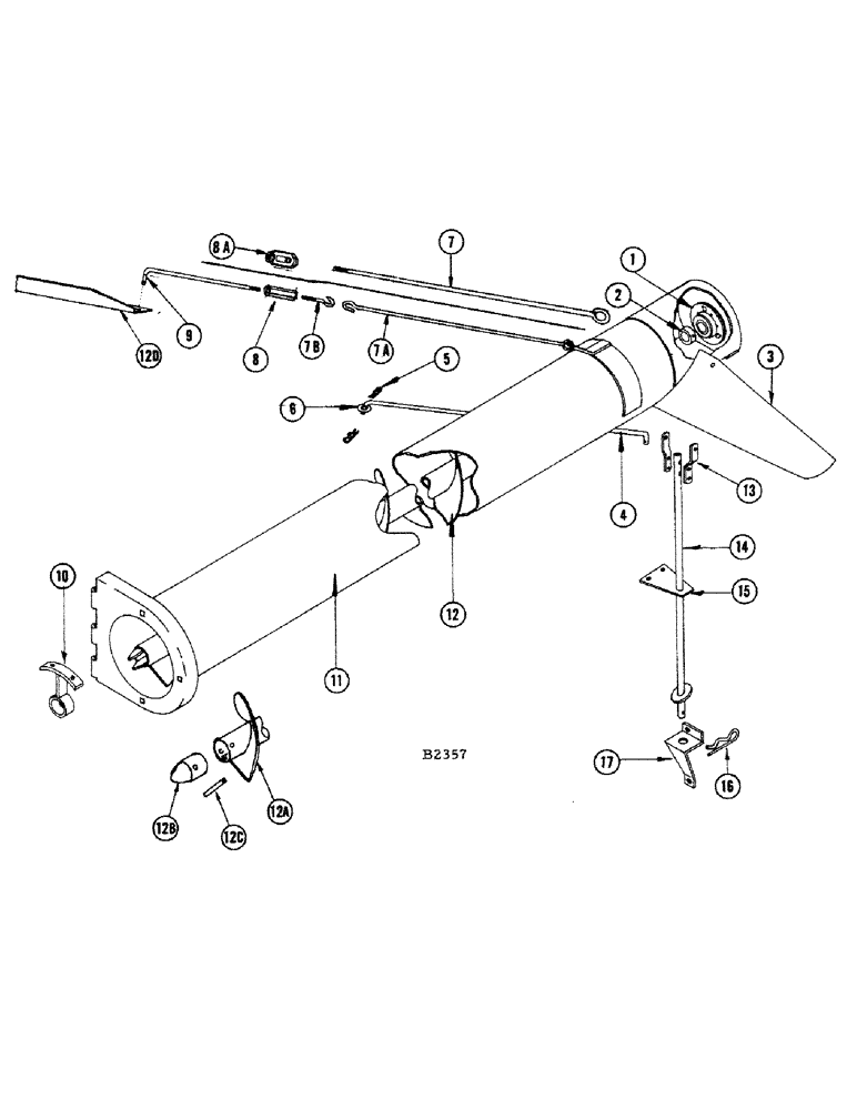
15
12c
17
5
11
2
16
13
8a
1
7a
12d
6
4
8
14
7
12
12b
9
3
7b
10
12a
FIT
1:1
100%

Артикул

Название

Примечание

Количество

1

F78749

COLLAR

BEARING - auger, upper end

1шт.

2

F52076

COLLAR

1шт.

11-512

SCREW,Short Nk, 5/16" - 18 x 3/4", Gr 2

BOLT, CARRIAGE, , Nut and lockwasher Short NK, 5/16"-18 x 3/4", G2

3шт.

3

F40654

SPOUT - discharge

1шт.

14-616

BOLT,Hex, 3/8" - 24 x 1", Gr 5

- 3/8" x 1" N.F. hex

2шт.

25-116

NUT,Hex, 3/8"-24, G5

- 3/8" N.F. hex

4шт.

4

F21541

ROD - auger transport support (Grain combine)

1шт.

4

F21542

ROD - auger transport support (660 special)

1шт.

132-46

COTTER PIN,1/8" x 3/4"

Pin, Split (Cotter), 1/8" x 3/4"

1шт.

4a

F21245

CLIP - rod

1шт.

5

TB10698

COTTER - hairpin, transport rod

2шт.

6

195-37

WASHER,9/16"

- flat, 9/16"

1шт.

7

F17087

ROD - hook (Deplete then use F22396 and F22397)

1шт.

7a

F22397

ROD - hook (See F17087)

1шт.

7b

F22396

HOOK - rod (See F17087)

1шт.

8

F22267

TURNBUCKLE

- (See F1461)

1шт.

8a

F1461

TURNBUCKLE

- (Deplete then use F22267)

1шт.

9

F21070

ROD - hook, auger brace (Grain combine)

1шт.

9

F20259

ROD - hook, auger brace (660 special)

1шт.

25-146

JAM NUT,Jam, 3/8"-16, G5

- 3/8" N.C. hex jam

1шт.

132-46

COTTER PIN,1/8" x 3/4"

Pin, Split (Cotter), 1/8" x 3/4"

1шт.

195-25

WASHER,3/8"

- flat, 3/8"

1шт.

10

F94391

BEARING - center, lower end

1шт.

14-512

BOLT,Hex, 5/16" - 24 x 3/4", Gr 5, Full Thd

2шт.

25-115

NUT,5/16"-24, G5

- 5/16" NF hex

2шт.

92-5

LOCK WASHER,5/16"

2шт.

11

F84440

TUBE - discharge (Grain combine) (Manual fold)

1шт.

11

F94393

TUBE - discharge (Grain combine) (Hydraulic fold) 20.31, 27.25" L

1шт.

11

F84444

TUBE - discharge (660 special) (Manual fold)

1шт.

11

F94406

TUBE - discharge (660 special) (Hydraulic fold)

1шт.

12

F85579

AUGER - grain bin (Before #8357001)

1шт.

12

F83364

AUGER - (660 special) (Before #8357001)

1шт.

12a

F94232

AUGER - (Grain combine) (#8357001 and after)

1шт.

12a

F94234

AUGER - (660 special) (#8357001 and after)

1шт.

12b

F22752

PLOW BOLT

PIN - auger drive (#8357001 and after)

1шт.

12c

138-208

LOCK PIN,1/2" x 2 1/2", Slotted

PIN, (#8357001 and after) 1/2" x 2 1/2", Slotted

1шт.

12d

F20465

SUPPORT - tube (660 special combine)

1шт.

AUGER BRACE - 660 SPECIAL COMBINE BEFORE NO. 8334601

1шт.

13

F18382

CLIP, auger brace - 660 special combine before number 8334601

1шт.

14

F82311

BRACE, auger brace - 660 special combine before number 8334601

1шт.

15

F18381

BRACKET - center, support brace, auger - 660 special combine before number 8334601

1шт.

16

T25682

SPLIT PIN

COTTER - hair pin, auger brace - 660 special combine before number 8334601

1шт.

17

F18383

BRACKET - support, auger brace, 660 special combine before number 8334601

1шт.

Выбрано товаров: 43