Запчасти Case IH 960 (210[1]) - FLASHER WARNING LAMP NO. 8311400 AND AFTER (55) - ELECTRICAL SYSTEMS

Схема запчастей Case IH 960 - (210[1]) - FLASHER WARNING LAMP NO. 8311400 AND AFTER (55) - ELECTRICAL SYSTEMS
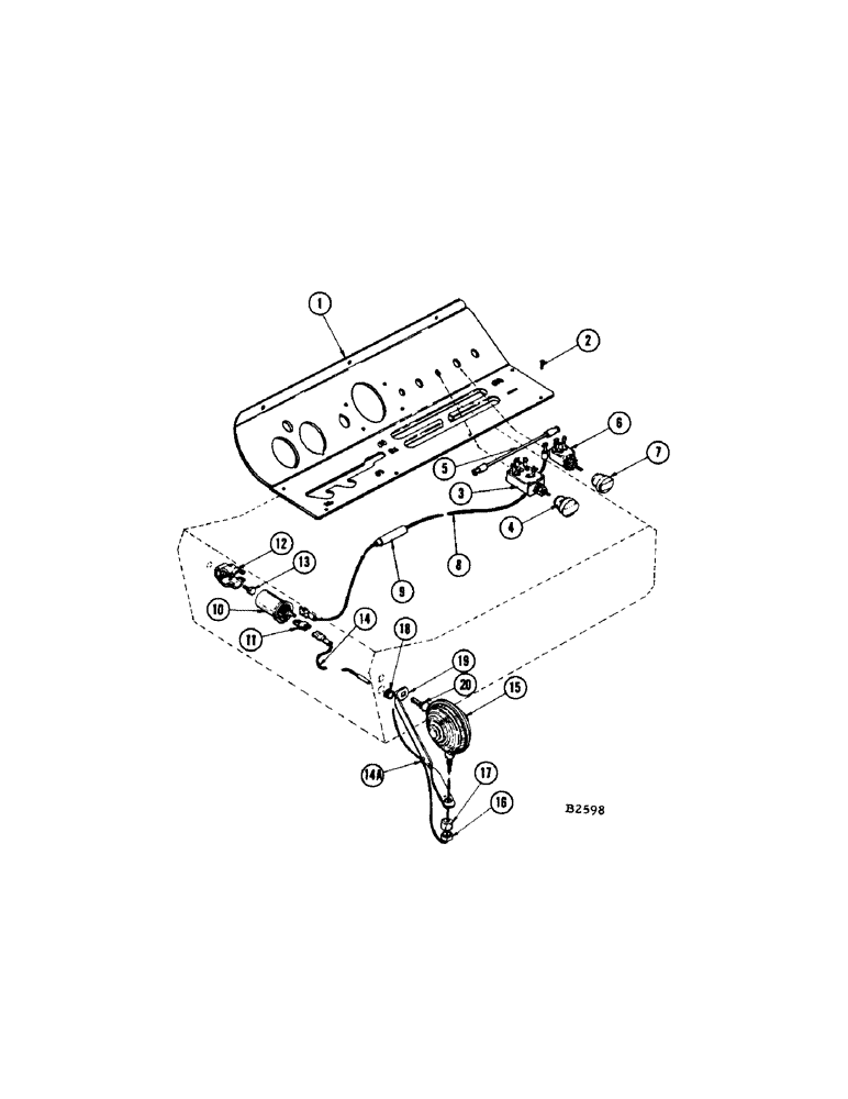
13
2
11
7
5
14
15
16
17
20
3
10
14a
19
4
8
1
6
18
9
12
FIT
1:1
100%

Артикул

Название

Примечание

Количество

BOLT - 1/2" x 1" N.F. hex. (14-816) Nut (25-118) L.W. (92-8)

1шт.

1

F22380

PANEL - instrument

1шт.

2

187-1027

SCREW - #10 x 3/8" tr. hd. Phillips self tapping

1шт.

3

F91864

SWITCH

- ignition and starter

1шт.

4

F13869

X

KNOB - ignition and starter

1шт.

5

F22240

WIRE - starter switch to flasher switch

1шт.

6

F91851

SWITCH - flasher

1шт.

7

F22376

KNOB - flasher switch

1шт.

8

F22377

WIRE - flasher, Serial Range: switch-flasher

1шт.

9

223-9

FUSE,9 Amp, Type SFE

- 9 amp.

1шт.

10

A34867

FLASHER UNIT

FLASHER - 12 volt

1шт.

11

A34863

ADAPTER

- flasher with by-pass

1шт.

12

A34869

BRACKET

- flasher mounting

1шт.

13

114-102

BOLT,Hex, 5/16" - 24 x 3/4", Gr 5

(129-122) Nut (192-20) L.W. Hex, 5/16"-24 x 3/4", G5, Full Thd

1шт.

14

F22378

WIRE - flasher to flasher lamp

1шт.

14a

214-1102

CLIP

- Tinnerman

6шт.

15

A34853

LAMP

- flasher

1шт.

16

129-125

NUT,1/2"-20, G5

1шт.

17

129-165

JAM NUT,Jam, 1/2"-20, G5

1шт.

18

A27338

GROMMET

- rubber

1шт.

19

F22379

BRACKET - lamp mounting

1шт.

20

111-317

CARRIAGE BOLT,Short NK, 3/8"-16 x 1", G2

BOLT, CARRIAGE, (129-103) Nut (192-21) Short NK, 3/8"-16 x 1", G2

1шт.

Выбрано товаров: 22