Запчасти Case IH 960 (024) - HYDRAULIC REEL LIFT ATTACHMENT (58) - ATTACHMENTS/HEADERS

Схема запчастей Case IH 960 - (024) - HYDRAULIC REEL LIFT ATTACHMENT (58) - ATTACHMENTS/HEADERS
37
12
43
24a
32
35
20
23
14
39
1
4
2
40
21
11
8
34
16
13
6
29
3
17
41
42
9
24
38
5
15
18
25
10a
24b
28
22
31
10
39
27
19
30
36
26
7
FIT
1:1
100%

Артикул

Название

Примечание

Количество

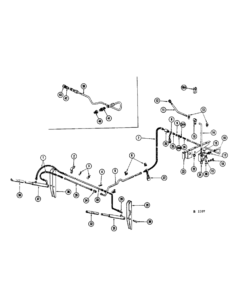
1

F12397

HOSE - reel lift cylinders (2) R.H. and (1) L.H.

3шт.

2

F12399

CLAMP - for R.H. cylinder hoses

1шт.

BOLT - 1/4" x 3/4" N.F. hex. (114-5) Nut (129-121)

2шт.

LOCKWASHER - 1/4" (192-19)

2шт.

3

F12067

CLIP - (Double) for R.H. cylinder lines

3шт.

BOLT - 1/4" x 3/4" N.F. hex. (114-5) Nut (129-121)

3шт.

LOCKWASHER - 1/4" (192-19)

3шт.

4

F9263

CLIP - for cylinder to cylinder lines

2шт.

BOLT - 1/4" x 3/4" N.F. hex. (114-5) Nut (129-121)

2шт.

LOCKWASHER - 1/4" (192-19)

2шт.

5

F83763

LINE - hydraulic, coupler hose to R.H. reel cylinder line (Includes flared nuts)

1шт.

6

F12398

CLIP - (2) for ref. 7 and (1) for ref. 5 line

3шт.

BOLT - 1/4" x 3/4" N.F. hex. (114-5) Nut (129-121)

3шт.

LOCKWASHER - 1/4" (192-19)

3шт.

7

F12397

HOSE - coupler to ref. 5 line

1шт.

8

F12393

PLUG - dust, coupler (Used only to seal lines when they are disconnected)

1шт.

10

F91843

ARM - control lever (Replaces F21584 when stocks are exhausted)

1шт.

135-340

GROOVED PIN,3/16" x 7/8", Type F

PIN - type "3" grooved 3/16" x 7/8"

1шт.

10a

F21584

ARM - control lever (Replaced by F91843 when stocks are exhausted)

1шт.

135-54

ROLL PIN

PIN - type "A" Driv-Loc 3/16" x 1"

1шт.

11

F20791

LEVER - control

1шт.

12

F5301

KNOB - for ref. 11 lever

1шт.

13

F1680

BEARING - control lever

2шт.

BOLT - 1/4" x 3/4" N.F. hex. (114-5) Nut (129-121)

4шт.

LOCKWASHER - 1/4" (192-19)

4шт.

14

F20793

ROD - control valve

1шт.

132-46

COTTER PIN,1/8" x 3/4"

Pin, Split (Cotter), 1/8" x 3/4"

1шт.

195-525

WASHER,3/8", SAE

1шт.

15

141-4

CLEVIS PIN,3/8" x 1.060"

PIN, CLEVIS, , Control rod to valve 3/8" x 1.060"

1шт.

132-26

COTTER PIN

Pin, Split (Cotter), 3/32" x 3/4"

1шт.

16

F91757

LINE - hydraulic (1/2" O.D.) valve to coupler (See ref. 39)

1шт.

17

218-444

HYD CONNECTOR,3/4" - 16 Male JIC x 3/8" - 18 Male NPTF

FITTING - 1/2" x 3/8" conn. (Parker #8 FTX-1S) Before #8358001

1шт.

18

F8222

O-RING,0.07" Thk x 0.739" ID, -18, Cl 6, 90 Duro

"O" RING - valve body

10шт.

19

F12260

PLATE - orifice, valve

1шт.

20

F8245

RETAINER - orifice plate, valve

1шт.

21

F77045

VALVE - hydraulic (See F87262 valve assembly)

1шт.

BOLT - 5/16" x 6-1/2" N.C. hex. (13-5104) L.W. (92-5)

3шт.

22

F8220

O-RING,0.103" Thk x 1.487" ID, -128, Cl 5, 75 Duro

"O" RING - valve body

1шт.

23

F84573

BRACKET - mounting, hydraulic valve, R.H.

1шт.

BOLT - 5/16" x 5/8" N.C. rhd. sq. nk. (111-217)

8шт.

NUT - 5/16" (129-102) L.W. (192-20)

8шт.

BOLT - 1/2" x 2" N.F. hex (114-410) Nut (129-125)

1шт.

LOCKWASHER - 1/2" (192-23)

1шт.

BOLT - 3/8" x 5/8" N.C. hex. (113-205) L.W. (193-21)

3шт.

24

218-674

FITTING,Blkhd, 3/4"-16, 37 Degree x 3/4"-16, 37 Degree

- union (Parker #8WTX-S)

1шт.

24a

129-168

JAM NUT,Jam, 3/4"-10, G5

- 3/4" N.F. hex. jam

1шт.

24b

192-27

LOCK WASHER,3/4"

WASHER, LOCK, 3/4"

1шт.

25

F12396

ADAPTER - coupler, valve

1шт.

26

F12394

COUPLER - self sealing

1шт.

27

F12395

CAP - dust, coupler (Used only to seal lines when they are disconnected)

1шт.

28

221-1412

ELBOW,90 Degree, 1/4"-27, NPT

reel lift cylinders 90º, 1/4"-27, NPT

2шт.

9

218-5006

O-RING,0.087" Thk x 0.644" ID, -908, Cl 6, 90 Duro

"O" RING - adapter

1шт.

Выбрано товаров: 52