Запчасти Case IH 960 (192) - OPERATORS PLATFORM (90) - PLATFORM, CAB, BODYWORK AND DECALS

Схема запчастей Case IH 960 - (192) - OPERATORS PLATFORM (90) - PLATFORM, CAB, BODYWORK AND DECALS
8
10
5
6
12
3
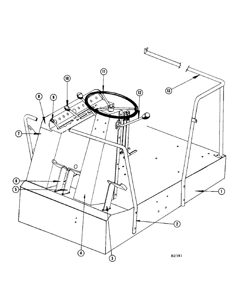
1
4
7
11
2
9
13
FIT
1:1
100%

Артикул

Название

Примечание

Количество

1

F94382

PLATFORM - operator's (Replaces F84355 when exhausted)

1шт.

F84355

PLATFORM - operator's (Replaced by F94382 when exh.)

1шт.

2

F84356

HANDRAIL - front, grain combines and special combines w/folding ladder (Replaced by F94016 when exh.)

1шт.

F94016

HANDRAIL - front, grain & special combines w/folding ladder (Replaces F84356 when exhausted)

1шт.

14-628

BOLT,Hex, 3/8" - 24 x 1-3/4", Gr 5

- 3/8" x 1-3/4" N.F. hex., nut and L.W.

2шт.

14-524

BOLT,Hex, 5/16" - 24 x 1-1/2", Gr 5

- 5/16" x 1-1/2" N.F. hex., nut and L.W.

2шт.

F94020

HANDRAIL - front, 960 special w/stationary ladder (Replaces F84516 when stocks are exhausted)

1шт.

F84516

HANDRAIL - front, 960 special w/stationary ladder (Replaced by F94020 when exh.)

1шт.

14-628

BOLT,Hex, 3/8" - 24 x 1-3/4", Gr 5

- 3/8" x 1-3/4" N.F. hex., nut and L.W.

4шт.

14-524

BOLT,Hex, 5/16" - 24 x 1-1/2", Gr 5

- 5/16" x 1-1/2" N.F. hex., nut and L.W.

2шт.

3

F82424

PEDAL - clutch

1шт.

14-620

BOLT,Hex, 3/8" - 24 x 1-1/4", Gr 5

- 3/8" x 1-1/4" N.F. hex., nut and L.W.

2шт.

4

F84371

COLUMN - solid steering shaft (Before #8358001)

1шт.

F94389

COLUMN - adjustable steering shaft (Replaces F84374 when stocks are exhausted)

1шт.

F84374

COLUMN - adjustable steering shaft (Replaced by F94389 when stocks are exhausted)

1шт.

14-512

BOLT,Hex, 5/16" - 24 x 3/4", Gr 5, Full Thd

Nut and L.W. Hex, 5/16"-24 x 3/4", G5, Full Thd

6шт.

5

F82425

PEDAL - L.H. brake

1шт.

14-620

BOLT,Hex, 3/8" - 24 x 1-1/4", Gr 5

- 3/8" x 1-1/4" N.F. hex., nut and L.W.

2шт.

6

F82426

PEDAL - R.H. brake

1шт.

14-620

BOLT,Hex, 3/8" - 24 x 1-1/4", Gr 5

- 3/8" x 1-1/4" N.F. hex., nut and L.W.

2шт.

7

F84367

CONSOLE - instrument

1шт.

F22054

SEAL -, Serial Range: console-floor

1шт.

F21637

PANEL - instrument (See page 230 - ref. 9, 9A and 32)

1шт.

187-1027

SCREW - #10 x 3/8" truss hd. type "A"

6шт.

8

F84411

HOOD - instrument panel

1шт.

187-1027

SCREW - #10 x 3/8" truss hd. type "A"

4шт.

F13009

GASKET

MOLDING

1шт.

9

F21575

CARRIAGE BOLT

LEVER - throttle

1шт.

14-424

SCREW,Hex, 1/4" - 28 x 1 1/2", Gr 5

BOLT - 1/4" x 1-1/2" N.F. hex.

1шт.

F21683

KNOB

1шт.

10

F21574

LEVER - gear shift

1шт.

13-620

BOLT,Hex, 3/8" - 16 x 1-1/4", Gr 5, Full Thd

1шт.

F5301

KNOB

1шт.

11

A7668

WHEEL

- steering

1шт.

126-121

WOODRUFF KEY,#A, 1/4" x 7/8", HT

1шт.

A8248

PLATE - steering wheel

1шт.

A8744

NUT

- steering wheel

1шт.

12

F21583

CARRIAGE BOLT

LEVER - header lift and variable speed control

2шт.

F5301

KNOB

2шт.

13

F84388

HANDRAIL - rear (Grain combine)

1шт.

F84522

HANDRAIL - rear (Special combine w/stationary ladder)

1шт.

F84387

HANDRAIL - rear (Special combine w/folding ladder)

1шт.

F83575

HANDRAIL - rear (Bagging platform)

1шт.

25-106

NUT,3/8"-16, G5

- 3/8" N.C. hex. and L.W.

2шт.

111-108

CARRIAGE BOLT,Short NK, 1/4"-20 x 3/4", G2

BOLT - 1/4" x 3/4" rhd. sq. nk., nut and L.W.

2шт.

F9197

PAD

COVER - brake pedals and clutch pedal

3шт.

Выбрано товаров: 46