Запчасти Case IH 960 (356) - ENGINE HOOD ATTACHMENT (90) - PLATFORM, CAB, BODYWORK AND DECALS

Схема запчастей Case IH 960 - (356) - ENGINE HOOD ATTACHMENT (90) - PLATFORM, CAB, BODYWORK AND DECALS
6
2
13
11a
5
1
9
11
18
14
16
4
3
15
7
8
10
17
19
12
FIT
1:1
100%

Артикул

Название

Примечание

Количество

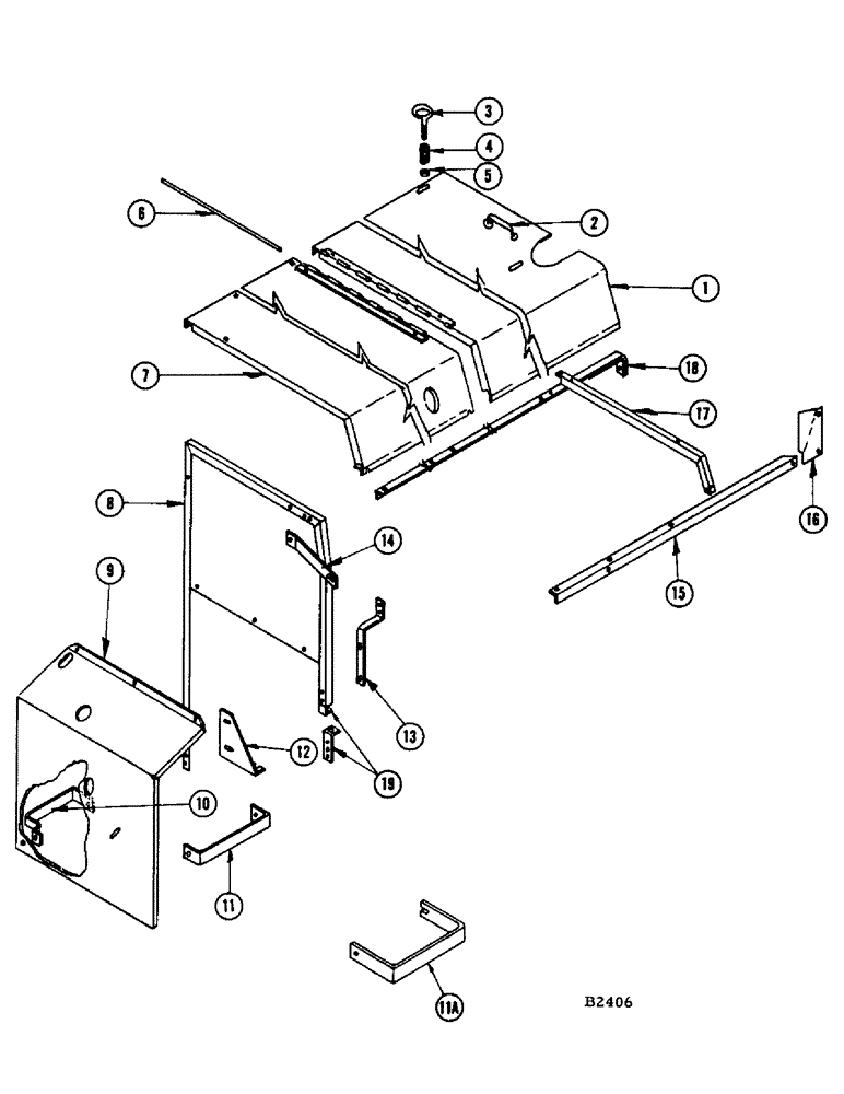
1

F84752

HOOD - hinged half

1шт.

2

228-3

HANDLE

1шт.

49-36

RIVET,Truss Hd, 3/16" x 3/8"

- 3/16" x 3/8" W.B.

2шт.

3

F19960

LATCH

2шт.

4

117EB

SPRING

2шт.

5

131-506

NUT,1/4-20

NUT - 1/4" N.C. Flexloc

2шт.

6

F20293

ROD - hinge

1шт.

7

F84751

HOOD - stationary half

1шт.

111-107

CARRIAGE BOLT,Short NK, 1/4"-20 x 1/2", G2

BOLT - 1/4" x 1/2" rhd. sq. nk., nut and L.W.

3шт.

111-222

BOLT - 5/16" x 1/2" rhd. sq. nk., nut and L.W.

1шт.

8

F84744

FIREWALL - replaced by F94300 when stock exh.

1шт.

F94300

FIREWALL - (Replaces F84744 when stock exh.)

1шт.

111-228

BOLT - 5/16" x 5/8" rhd. sq. nk., nut and L.W.

2шт.

9

F22047

SHIELD - engine drive

1шт.

114-2

BOLT,Hex, 1/4" - 28 x 1/2", Gr 5

- 1/4" x 1/2" N.F. hex., nut and L.W.

3шт.

10

F22037

BRACE - front

1шт.

14-410

SCREW,Hex, 1/4" - 28 x 5/8", Gr 5

BOLT - 1/4" x 5/8" N.F. hex., nut and L.W.

1шт.

114-2

BOLT,Hex, 1/4" - 28 x 1/2", Gr 5

- 1/4" x 1/2" N.F. hex., nut and L.W.

1шт.

11

F22048

BRACE - rear (Exh. then use F23220)

1шт.

11a

F23220

BRACE - rear (Replaces F22048 when exh.)

1шт.

13-510

BOLT,Hex, 5/16" - 18 x 5/8", Gr 5, Full Thd

Nut and L.W. Hex, 5/16"-18 x 5/8", G5, Full Thd

1шт.

114-2

BOLT,Hex, 1/4" - 28 x 1/2", Gr 5

- 1/4" x 1/2" N.F. hex., nut and L.W.

1шт.

195-518

WASHER,1/4", SAE

- 1/4" flat

1шт.

12

F22034

BRACKET - support (Replaced by F22871 when stock exh.)

1шт.

F22871

BRACKET - support (Replaces F22034 when stock exh.)

1шт.

114-2

BOLT,Hex, 1/4" - 28 x 1/2", Gr 5

- 1/4" x 1/2' N.F. hex., nut and L.W.

1шт.

14-410

SCREW,Hex, 1/4" - 28 x 5/8", Gr 5

BOLT - 1/4" x 5/8" N.F. hex., nut and L.W.

1шт.

195-518

WASHER,1/4", SAE

- 1/4" flat

1шт.

13

F22051

STRAP - firewall support (Before #8311400)

1шт.

114-2

BOLT,Hex, 1/4" - 28 x 1/2", Gr 5

- 1/4" x 1/2" N.F. hex., nut and L.W.

2шт.

14-424

SCREW,Hex, 1/4" - 28 x 1 1/2", Gr 5

BOLT - 1/4" x 1-1/2" N.F. hex., nut and L.W.

2шт.

14

F22038

BRACE - air cleaner

1шт.

114-2

BOLT,Hex, 1/4" - 28 x 1/2", Gr 5

- 1/4" x 1/2" N.F. hex., nut and L.W.

1шт.

14-514

BOLT,Hex, 5/16" - 24 x 7/8", Gr 5, Full Thd

Nut and L.W. Hex, 5/16"-24 x 7/8", G5, Full Thd

1шт.

15

F22050

ANGLE - rear support (Replaced by F22867 when stock exh.)

1шт.

F22867

PLATE

ANGLE - rear support (Replaces F22050 when stock exh.)

1шт.

14-512

BOLT,Hex, 5/16" - 24 x 3/4", Gr 5, Full Thd

Nut and L.W. Hex, 5/16"-24 x 3/4", G5, Full Thd

1шт.

16

F22031

FILLER

1шт.

114-2

BOLT,Hex, 1/4" - 28 x 1/2", Gr 5

- 1/4" x 1/2" N.F. hex., nut and L.W.

1шт.

14-512

BOLT,Hex, 5/16" - 24 x 3/4", Gr 5, Full Thd

Nut and L.W. Hex, 5/16"-24 x 3/4", G5, Full Thd

1шт.

17

F84746

RIB - support

1шт.

111-102

CARRIAGE BOLT,Short NK, 1/4"-20 x 5/8", G2

BOLT - 1/4" x 5/8" rhd. sq. nk., nut and L.W.

2шт.

18

F22049

ANGLE - front support (Replaces by F22866 when stock exh.)

1шт.

F22866

ANGLE - front support (Replaces F22049 when stock exh.)

1шт.

14-512

BOLT,Hex, 5/16" - 24 x 3/4", Gr 5, Full Thd

Nut and L.W. Hex, 5/16"-24 x 3/4", G5, Full Thd

1шт.

19

F22923

BRACKET - support engine firewall

2шт.

Выбрано товаров: 46