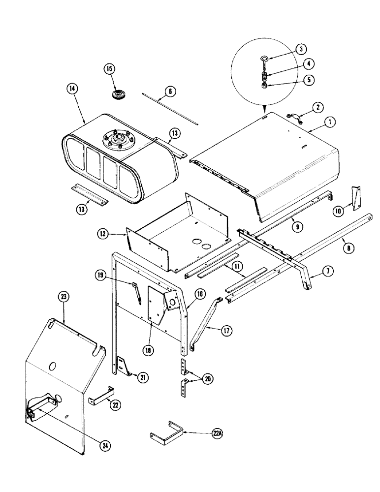
Запчасти Case IH 960 (22) - ENGINE HOOD, CONTINUED (90) - PLATFORM, CAB, BODYWORK AND DECALS

Схема запчастей Case IH 960 - (22) - ENGINE HOOD, CONTINUED (90) - PLATFORM, CAB, BODYWORK AND DECALS
22a
6
21
2
24
10
8
9
23
7
17
1
22
18
14
16
15
3
19
13
20
5
4
11
12
13
FIT
1:1
100%

Артикул

Название

Примечание

Количество

13

F22900

CLAMP

2шт.

111-108

CARRIAGE BOLT,Short NK, 1/4"-20 x 3/4", G2

BOLT - 1/4" x 3/4" rhd. sq. nk. N.C.

4шт.

92-4

LOCK WASHER,1/4"

WASHER, LOCK, 1/4"

4шт.

25-104

NUT,1/4"-20, G5

4шт.

14

F94317

OIL RESERVOIR

1шт.

F23264

STRAINER - filler neck

1шт.

15

F5922

CAP

- oil reservoir

1шт.

16

F94300

FIREWALL

1шт.

17

F22901

SUPPORT - corner frame

1шт.

111-108

CARRIAGE BOLT,Short NK, 1/4"-20 x 3/4", G2

BOLT - 1/4" x 3/4" rhd. sq. nk. N.C.

1шт.

195-18

WASHER,1/4"

- flat, SAE std. 1/4"

1шт.

92-4

LOCK WASHER,1/4"

WASHER, LOCK, 1/4"

1шт.

25-104

NUT,1/4"-20, G5

1шт.

18

F23016

BRACKET - filter

1шт.

111-102

CARRIAGE BOLT,Short NK, 1/4"-20 x 5/8", G2

BOLT - 1/4" x 5/8" rhd. sq. nk. N.C.

3шт.

92-4

LOCK WASHER,1/4"

WASHER, LOCK, 1/4"

3шт.

25-104

NUT,1/4"-20, G5

3шт.

19

F22038

BRACE - air cleaner

1шт.

114-2

BOLT,Hex, 1/4" - 28 x 1/2", Gr 5

- 1/4" x 1/2" N.F. hex., nut and L.W.

1шт.

14-514

BOLT,Hex, 5/16" - 24 x 7/8", Gr 5, Full Thd

Nut and L.W. Hex, 5/16"-24 x 7/8", G5, Full Thd

1шт.

20

F22923

BRACKET - support engine firewall

2шт.

21

F22871

BRACKET - support

1шт.

114-2

BOLT,Hex, 1/4" - 28 x 1/2", Gr 5

- 1/4" x 1/2" N.F. hex., nut and L.W.

1шт.

14-410

SCREW,Hex, 1/4" - 28 x 5/8", Gr 5

BOLT - 1/4" x 5/8" N.F. hex., nut and L.W.

1шт.

195-518

WASHER,1/4", SAE

- 1/4" flat

1шт.

22

F23015

BRACE - rear (Exh. then use F23220)

1шт.

22a

F23220

BRACE - rear (Replaces F23015 when exh.)

1шт.

13-510

BOLT,Hex, 5/16" - 18 x 5/8", Gr 5, Full Thd

Nut and L.W. Hex, 5/16"-18 x 5/8", G5, Full Thd

1шт.

114-2

BOLT,Hex, 1/4" - 28 x 1/2", Gr 5

- 1/4" x 1/2" N.F. hex., nut and L.W.

1шт.

195-518

WASHER,1/4", SAE

- 1/4" flat

1шт.

23

F23024

SHIELD - engine drive (In place of F22047) (See page 357, ref. 9, #C957 catalog)

1шт.

114-2

BOLT,Hex, 1/4" - 28 x 1/2", Gr 5

- 1/4" x 1/2" N.F. hex., nut and L.W.

3шт.

24

F22037

BRACE - front

1шт.

14-410

SCREW,Hex, 1/4" - 28 x 5/8", Gr 5

BOLT - 1/4" x 5/8" N.F. hex., nut and L.W.

1шт.

114-2

BOLT,Hex, 1/4" - 28 x 1/2", Gr 5

- 1/4" x 1/2" N.F. hex., nut and L.W.

1шт.

Выбрано товаров: 35