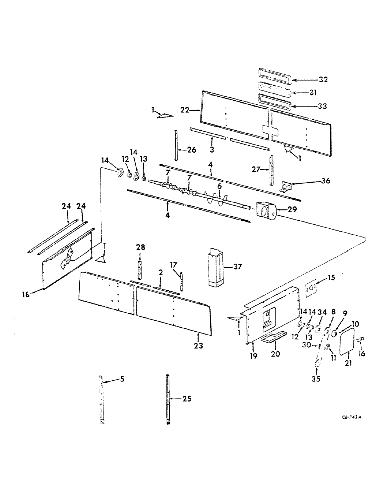
Запчасти Case IH 914 (26-06) - GRAIN TANK, GRAIN TANK EXTENSION AND DISTRIBUTOR AUGER Grain Tank

Схема запчастей Case IH 914 - (26-06) - GRAIN TANK, GRAIN TANK EXTENSION AND DISTRIBUTOR AUGER Grain Tank
4
20
14
10
12
21
32
25
36
28
16
15
6
37
33
30
8
3
31
7
14
13
11
7
26
17
27
24
29
14
24
14
35
19
16
12
34
23
1
5
2
9
1
22
4
FIT
1:1
100%

Артикул

Название

Примечание

Количество

1

160555C1

BAR, grain tank top section corner

4шт.

18673R1

CARRIAGE BOLT,Short Sq Nk, 5/16" - 18 x 1/2", Gr 2

BOLT, 5/16 x 1/2 sq-nk crg

12шт.

120376

NUT,5/16"-18, G5

12шт.

80681

LOCK WASHER,5/16"

WASHER, LOCK, 5/16"

12шт.

2

160653C1

BAR, grain tank rear top, serial no. 725 and below

1шт.

3

160656C1

BAR, grain tank front cross, serial no. 725 and below

1шт.

4

160659C1

ROD, grain tank side tie

2шт.

120378

NUT,Hex, 1/2" - 13, Gr 5

NUT, 1/2"-13, G5

4шт.

5

169767C1

ANGLE, grain rear support LH

1шт.

16897R1

CARRIAGE BOLT,Short Nk, 5/16" - 18 x 3/4", Gr 2, Full Thd

BOLT, 5/16 x 3/4 C-Z sq-nk crg

3шт.

17351R1

CARRIAGE BOLT,Short Sq Nk, 3/8" - 16 x 1", Gr 2

BOLT, 3/8 x 1 C-Z sq-nk crg

4шт.

18494R1

BOLT,Hex, 3/8" - 16 x 1", Gr 2

3/8 x 1 C-Z hex-hd mach

4шт.

120376

NUT,5/16"-18, G5

3шт.

120377

NUT,3/8" - 16, Gr 5

8шт.

80681

LOCK WASHER,5/16"

WASHER, LOCK, 5/16"

3шт.

120382

LOCK WASHER,Helical Spring, 3/8"

WASHER, LOCK, 3/8"

8шт.

6

160820C92

AUGER

ASSY, grain tank distributor

1шт.

20885R1

WASHER

1-5/32 x 2 x 16 ga C-Z

4шт.

7

162103C91

AUGER

ASSY, grain tank distributor extension

2шт.

25-147

JAM NUT,Jam, 7/16"-14, G5

7/16 C-Z hex-jam

4шт.

21228R1

SCREW, 7/16 x 3/4 C-Z sq-hd cup pt set

4шт.

8

162180C1

SPROCKET ASSY.

SPROCKET, grain tank distributor auger driven 33-T

1шт.

18474R1

BOLT,Hex, 5/16" - 18 x 1", Gr 2

5/16 x 1 C-Z hex-hd mach

4шт.

120376

NUT,5/16"-18, G5

4шт.

80681

LOCK WASHER,5/16"

WASHER, LOCK, 5/16"

4шт.

9

939279R1

HUB

grain tank distributor auger driven sprocket

1шт.

124824

NUT,Hex, 5/16" - 18

5/16 C-Z hex-jam

2шт.

102883

SET SCREW

5/16 x 3/4 sq-hd cup pt set

2шт.

10

Q53

KEY,1/4" Sq x 1", Par

1шт.

11

631905R91

SPROCKET

grain tank distributor auger drive chain tightener 17-T

1шт.

18720R1

SCREW,Short NK, 5/8"-11 x 2", G2

BOLT, 5/8 x 2 C-Z sq-nk crg

1шт.

280374

NUT,Hex, 5/8" - 11, Gr 5

5/8 C-Z hex

1шт.

492-11062

BEARING WASHER,5/8"

WASHER, LOCK, 5/8"

1шт.

589068R1

WASHER

21/32 x 1-1/4 x 11 ga C-Z

3шт.

610701R1

WASHER, 21/32 x 1-1/4 x 16 ga C-Z

1шт.

12

160796C91

BALL BEARING,25.4mm ID x 51.99mm OD x 16.56mm W

BEARING ASSY, grain tank distributor auger

2шт.

13

564853R11

COLLAR

W/SET SCREW LKG

2шт.

83-1254

SET SCREW,Hex Soc, 1/4"-20 x 1/4"

SCREW, 1/4 x 1/4 hex-soc-hd cup pt set

2шт.

14

571424R1

FLANGE

grain hopper distributor auger bearing

4шт.

16897R1

CARRIAGE BOLT,Short Nk, 5/16" - 18 x 3/4", Gr 2, Full Thd

BOLT, 5/16 x 3/4 C-Z sq-nk crg

3шт.

120376

NUT,5/16"-18, G5

3шт.

80681

LOCK WASHER,5/16"

WASHER, LOCK, 5/16"

3шт.

15

169178C1

PLATE, grain tank distribution auger brg RH

1шт.

16897R1

CARRIAGE BOLT,Short Nk, 5/16" - 18 x 3/4", Gr 2, Full Thd

BOLT, 5/16 x 3/4 C-Z sq-nk crg

2шт.

120376

NUT,5/16"-18, G5

2шт.

80681

LOCK WASHER,5/16"

WASHER, LOCK, 5/16"

2шт.

120393

BEARING WASHER,5/16", SAE

WASHER, 11/32 x 11/16 x .51 C-Z

2шт.

21789R1

WASHER

1-1/32 x 1-1/4 x 16 ga C-Z

2шт.

16

565449R1

CLIP

grain tank well cover

5шт.

12872R1

BOLT,Short NK, 5/16"-18 x 1", G2, Full Thd

CARRIAGE, Short NK, 5/16"-18 x 1", G2, Full Thd

5шт.

935736R1

NUT, WING

NUT, 5/16 wing

5шт.

80681

LOCK WASHER,5/16"

WASHER, LOCK, 5/16"

5шт.

17

160913C1

ANGLE, grain tank rear right support, special grain tank extension for 150 bushel

1шт.

16897R1

CARRIAGE BOLT,Short Nk, 5/16" - 18 x 3/4", Gr 2, Full Thd

BOLT, 5/16 x 3/4 C-Z sq-nk crg

1шт.

18508R1

CARRIAGE BOLT,Short Nk, 3/8" - 16 x 3/4", Gr 2, Full Thd

BOLT, 3/8 x 3/4 C-Z sq-nk crg

2шт.

120376

NUT,5/16"-18, G5

1шт.

120377

NUT,3/8" - 16, Gr 5

2шт.

80681

LOCK WASHER,5/16"

WASHER, LOCK, 5/16"

1шт.

120382

LOCK WASHER,Helical Spring, 3/8"

WASHER, LOCK, 3/8"

2шт.

18

160691C91

SIDE ASSY, grain tank upper left, standard grain tank extension for 120 bushel

1шт.

938017R1

FLANGE NUT,Flg, USR, 5/16"-18

5/16 C-Z flange lock

17шт.

135270

SERRATED SCREW,5/16" - 18 x 3/4"

5/16 x 1/2 C-Z slt-truss-hd

17шт.

18

160879C91

SIDE ASSY, grain tank upper left, special grain tank extension for 150 bushel

1шт.

938017R1

FLANGE NUT,Flg, USR, 5/16"-18

5/16 C-Z flange lock

21шт.

135270

SERRATED SCREW,5/16" - 18 x 3/4"

5/16 x 1/2 C-Z slt-truss hd

21шт.

19

170310C2

SIDE ASSY, grain tank upper right, standard grain tank extension for 120 bushel

1шт.

938017R1

FLANGE NUT,Flg, USR, 5/16"-18

5/16 C-Z flange lock

1шт.

477-73108

SERRATED SCREW,Sl Truss Hd, 5/16" - 18 x 1/2"

5/16 x 1/2 C-Z slt-truss hd

21шт.

19

170315C2

SIDE ASSY, grain tank upper right, special grain tank extension for 150 bushel

1шт.

938017R1

FLANGE NUT,Flg, USR, 5/16"-18

5/16 C-Z flange lock

23шт.

477-73108

SERRATED SCREW,Sl Truss Hd, 5/16" - 18 x 1/2"

5/16 x 1/2 C-Z slt-truss hd

23шт.

20

160552C1

BAR, grain tank well bottom

1шт.

938017R1

FLANGE NUT,Flg, USR, 5/16"-18

5/16 C-Z flange lock

1шт.

477-73108

SERRATED SCREW,Sl Truss Hd, 5/16" - 18 x 1/2"

5/16 x 1/2 C-Z slt-truss hd

1шт.

21

170294C1

DOOR

COVER ASSY, grain tank well

1шт.

12872R1

BOLT,Short NK, 5/16"-18 x 1", G2, Full Thd

CARRIAGE, Short NK, 5/16"-18 x 1", G2, Full Thd

5шт.

935736R1

NUT, WING

NUT, 5/16 wing

5шт.

80681

LOCK WASHER,5/16"

WASHER, LOCK, 5/16"

5шт.

22

169956C1

SIDE, grain tank upper front, standard grain tank extension for 120 bushel

1шт.

22

169966C1

SIDE, grain tank upper front, special grain tank extension for 150 bushel

1шт.

18778R1

SCREW,Hex, 3/8"-16 x 3/4", G2

BOLT, 3/8 x 3/4 C-Z hex-hd mach

4шт.

120377

NUT,3/8" - 16, Gr 5

4шт.

938017R1

FLANGE NUT,Flg, USR, 5/16"-18

5/16 C-Z flange lock

15шт.

477-73108

SERRATED SCREW,Sl Truss Hd, 5/16" - 18 x 1/2"

5/16 x 1/2 C-Z slt-truss hd

15шт.

120382

LOCK WASHER,Helical Spring, 3/8"

WASHER, LOCK, 3/8"

15шт.

23

169957C1

SIDE, grain tank upper rear, standard grain tank extension for 120 bushel

1шт.

23

169967C1

SIDE, grain tank upper rear, special grain tank extension for 150 bushel

1шт.

938017R1

FLANGE NUT,Flg, USR, 5/16"-18

5/16 C-Z flange lock

15шт.

477-73108

SERRATED SCREW,Sl Truss Hd, 5/16" - 18 x 1/2"

5/16 x 1/2 C-Z slt-truss hd

15шт.

24

160651C1

BAR, grain tank front to rear tie, special grain tank extension for 150 bushel

2шт.

18778R1

SCREW,Hex, 3/8"-16 x 3/4", G2

BOLT, 3/8 x 3/4 C-Z hex-hd mach

4шт.

120377

NUT,3/8" - 16, Gr 5

4шт.

120382

LOCK WASHER,Helical Spring, 3/8"

WASHER, LOCK, 3/8"

4шт.

25

160703C1

ANGLE, grain trank rear right support

1шт.

16897R1

CARRIAGE BOLT,Short Nk, 5/16" - 18 x 3/4", Gr 2, Full Thd

BOLT, 5/16 x 3/4 C-Z sq-nk crg

2шт.

18508R1

CARRIAGE BOLT,Short Nk, 3/8" - 16 x 3/4", Gr 2, Full Thd

BOLT, 3/8 x 3/4 C-Z sq-nk crg

3шт.

18778R1

SCREW,Hex, 3/8"-16 x 3/4", G2

BOLT, 3/8 x 3/4 C-Z hex-hd mach

4шт.

18684R1

BOLT,Sht Sq Nk, 3/8" - 16 x 1 1/4", Gr 2

3/8 x 1-1/4 C-Z sq-nk crg

1шт.

120376

NUT,5/16"-18, G5

2шт.

120377

NUT,3/8" - 16, Gr 5

8шт.

80681

LOCK WASHER,5/16"

WASHER, LOCK, 5/16"

2шт.

120382

LOCK WASHER,Helical Spring, 3/8"

WASHER, LOCK, 3/8"

8шт.

26

160661C1

SUPPORT, grain tank front left

1шт.

16897R1

CARRIAGE BOLT,Short Nk, 5/16" - 18 x 3/4", Gr 2, Full Thd

BOLT, 5/16 x 3/4 C-Z sq-nk crg

3шт.

18684R1

BOLT,Sht Sq Nk, 3/8" - 16 x 1 1/4", Gr 2

3/8 x 1-1/4 C-Z sq-nk crg

2шт.

120376

NUT,5/16"-18, G5

3шт.

120377

NUT,3/8" - 16, Gr 5

2шт.

80681

LOCK WASHER,5/16"

WASHER, LOCK, 5/16"

3шт.

120382

LOCK WASHER,Helical Spring, 3/8"

WASHER, LOCK, 3/8"

2шт.

27

160662C1

SUPPORT, grain tank front right

1шт.

16897R1

CARRIAGE BOLT,Short Nk, 5/16" - 18 x 3/4", Gr 2, Full Thd

BOLT, 5/16 x 3/4 C-Z sq-nk crg

3шт.

18684R1

BOLT,Sht Sq Nk, 3/8" - 16 x 1 1/4", Gr 2

3/8 x 1-1/4 C-Z sq-nk crg

2шт.

120376

NUT,5/16"-18, G5

3шт.

120377

NUT,3/8" - 16, Gr 5

2шт.

80681

LOCK WASHER,5/16"

WASHER, LOCK, 5/16"

3шт.

120382

LOCK WASHER,Helical Spring, 3/8"

WASHER, LOCK, 3/8"

2шт.

28

160912C1

ANGLE, grain tank rear support left, special grain tank extension for 150 bushel

1шт.

16897R1

CARRIAGE BOLT,Short Nk, 5/16" - 18 x 3/4", Gr 2, Full Thd

BOLT, 5/16 x 3/4 C-Z sq-nk crg

1шт.

18508R1

CARRIAGE BOLT,Short Nk, 3/8" - 16 x 3/4", Gr 2, Full Thd

BOLT, 3/8 X 3/4 C-Z sq-nk crg

2шт.

120376

NUT,5/16"-18, G5

1шт.

120377

NUT,3/8" - 16, Gr 5

2шт.

80681

LOCK WASHER,5/16"

WASHER, LOCK, 5/16"

1шт.

120382

LOCK WASHER,Helical Spring, 3/8"

WASHER, LOCK, 3/8"

2шт.

29

160720C91

SPOUT, DISCHARGE

SPOUT ASSY, grain elevator head, standard grain tank extension for 120 bushel

1шт.

29

160715C91

SPOUT, DISCHARGE

SPOUT ASSY, grain elevator head, special grain tank extension for 150 bushel

1шт.

18626R1

CARRIAGE BOLT,Short Sq Nk, 1/4" - 20 x 1/2", Gr 2

BOLT, 1/4 x 3/4 C-Z sq-nk crg

4шт.

120375

NUT,Hex, 1/4" - 20, Gr 5

4шт.

492-11025

LOCK WASHER,1/4"

WASHER, LOCK, 1/4"

4шт.

30

CHAIN ASSY, grain tank leveling auger drive, standard for grain tank extension 120 bushel, use 139 links from 10 ft roll marked 1719D, one connecting link 1310D and two offset links 1315D

1шт.

30

CHAIN ASSY, grain tank leveling auger drive, special grain tank extension 150 bushel, use 171 links from 10 ft roll marked 1719D, one connecting link 1310D and three offset links 1315D

1шт.

31

583404R1

GLASS, grain tank extension window

1шт.

32

169958C1

SEAL, grain tank window

1шт.

33

169959C1

SEAL, grain tank window filler

1шт.

34

SPROCKET, grain elevator drive, refer to grain elevator drive unit for listing

1шт.

35

SPROCKET, elevator drive slip clutch, refer to grain elevator drive unit for listing

1шт.

36

160707C91

CONVEYOR ASSY, grain elevator extension, special grain tank extension for 150 bushel, serial no. 897 and below

1шт.

37

160725C91

HOUSING ASSY, grain elevator extension, special grain tank extension for 150 bushel, serial no. 897 and below

1шт.

16897R1

CARRIAGE BOLT,Short Nk, 5/16" - 18 x 3/4", Gr 2, Full Thd

BOLT, 5/16 x 3/4 C-Z sq-nk crg

4шт.

120376

NUT,5/16"-18, G5

4шт.

80681

LOCK WASHER,5/16"

WASHER, LOCK, 5/16"

4шт.

Выбрано товаров: 140