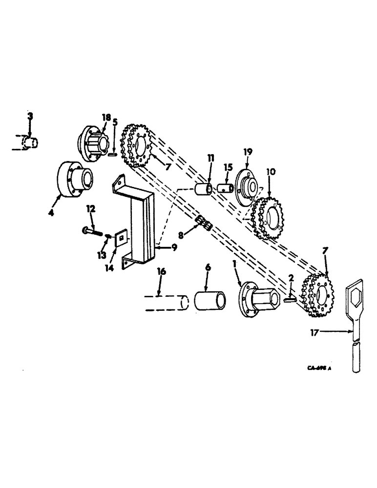
Запчасти Case IH 914 (21-12) - THRESHING CYLINDER AND CONCAVE, CYLINDER DRIVE (14) - THRESHING

Схема запчастей Case IH 914 - (21-12) - THRESHING CYLINDER AND CONCAVE, CYLINDER DRIVE (14) - THRESHING
5
16
11
3
19
13
9
7
12
4
14
7
18
15
17
1
10
8
2
6
FIT
1:1
100%

Артикул

Название

Примечание

Количество

1

160241C1

HUB

cylinder driven sprocket

1шт.

9418646

NUT,7/16"-14, G8

7/16 C-Z hex.

6шт.

23105R1

SCREW, 7/16 x 2-3/4 C-Z hex-hd cap Hex, 7/16"-14 x 2 3/4", G8

6шт.

366863R1

WASHER, 7/16 C-Z rib lock

6шт.

2

158416C1

KEY

3/8 x 4.2 sq parallel hard

1шт.

3

SHAFT ASSY, cylinder beater, refer to cylinder beater unit for listing

1шт.

4

160279C2

HUB, cylinder drive sprocket, serial no. 897 and below

1шт.

271501

SOCKET

NUT, 7/16 C-Z hex.

6шт.

23730R1

SCREW, 7/16 x 5-1/2 C-Z hex-hd cap type4

6шт.

120383

LOCK WASHER,Helical Spring, 7/16"

WASHER, LOCK, 7/16"

6шт.

5

161954C1

KEY, 1/2 x 4.2 sq parallel hard, serial no. 897 and below

1шт.

5

172303C1

KEY

1/2 x 6 sq parallel hard, serial no. 898 and above

1шт.

6

160280C1

SPACER, cyl driven sprocket hub, serial no. 897 and below

1шт.

6

172318C1

SPACER

cyl driven sprocket hub, serial no. 898 and above

1шт.

7

158418C1

DRIVE SPROCKET

SPROCKET, cylinder drive 30T

1шт.

7

158419C1

SPROCKET ASSY.

SPROCKET, cylinder drive 43T

1шт.

7

158420C1

SPROCKET, cylinder drive 54T

1шт.

7

160121C1

SPROCKET ASSY.

SPROCKET, cylinder drive 35T

1шт.

7

171133C1

SPROCKET, cylinder drive 22T

1шт.

7

158421C1

SPROCKET, cylinder drive 48T

1шт.

7

171191C1

SPROCKET, cylinder drive 25T

1шт.

7

158693C1

SPROCKET, cylinder drive 65T

1шт.

7

160122C1

SPROCKET, cylinder drive 75T

1шт.

8

CHAIN ASSY, cylinder drive, use 81 links from 10 ft roll marked 1355D, 3 connecting links 569206R91 and 2 roller links 1316D

1шт.

8

CHAIN ASSY, cylinder drive extension, use 4 roller links 1316D, 7 connecting links 569206R91 and 3 two pitch combination offset links 570988R91

1шт.

9

158410C92

SUPPORT

BRACKET ASSY, cyl drive chain tightener

1шт.

18421R1

CARRIAGE BOLT,Short Sq Nk, 7/16" - 14 x 1", Gr 2

BOLT, CARRIAGE, Short NK, 7/16"-14 x 1", G5, Full Thd

2шт.

NLS

NO LONGER SERVICED

NUT, 7/16 C-Z hex

2шт.

120383

LOCK WASHER,Helical Spring, 7/16"

WASHER, LOCK, 7/16"

2шт.

10

158417C1

GEAR

SPROCKET, cyl drive chain tightener 22T

1шт.

11

577006R91

NEEDLE BEARING,Needle, 22.2mm ID x 33.36mm OD x 38.1mm W

CYL DRIVE CHAIN TIGHTENER

1шт.

12

575280R1

BOLT (SPREADER)

BOLT, cyl drive chain tightener hub bolt, 5/8 x 3-3/4 sq-nd crg

1шт.

280374

NUT,Hex, 5/8" - 11, Gr 5

5/8 C-Z hex.

1шт.

492-11062

BEARING WASHER,5/8"

WASHER, LOCK, 5/8"

1шт.

464623R1

WASHER

21/32 x 1-1/2 x 11 ga C-Z

3шт.

579331R1

WASHER

21/32 x 2 x 3/16 hard

1шт.

13

219-31

LUBE NIPPLE,30 Degree Elbow, 1/8" - 27 NPTF

FITTING, 1/8-27 PTF 90 deg angle lub

1шт.

14

160690C1

BAR

cyl drive chain tightener sprocket bolt

1шт.

15

578607R1

SLEEVE CYLINDER

SLEEVE, cyl drive chain tightener hub

1шт.

16

SHAFT ASSY, cylinder, refer to cylinder unit for listing

1шт.

17

170432C1

IGNITION KEY

TOOL ASSY, cylinder rocking bar

1шт.

18

172300C1

HUB, cyl drive sprocket, serial no. 898 and above

1шт.

454948

BOLT,Hex, 7/16" - 14 x 2 1/2", Gr 8

7/16 x 2-1/2 znd hex-hd type 8

6шт.

9418646

NUT,7/16"-14, G8

7/16 C-Z hex. type 8

6шт.

366863C1

LOCK WASHER

WASHER, 7/16 C-Z rib lock

6шт.

131718

SHIM

7/16 C-Z int-tooth lock

6шт.

19

158413C11

HUB

cyl drive chain tightener sprocket, includes ref. no. 11

1шт.

21901R1

BOLT,Hex, 7/16" - 14 x 2", Gr 8

7/16 x 2 znp hex-hd type 8

3шт.

366863C1

LOCK WASHER

WASHER, 7/16 C-Z ribbed lock

3шт.

Выбрано товаров: 49