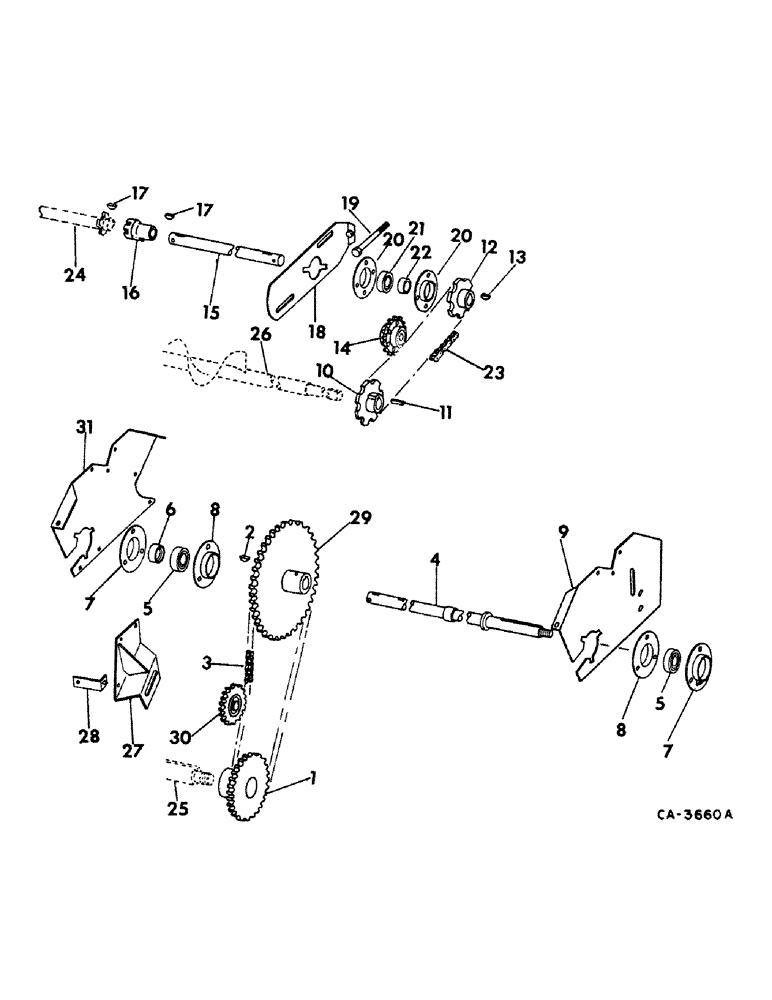
Запчасти Case IH 914 (25-4) - ELEVATORS, GRAIN ELEVATOR DRIVE Elevators

Схема запчастей Case IH 914 - (25-4) - ELEVATORS, GRAIN ELEVATOR DRIVE Elevators
28
8
18
17
23
31
10
11
3
6
22
29
9
25
4
7
14
2
20
27
26
20
16
5
13
12
15
24
19
1
8
21
17
7
5
30
FIT
1:1
100%

Артикул

Название

Примечание

Количество

1

160237C91

SPROCKET ASSY.

SPROCKET ASSY, elev jackshaft drive, 25 T

1шт.

2

88907

WOODRUFF KEY,#B, 5/16" x 1", HT

5/16 x 1 Woodruff, hard

1шт.

3

CHAIN ASSY, elevator jackshaft drive, use 75 links from a 10 ft roll marked 1793D and 1 connecting link marked 1786D

1шт.

4

172460C11

SHAFT

JACKSHAFT ASSY, elevator drive

1шт.

22244R1

LOCK NUT

3/4 C-Z hex nylon insert lock

1шт.

467750R1

WASHER

25/32 x 1-1/2 x 11 ga C-Z

1шт.

478258R1

WASHER

1-5/32 x 1-3/4 x 11 ga C-Z

1шт.

5

670373R91

BALL BEARING,1.1255" ID x 62 mm OD x 1.4375"

ASSY, elevator jackshaft ball

2шт.

6

557115R11

COLLAR

COLLAR W/SET SCREW, jackshaft LH brg

1шт.

7

939460R91

FLANGE

W/65 DEG LUB FITTING, jackshaft

2шт.

8

939461R1

FLANGE

jackshaft brg grooved

2шт.

16897R1

CARRIAGE BOLT,Short Nk, 5/16" - 18 x 3/4", Gr 2, Full Thd

BOLT, 5/16 x 3/4 C-Z sq-nk crg

1шт.

120376

NUT,5/16"-18, G5

1шт.

80681

LOCK WASHER,5/16"

WASHER, LOCK, 5/16"

1шт.

9

169289C1

SUPPORT, jackshaft brg outer

1шт.

16897R1

CARRIAGE BOLT,Short Nk, 5/16" - 18 x 3/4", Gr 2, Full Thd

BOLT, 5/16 x 3/4 C-Z sq-nk crg

1шт.

18778R1

SCREW,Hex, 3/8"-16 x 3/4", G2

BOLT, 3/8 x 3/4 C-Z hex-hd mach

1шт.

120376

NUT,5/16"-18, G5

1шт.

120377

NUT,3/8" - 16, Gr 5

1шт.

80681

LOCK WASHER,5/16"

WASHER, LOCK, 5/16"

1шт.

120382

LOCK WASHER,Helical Spring, 3/8"

WASHER, LOCK, 3/8"

1шт.

10

168687C1

DRIVE SPROCKET

SPROCKET ASSY, grain elevator driven, 19 T

1шт.

11

Q53

KEY,1/4" Sq x 1", Par

1шт.

12

167449C1

SPROCKET ASSY.

SPROCKET ASSY, grain elevator driven, 16 T

1шт.

20340R1

COTTER PIN,1/4" x 1 1/2"

Pin, Split (Cotter), 1/4" x 1 1/2"

1шт.

21789R1

WASHER

1-1/32 x 1-1/4 x 16 ga C-Z

1шт.

13

124553

WOODRUFF KEY,#15, 1/4" x 1", HT

1шт.

14

594706R91

SPROCKET ASSY.,15T

SPROCKET ASSY, grain elevator drive chain, tightener, 17 T

1шт.

18720R1

SCREW,Short NK, 5/8"-11 x 2", G2

BOLT, 5/8 x 2 C-Z sq-nk crg

1шт.

280374

NUT,Hex, 5/8" - 11, Gr 5

5/8 C-Z hex

1шт.

492-11062

BEARING WASHER,5/8"

WASHER, LOCK, 5/8"

1шт.

22858R1

SQ HOLE WASHER,41/64" x 1 1/4" x .105", Sq Hole

21/32 sq x 1-1/4 x 12 ga C-Z

1шт.

589068R1

WASHER

21/32 x 1-1/4 x 11 ga C-Z

1шт.

15

160692C1

SHAFT

grain elevator drive ext

1шт.

16

939108R1

COUPLING

grain elevator drive ext shaft female

1шт.

236485R1

BOLT,Hex, 1/2" - 13 x 2 1/4", Gr 8

1/2 x 2-1/4 znd hex-hd mach

1шт.

21330R1

NUT,1/2"-13, G8

1/2 C-Z hex, type 8

1шт.

366864C1

LOCK WASHER,1/2"

1/2"

1шт.

17

124553

WOODRUFF KEY,#15, 1/4" x 1", HT

1шт.

18

160428C11

SUPPORT

ASSY, grain elevator drive ext shaft

1шт.

16897R1

CARRIAGE BOLT,Short Nk, 5/16" - 18 x 3/4", Gr 2, Full Thd

BOLT, 5/16 x 3/4 C-Z sq-nk crg

1шт.

120376

NUT,5/16"-18, G5

1шт.

80681

LOCK WASHER,5/16"

WASHER, LOCK, 5/16"

1шт.

19

611421R1

BOLT,Hex, 7/16" - 14 x 3 1/2", Full Thd

grain elevator drive adj

1шт.

NLS

NO LONGER SERVICED

NUT, 7/16 C-Z hex

1шт.

20

612031R1

FLANGED BEARING

grain elevator drive ext shaft bearing, replaces 155265C1

2шт.

16897R1

CARRIAGE BOLT,Short Nk, 5/16" - 18 x 3/4", Gr 2, Full Thd

BOLT, 5/16 x 3/4 C-Z sq-nk crg

1шт.

120376

NUT,5/16"-18, G5

1шт.

80681

LOCK WASHER,5/16"

WASHER, LOCK, 5/16"

1шт.

21

160796C91

BALL BEARING,25.4mm ID x 51.99mm OD x 16.56mm W

BEARING ASSY, grain elevator drive ext shaft ball

1шт.

22

564853R11

COLLAR

W/SET, lkg

1шт.

23

CHAIN ASSY, grain elevator drive, use 53 links from 10-ft roll marked 1791D, one connecting link 1310D and two offset links 1315D

1шт.

23

CHAIN ASSY, grain elevator drive, for use w/150 BU. extension, use 45 links from 10-ft roll marked 1791D and one connecting link 1310D

1шт.

24

HEADSHAFT, grain elevator, refer to this group under grain elevator

1шт.

25

SHAFT, cylinder beater, refer to group 21 under cylinder beater and supports

1шт.

26

AUGER, grain tank distributor, refer to group 26 under grain tank extension and distributor auger

1шт.

27

172461C2

BRACKET

ASSY, elevator jackshaft drive chain tightener

1шт.

18778R1

SCREW,Hex, 3/8"-16 x 3/4", G2

BOLT, 3/8 x 3/4 hex-hd mach

1шт.

482256R1

BEARING LOCK NUT,Flg, USR, 3/8"-16

3/8 C-Z flange lock

1шт.

28

174833C1

BRACE, elevator jackshaft tightener bracket

1шт.

135270

SERRATED SCREW,5/16" - 18 x 3/4"

BOLT, 5/16 x 3/4 C-Z slt-truss-hd

1шт.

477-73812

SERRATED SCREW,Truss HD, 3/8" - 16 x 3/4"

BOLT, 3/8 x 1 C-Z slt-truss-hd

1шт.

938017R1

FLANGE NUT,Flg, USR, 5/16"-18

5/16 C-Z flange lock

1шт.

482256R1

BEARING LOCK NUT,Flg, USR, 3/8"-16

3/8 C-Z flange lock

1шт.

29

172465C1

SPROCKET ASSY.

SPROCKET ASSY, elevator jackshaft driven, 47 T

1шт.

124829

JAM NUT,Hex, 3/8" - 16, Gr 5

1шт.

84983

SET SCREW,3/8" x 1"

SCREW, 3/8 x 1 sq-hd set

1шт.

30

154113C91

DRIVE SPROCKET

SPROCKET ASSY, jackshaft drive chain tightener, 13 T

1шт.

18721R1

CARRIAGE BOLT,Sq Nk, 5/8" - 11 x 2 1/4", Gr 2

BOLT, 5/8 x 2-1/4 sq-nk crg

1шт.

124589

BALL STUD,Hex, 5/8" - 11 x 2", Gr 5

5/8 C-Z hex

1шт.

492-11062

BEARING WASHER,5/8"

WASHER, LOCK, 5/8"

1шт.

589068R1

WASHER

21/32 x 1-1/4 x 11 ga

1шт.

22858R1

SQ HOLE WASHER,41/64" x 1 1/4" x .105", Sq Hole

21/32 x 1-1/4 x 12 ga

1шт.

31

169212C1

SUPPORT

jackshaft bearing inner

1шт.

18778R1

SCREW,Hex, 3/8"-16 x 3/4", G2

BOLT, 3/8 x 3/4 C-Z hex-hd mach

1шт.

18508R1

CARRIAGE BOLT,Short Nk, 3/8" - 16 x 3/4", Gr 2, Full Thd

BOLT, 3/8 x 3/4 C-Z sq-nk crg

1шт.

120377

NUT,3/8" - 16, Gr 5

1шт.

120382

LOCK WASHER,Helical Spring, 3/8"

WASHER, LOCK, 3/8"

1шт.

Выбрано товаров: 78