Запчасти Case IH 2055 (8-08) - RESERVOIR TO HYDRAULIC PUMP SYSTEM (07) - HYDRAULICS

Схема запчастей Case IH 2055 - (8-08) - RESERVOIR TO HYDRAULIC PUMP SYSTEM (07) - HYDRAULICS
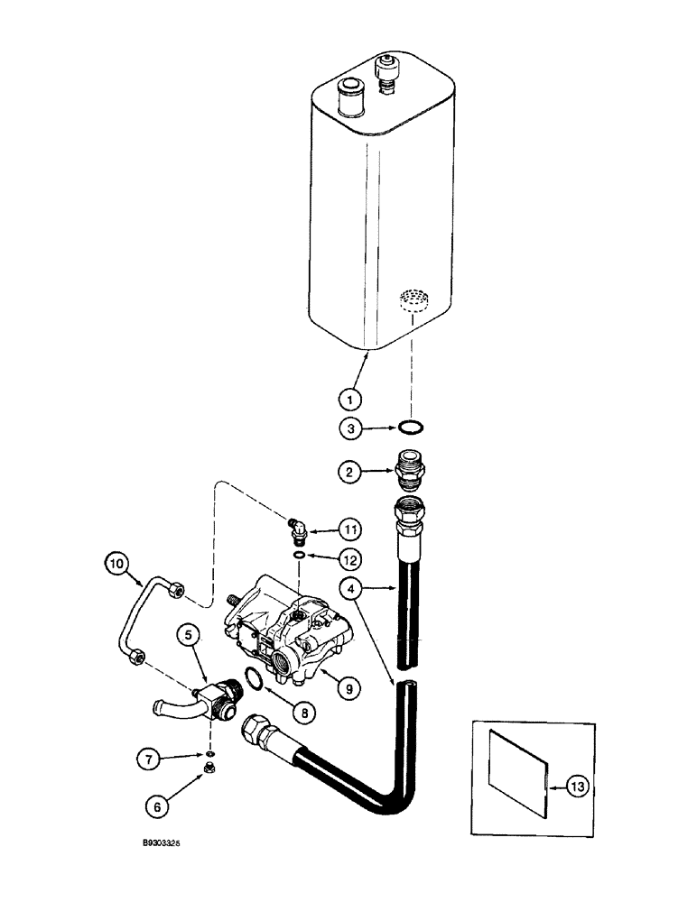
3
5
11
12
1
13
9
6
7
4
10
8
2
FIT
1:1
100%

Артикул

Название

Примечание

Количество

1

REF

INSTRUCTION

RESERVOIR ASSEMBLY - hydraulic, see page 8-2 for correct assembly and parts list

1шт.

2

218-5049

HYD CONNECTOR,1-7/8" - 12 Male JIC x 1-5/8" - 12 Male ORB

ADAPTER - straight, 1-7/8-12 flare x 1-5/8-12 inch O-ring boss

1шт.

3

237-6020

O-RING,0.118" Thk x 1.475" ID, -920, Cl 6, 90 Duro

20-1, 90 Duro, 1.475" ID x .118" Thk

1шт.

4

1988946C1

HOSE

- hydraulic, pump suction, 39-3/8 inch (1000 mm) long

1шт.

5

1971747C1

FITTING

- cross, special, pump inlet

1шт.

6

9672438

PLUG,7/16" - 20 ORB

1шт.

7

237-6004

O-RING,0.072" Thk x 0.351" ID, -904, Cl 6, 90 Duro

4-1, 90 Duro, .351" ID x .072" Thk

1шт.

8

237-6024

O-RING,0.118" Thk x 1.720" ID, -924, Cl 6, 90 Duro

24-1, 90 Duro, 1.72" ID x .118" Thk

1шт.

9

REF

INSTRUCTION

PUMP ASSEMBLY - hydraulic, new, see page 8-10

1шт.

10

1285441C3

TUBE,0.375" OD, 164.9,50.8 mm Length

- case drain

1шт.

11

218-5281

ELBOW,90 Degree, 9/16"-18, 37 Degree x 9/16"-18, O-Ring

- 90 degree, 9/16-18 flare x 7/8-14 inch adj O-ring boss

1шт.

12

237-6010

O-RING,0.097" Thk x 0.755" ID, -910, Cl 6, 90 Duro

10-1, 90 Duro, .755" ID x .097" Thk

1шт.

13

112075A1

SKID/SHOE

PAD - hydraulic hose, 203 x 229 x 2.4 mm

1шт.

Выбрано товаров: 13