Запчасти Case IH 2055 (8-66) - BASKET DOOR CYLINDER SYSTEM (07) - HYDRAULICS

Схема запчастей Case IH 2055 - (8-66) - BASKET DOOR CYLINDER SYSTEM (07) - HYDRAULICS
14
17
12
7
8
19
7
7
10
17
24
2
8
10
5
18
6
5
8
32
22
25
18
27
26
20
2
11
33
9
38
16
13
22
36
11
21
16
17
23
29
15
6
40
16
37
28
7
10
39
6
9
8
12
4
16
30
14
9
3
41
8
8
22
22
14
8
20
19
16
21
32
13
9
24
3
34
16
25
31
FIT
1:1
100%

Артикул

Название

Примечание

Количество

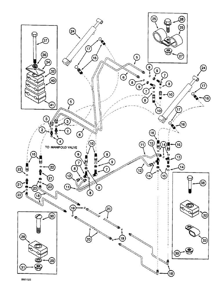
1

1986598C3

VALVE

ASSEMBLY - manifold, parts list pages 8-32 and 8-34, not shown

1шт.

2

201-102

HYD CONNECTOR,13/16" - 16 Male ORFS x 3/4" - 16 Male ORB

CONNECTOR, HYD., 13/16"-16 ORFS x 3/4"-16 ORB

2шт.

3

237-6008

O-RING,0.087" Thk x 0.644" ID, -908, Cl 6, 90 Duro

8-1, 90 Duro, .644" ID x .087" Thk, Boss end

1шт.

4

238-6014

O-RING,0.07" Thk x 0.489" ID, -14, Cl 6, 90 Duro

Face end -014, 90 Duro, .489" ID x .070" Thk

1шт.

5

1988936C1

TUBE

- door open, valve

1шт.

6

1988937C1

TUBE,0.5" OD

- door close, valve

1шт.

7

201-301

ELBOW,90 Degree Elbow, 13/16" - 16 Male ORFS x 13/16" - 16 Male ORFS

- 90 degree, 13/16-16 inch face seal x bulkhead face seal

4шт.

8

238-6014

O-RING,0.07" Thk x 0.489" ID, -14, Cl 6, 90 Duro

2шт.

9

201-903

TUBE NUT,Blkhd, 13/16"-16

NUT, LOCK, Blkhd, 13/16"-16

4шт.

10

1984271C1

HOSE,12.7mm ID x 2500mm L

- door bulkhead, 98-7/16 inch (2500 mm) long

2шт.

See page 8-62 for hose sleeve, bracket and mounting hardware.

1шт.

11

1983193C2

HYD TUBE

TUBE - door open

1шт.

12

1983194C2

HYD TUBE

TUBE - door close

1шт.

13

201-423

TEE,9/16"-18, Blkhd, Run, ORFS

- 13/16-16 inch face seal branch x face seal x bulkhead face seal

2шт.

14

238-6014

O-RING,0.07" Thk x 0.489" ID, -14, Cl 6, 90 Duro

3шт.

15

201-903

TUBE NUT,Blkhd, 13/16"-16

NUT, LOCK, Blkhd, 13/16"-16

2шт.

16

1984270C1

HOSE,9.53mm ID x 1175mm L

- door cylinder, 1175 inch (29845 mm) long, male on one end female on other

4шт.

17

237-6008

O-RING,0.087" Thk x 0.644" ID, -908, Cl 6, 90 Duro

8-1, 90 Duro, .644" ID x .087" Thk

4шт.

18

1983195C2

HYD TUBE

TUBE - door bottom sides

4шт.

19

238-6012

O-RING,0.07" Thk x 0.364" ID, -12, Cl 6, 90 Duro

4шт.

20

1983196C2

HYD TUBE,0.375" OD

TUBE - door bottom

2шт.

21

201-121

HYD CONNECTOR,13/16"-16, Blkhd, ORFS

CONNECTOR, HYD, 13/16"-16, Blkhd, ORFS

2шт.

22

238-6014

O-RING,0.07" Thk x 0.489" ID, -14, Cl 6, 90 Duro

2шт.

23

201-903

TUBE NUT,Blkhd, 13/16"-16

NUT, LOCK, Blkhd, 13/16"-16

2шт.

24

1282155C92

CYLINDER ASSY.,Double Acting, 25.4mm Rod, 373.5mm Stroke

CYLINDER ASSEMBLY - basket door hydraulic, 2 (51) ID x 14-3/4 inch (374 mm) stroke, parts list page 8-68

2шт.

25

515-25190

CLAMP,3/4", Insul, 1/2" Bolt

P-type 3/4", Insul, 1/2" Bolt

4шт.

26

409-7620

BOLT,Hex Flg, 3/8" - 16 x 1 1/4", Spcl

- hex serrated flange, 3/8 NC x 1-1/4 inch

2шт.

27

231-5146

FLANGE NUT,3/8"-16

2шт.

28

1546024C1

CLAMP

- double, 3/8 inch ID

4шт.

29

495-21038

WASHER,5/16"

(flat, 3/8 x 7/8 x 3/32") 5/16"

4шт.

30

164191C1

SERRATED SCREW,Sl Truss Hd, 5/16" - 18 x 1 1/2"

- slotted truss head, 5/16 NC x 1-1/2 inch

4шт.

31

231-5145

SERRATED NUT,Flg, USR, 5/16"-18

NUT - hex serrated flange, 5/16 inch NC

4шт.

32

1546025C1

CLAMP

- double, 1/2 inch ID, hose retaining

2шт.

33

1301387C2

CLIP

CLAMP - square, 2 inch ID, hose

1шт.

34

1347127C1

PLATE

- hose clamp

1шт.

35

495-21038

WASHER,5/16"

(flat, 3/8 x 7/8 x 3/32") 5/16"

1шт.

36

492-11031

LOCK WASHER,5/16"

WASHER, LOCK, 5/16"

1шт.

37

413-580

BOLT,Hex, 5/16" - 18 x 5", Gr 5

1шт.

38

413-540

BOLT,Hex, 5/16" - 18 x 2-1/2", Gr 5

- hex, 5/16 NC x 2-1/2 inch

1шт.

39

231-5145

SERRATED NUT,Flg, USR, 5/16"-18

NUT - hex serrated flange, 5/16 inch NC

1шт.

40

1546026C1

CLAMP

- double, 5/8 inch ID

1шт.

41

1546027C1

CLAMP

- double, 3/4 inch ID

1шт.

Выбрано товаров: 42