Запчасти Case IH 2055 (9E-16) - CAB ASSEMBLY, DOOR HANDLE (10) - CAB & AIR CONDITIONING

Схема запчастей Case IH 2055 - (9E-16) - CAB ASSEMBLY, DOOR HANDLE (10) - CAB & AIR CONDITIONING
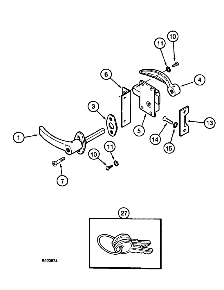
5
6
27
15
4
10
14
3
11
11
1
10
7
13
FIT
1:1
100%

Артикул

Название

Примечание

Количество

1329468C1

HANDLE

ASSEMBLY - door, upper, for service order component parts

1шт.

1

1329440C1

HANDLE

- door outside lock

1шт.

3

1329441C1

GASKET

- handle

1шт.

4

1329442C1

HANDLE

- inside door

1шт.

5

1329443C1

LATCH

- inside door

1шт.

6

1330184C1

BRACKET

ANGLE - latch support

1шт.

7

489-11012

SCREW,Cross Oval Hd, #10"-32 x 3/4"

- machine, oval Phillips, No. 10 NF x 3/4 inch

2шт.

10

261-63512

SELF-TAP SCREW,Cross Pan Hd, #10 x 3/4"

SCREW - self-tapping, pan Phillips, No. 10 NF x 3/4 inch

6-8шт.

11

393-41020

LOCK WASHER,Ext Tooth, #10

WASHER - external tooth lock, 3/16 inch

6-8шт.

13

392801R3

LATCH

STRIKER - door catch

1шт.

14

442-1258

SCREW,Cross Oval Hd, 1/4"-20 x 1/2"

- machine, oval Phillips, 1/4 NC x 1/2 inch

2шт.

15

493-51026

LOCK WASHER,Ext Csk Tooth, 1/4"

WASHER - countersunk, external tooth lock, 1/4 inch

2шт.

27

1970178C1

SET OF 2 KEYS

KEY - lock, set of 2

1шт.

Выбрано товаров: 13