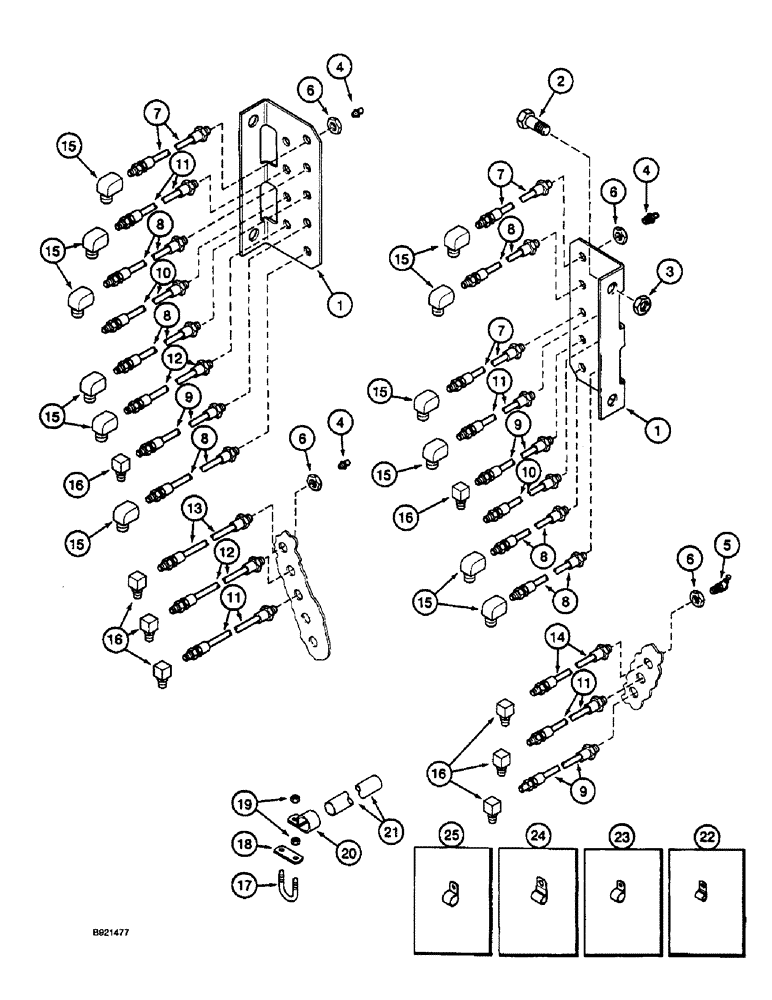
Запчасти Case IH 2055 (9F-02) - CHASSIS GREASE SYSTEM, WITH SUPPORT PLATE (12) - CHASSIS

Схема запчастей Case IH 2055 - (9F-02) - CHASSIS GREASE SYSTEM, WITH SUPPORT PLATE (12) - CHASSIS
15
16
5
12
9
16
21
24
4
15
15
6
8
18
16
9
25
9
6
2
1
15
11
3
10
7
19
11
8
15
11
8
15
4
6
7
13
8
14
15
11
23
16
17
1
12
20
7
8
22
6
15
8
10
4
FIT
1:1
100%

Артикул

Название

Примечание

Количество

1

1345099C1

SUPPORT

- grease fitting

2шт.

2

413-816

BOLT,Hex, 1/2" - 13 x 1", Gr 5

4шт.

3

231-5148

FLANGE NUT,Flg, USR, 1/2"-13

4шт.

4

219-8

LUBE NIPPLE,1/4" - 28 NPTF

NIPPLE, LUBE, , straight, taper 1/4"-28 NPT x .54" lg

19шт.

5

219-37

LUBE NIPPLE,45 Degree Elbow, 1/4" - 28 NPTF

FITTING - grease, 45 degree, 1/4-28 taper x 13/16 inch

3шт.

6

F53473

LOCK NUT,1/8-27 NPSM

- hex, special, 1/8 inch PT

22шт.

7

1339003C1

TUBE,2032 mm L

HOSE - grease, 80 inch (2032 mm) long

3шт.

8

1345098C1

HOSE

- grease, 60 inch (1524 mm) long, if used

6шт.

8

1339003C1

TUBE,2032 mm L

HOSE - grease, 80 inch (2032 mm) long, if used

6шт.

9

1345097C1

HOSE

- grease, 45 inch (1143 mm) long

2шт.

10

1339004C1

HOSE,3.17mm ID x 1778mm L

- grease, 70 inch (1778 mm) long

2шт.

11

937782R92

HOSE,3.02mm ID x 787mm L

Grease 3.56 mm ID x 787.00 mm

4шт.

12

1339231C1

TUBE,737 mm Length

HOSE - grease, 29 inch (737 mm) long

2шт.

13

1339006C1

TUBE,914 mm L

HOSE - grease, 36 inch (914 mm) long

2шт.

14

1339005C1

TUBE,1321 mm L

HOSE - grease, 52 inch (1321 mm) long

1шт.

15

217-20

ELBOW,90 Degree, 1/8"-28 NPTF, Fem x 1/8"-27 NPTF Male

Street (Replaces elbow 9409931) 90º, 1/8"-28 NPTF, Fem x 1/8"-27 NPTF Male

12шт.

16

21340R1

ADAPTER,90 Degree, 1/4"-1/8 NPTF

FITTING - grease, 90 degree, special

8шт.

17

1546030C1

U-BOLT,3/8" - 16 x 47.60mm W x 44.50mm L

- 3/8 inch NC, clamp and hose retaining

4шт.

18

1546029C1

LARGE PLATE

STRAP - clamp

4шт.

19

425-146

JAM NUT,3/8" - 16, Gr 5

- hex, jam, 3/8 inch NC

16шт.

20

92070C1

CLAMP,1 1/4", Insul, 7/16" Bolt

- P-type, 1-1/4 inch ID, hose retaining, if used

4шт.

21

1212902C1

INSULATOR

CONDUIT - 24 inch (610 mm) long, cut from 1269256C1 bulk conduit

2шт.

22

362120R1

CLAMP,9.53mm ID, 10.32mm Bolt Hole, P Type

CLAMP - P-type, lubrication hose

4шт.

23

515-25190

CLAMP,3/4", Insul, 1/2" Bolt

P-type, If used 3/4", Insul, 1/2" Bolt

2шт.

24

515-24317

CLAMP,1 1/4", Insul, 7/16" Bolt

P-type, if used 1 1/4", Insul, 7/16" Bolt

4шт.

25

515-23381

CLAMP,1 1/2", Insul, 3/8" Bolt

P-type (Qty. 8-10) 1 1/2", Insul, 3/8" Bolt

1шт.

1269256C1

CONDUIT

- bulk, 1 (25) x 1-1/4 (32) x 85 inch (2159 mm) long

1шт.

Выбрано товаров: 27