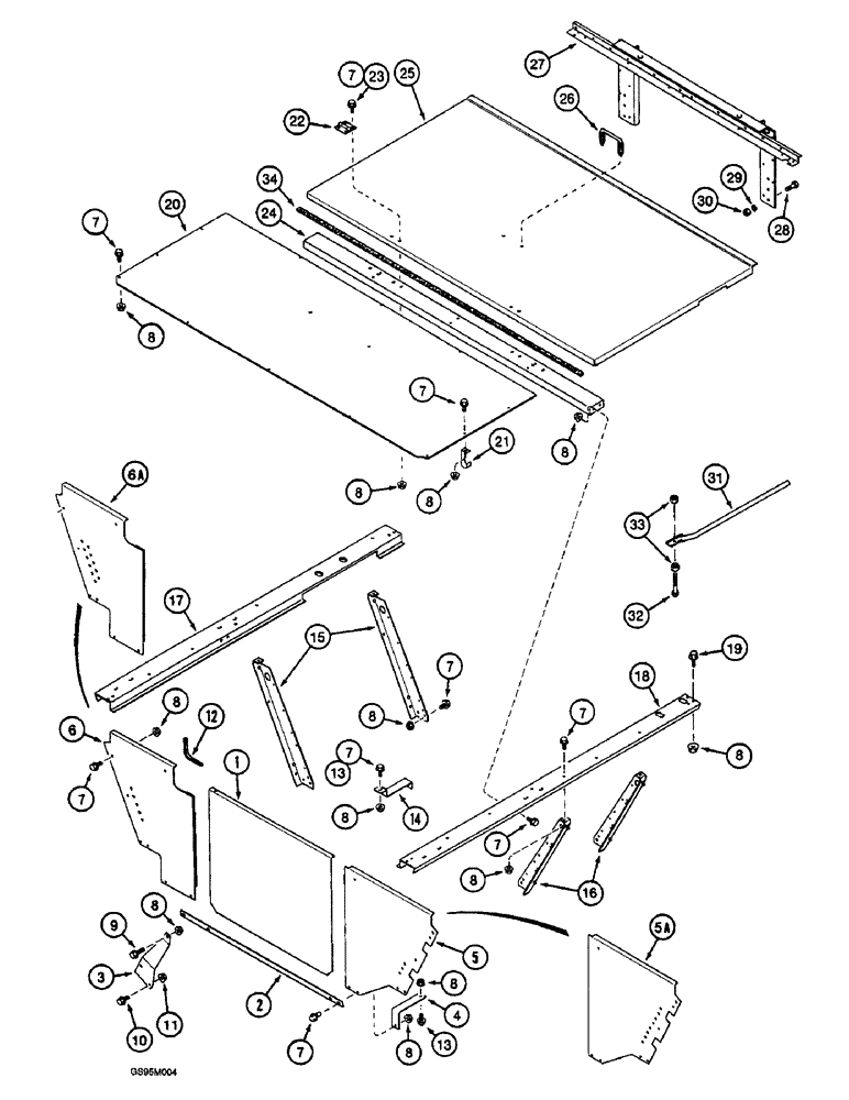
Запчасти Case IH 2055 (9F-04) - ENGINE AND RADIATOR SHIELDS, FRONT ACCESS DOOR AND SUPPORTS (12) - CHASSIS

Схема запчастей Case IH 2055 - (9F-04) - ENGINE AND RADIATOR SHIELDS, FRONT ACCESS DOOR AND SUPPORTS (12) - CHASSIS
8
6a
5
7
12
8
14
13
7
10
19
29
8
1
23
8
31
7
17
4
6
13
22
8
8
33
8
2
7
15
8
16
3
21
20
18
8
7
7
25
5a
7
34
26
27
7
32
9
8
7
30
28
11
8
8
24
FIT
1:1
100%

Артикул

Название

Примечание

Количество

1

1982303C1

SHEET

PANEL - shield center

1шт.

2

1982302C4

SUPPORT

BRACKET - shield bottom

1шт.

3

1982344C1

SUPPORT

BRACKET - shield support, lower left-hand

1шт.

4

1982345C1

SUPPORT

BRACKET - shield support, lower right-hand

1шт.

5

1982307C4

PANEL

- engine shield, right-hand, used with grease lines shown on page 9F-2

1шт.

5a

1982307C5

PANEL

- engine shield, right-hand, used with grease lines shown on page 9F-3A

1шт.

6

1982304C6

PANEL

- engine shield, left-hand, used with grease lines shown on page 9F-2

1шт.

6a

1982304C5

PANEL

- engine shield, left-hand, used with grease lines shown on page 9F-3A

1шт.

7

409-7512

BOLT,Hex Flg, 5/16" - 18 x 3/4", Spcl

- hex serrated flange, 5/16 NC x 3/4 inch

51шт.

8

231-5145

SERRATED NUT,Flg, USR, 5/16"-18

NUT - hex serrated flange, 5/16 inch NC

58шт.

9

409-7520

BOLT,Hex Flg, 5/16" - 18 x 1 1/4", Spcl

- hex serrated flange, 5/16 NC x 1-1/4 inch

1шт.

10

409-7616

BOLT,Hex Flg, 3/8" - 16 x 1", Spcl

2шт.

11

231-5146

FLANGE NUT,3/8"-16

2шт.

12

1982349C2

MOLDING

TRIM - edge, 10 inch (254 mm) long, cut from 1977224CX bulk trim, see below

1шт.

13

409-7516

BOLT,Hex Flg, 5/16" - 18 x 1", Spcl

2шт.

14

1983143C1

SUPPORT

BRACKET - shield support, upper center

2шт.

15

1345135C1

SUPPORT

BRACKET - screen, left-hand

2шт.

16

1345136C3

SUPPORT

BRACKET - screen support, right-hand

2шт.

17

1988830C2

SUPPORT

- shield, outer front, left-hand

1шт.

18

1988831C1

SUPPORT

- shield, outer front, right-hand

1шт.

19

256873

BOLT,Hex Serr, 5/16" - 18 x 1/2", 5SPL, Full Thd

3шт.

20

1982297C4

PANEL

- center shield

1шт.

21

86952C1

CLIP,ELECTRICAL

CLIP - screen support

2шт.

22

215720C1

HINGE

- shield

2шт.

23

121-232

SERRATED BOLT,Hex, 5/16" - 18 x 2", Gr 5

1шт.

24

1260123C2

CHANNEL

CHANNEL - hinge support

1шт.

25

1988799C2

TRAP DOOR

DOOR - front deck

1шт.

26

1278124C1

HANDLE

- retractable

1шт.

27

1990376C1

SUPPORT

- rear, front

1шт.

28

413-824

BOLT,Hex, 1/2" - 13 x 1-1/2", Gr 5

6шт.

29

80679

LOCK WASHER,1/20.507 CST ZND

WASHER, LOCK, 1/2"

6шт.

30

425-108

NUT,1/2" - 13, Gr 5

NUT, , Hex 1/2"-13, G5

6шт.

31

87076C2

SUPPORT

- tube (Replaces support 87076C1)

2шт.

32

413-540

BOLT,Hex, 5/16" - 18 x 2-1/2", Gr 5

- hex, 5/16 NC x 2-1/2 inch

2шт.

33

425-105

NUT,5/16"-18, G5

- hex, 5/16 inch NC

4шт.

34

1982348C1

GASKET

SEAL - 65-1/4 inch (1657 mm) long, cut from 87084C1 bulk seal, see below

1шт.

1977224CX

GASKET

TRIM - bulk, edge, 600 inch (15240 mm) long

1шт.

87084C1

SEAL

- foam, adhesive-backed, 600 inch (15240 mm) long

1шт.

Выбрано товаров: 0