Запчасти Case IH 2055 (9A-78) - DRUM HOUSING (13) - PICKING SYSTEM

Схема запчастей Case IH 2055 - (9A-78) - DRUM HOUSING (13) - PICKING SYSTEM
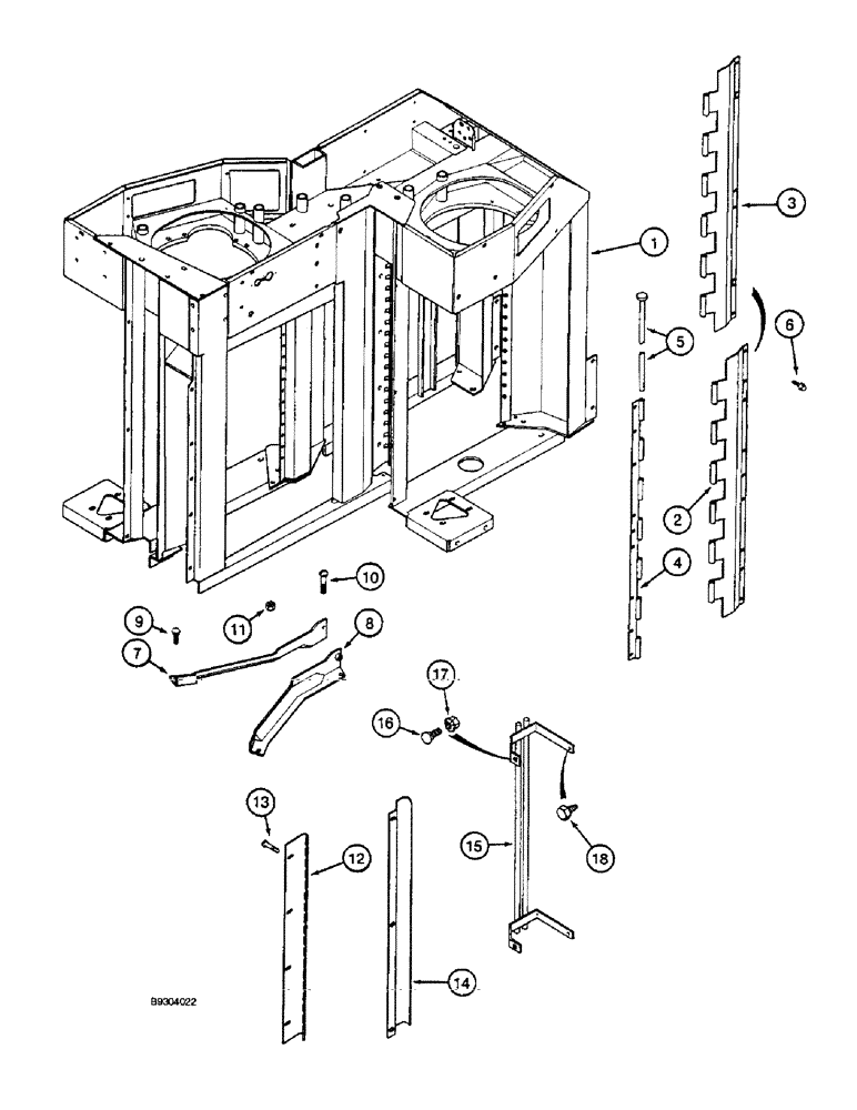
3
5
1
7
2
14
10
16
18
13
15
4
9
12
6
8
17
11
FIT
1:1
100%

Артикул

Название

Примечание

Количество

1

NSS

NOT SOLD SEPARAT

HOUSING ASSEMBLY - drum frame, order 15459653C3 kit below

1шт.

2

1982598C1

HINGE

POST - doffer, no longer available, order 1982598C3 post, item 3

4шт.

3

1982598C3

HINGE

POST - doffer, if used (replaces posts 1982598C1 and 1982598C2)

4шт.

4

1982599C1

HINGE

- doffer post

2шт.

5

1982600C1

PIN,7.94mm OD x 962mm L

- post hinge

4шт.

6

409-7612

BOLT,3/8"-16 x 1.09" OAL

- hex serrated flange, 3/8 NC x 3/4 inch

8шт.

7

1990342C2

ANGLE BAR

ANGLE - wear, left-hand (replaces angle 1990342C1)

2шт.

8

1990343C2

ANGLE BAR

ANGLE - wear, right-hand (replaces angle 1990343C1)

2шт.

9

434-612

CARRIAGE BOLT,Sht Sq Nk, 3/8" - 16 x 3/4", Gr 5

BOLT - carriage, 3/8 NC x 3/4 inch

4шт.

10

161945C1

SERRATED SCREW,Sl Truss Hd, 5/16" - 18 x 1"

- slotted truss head, 5/16 NC x 1 inch

4шт.

11

425-106

NUT,3/8"-16, Cl 5

8шт.

12

1990345C1

PLATE

- vine knife, slat bar post, right-hand

1шт.

13

477-73108

SERRATED SCREW,Sl Truss Hd, 5/16" - 18 x 1/2"

- slotted truss head, 5/16 NC x 1/2 inch

8шт.

14

1990349C1

PLATE

- vine knife, trash post, if used

1шт.

15

108497A1

GRATE

- trash, if used

1шт.

16

411-512

CARRIAGE BOLT,Sq Nk, 5/16" - 18 x 3/4", Gr 2

BOLT - carriage, 5/16 NC x 3/4 inch, grade 2, if used

2шт.

17

231-5145

SERRATED NUT,Flg, USR, 5/16"-18

NUT - hex serrated flange, 5/16 inch NC, if used

2шт.

18

276-1478

SELF-TAP SCREW,Hex Hd, 1/4" x 1/2"

SCREW - self-tapping, hex head, 1/4 NC x 1/2 inch, if used

2шт.

1545965C3

PACKAGE,SERVICE

KIT - drum housing service (replaces kit 1545965C2)

1шт.

1

NSS

NOT SOLD SEPARAT

HOUSING - drum frame, order kit 1545965C3

1шт.

6

409-7612

BOLT,3/8"-16 x 1.09" OAL

- hex serrated flange, 3/8 NC x 3/4 inch

2шт.

7

1990342C1

ANGLE BAR

ANGLE - wear, left-hand

1шт.

8

1990343C1

ANGLE BAR

ANGLE - wear, right-hand

1шт.

9

434-612

CARRIAGE BOLT,Sht Sq Nk, 3/8" - 16 x 3/4", Gr 5

BOLT - carriage, 3/8 NC x 3/4 inch

2шт.

10

161945C1

SERRATED SCREW,Sl Truss Hd, 5/16" - 18 x 1"

- slotted truss head, 5/16 NC x 1 inch

2шт.

11

425-106

NUT,3/8"-16, Cl 5

See page 9A-52, Item 11 3/8"-16, G5

8шт.

231-5146

FLANGE NUT,3/8"-16

4шт.

223977C1

PLATE

- adjusting, see page 9A-52 item 49

2шт.

413-616

BOLT,Hex, 3/8" - 16 x 1", Gr 5

- hex, 3/8 NC x 1 inch, See page 9A-52, item 51

8шт.

496-21041

WASHER,13/32" x 13/16" x .089", HDN

- flat, 13/32 x 13/16 x 3/32", hardened, See page 9A-52, item 50

16шт.

492-11038

LOCK WASHER,3/8"

see page 9A-52, item 10 3/8"

8шт.

216828C2

GUIDE

SLAT - plant, see page 9A-64, item 30

17шт.

216829C2

GUIDE

SLAT - plant, see page 9A-64, item 31

17шт.

413-512

BOLT,Hex, 5/16" - 18 x 3/4", Gr 5

- hex, 5/16 NC x 3/4 inch, see page 9A-64, item 32

34шт.

87058C1

BELLEVILLE WASHER

- Belleville lock, see page 9A-64, item 33

34шт.

1262469C1

SEAL

SEAL - drum caulk, air dry, bulk, 11 ounces (325 ml)

1шт.

1546109C1

GUARD

SHIELD, rear grass RH

1шт.

1546105C1

GUARD

SHIELD front RH

1шт.

Выбрано товаров: 38