Запчасти Case IH 2055 (9A-82) - TOOLBAR ASSEMBLY, WITH AMBER REFLECTOR ONLY - ITEM 19 (13) - PICKING SYSTEM

Схема запчастей Case IH 2055 - (9A-82) - TOOLBAR ASSEMBLY, WITH AMBER REFLECTOR ONLY - ITEM 19 (13) - PICKING SYSTEM
2
20
7
6
13
10
9
5a
8
15
7
9
19
12
11
16
23
5
1
25
26
6
17
3
6
14
24
18
22
25
4
6
27
28
8
21
FIT
1:1
100%

Артикул

Название

Примечание

Количество

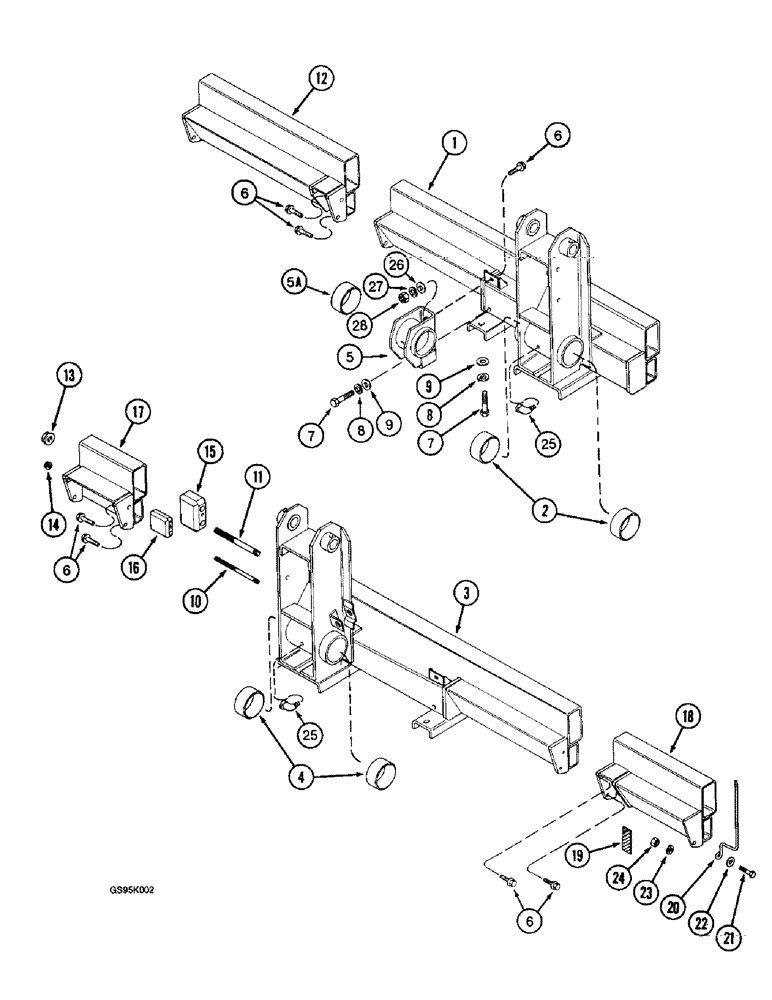
1

1983034C5

BAR ASSY.

TOOLBAR ASSEMBLY - main, left-hand, replaces 1983034C4, no longer available, for service order items 1, 15, 16, 17, and 23 on page 9A-84

1шт.

2

177751C1

BUSHING,101.7mm ID x 106.36mm OD x 38.1mm L

- toolbar

2шт.

3

1983035C5

BAR ASSY.

TOOLBAR ASSEMBLY - main, right-hand, replaces 1983035C4, no longer available, for service order items 4, 15, 16, 23, and 29 on page 9A-84

1шт.

4

177751C1

BUSHING,101.7mm ID x 106.36mm OD x 38.1mm L

- pivot

2шт.

5

1983056C6

SUPPORT

RETAINER ASSEMBLY - toolbar (replaces retainers 1983056C3, 1983056C4 and 1983056C5)

2шт.

5a

177751C1

BUSHING,101.7mm ID x 106.36mm OD x 38.1mm L

- retainer

2шт.

6

409-7820

BOLT,Hex Flg, 1/2" - 13 x 1 1/4", Spcl

8шт.

7

326-1028

BOLT,Hex, 5/8" - 11 x 1-3/4", Gr 8

4шт.

8

492-11062

BEARING WASHER,5/8"

WASHER, LOCK, 5/8"

4шт.

9

396-21066

WASHER,16.66mm ID x 33.33mm OD x 4.27mm Thk

4шт.

10

1988785C1

STUD

- toolbar, lower, 235 mm long, lower

5шт.

11

1983058C1

STUD

- toolbar, upper, 235 mm long, upper

5шт.

12

1982976C2

EXTENSION

- toolbar, left-hand

1шт.

13

232-53112

FLANGE NUT,Flg, 3/4"-10

NUT - hex flange, 3/4 inch NC

5шт.

14

232-5318

FLANGE NUT,Flg, 1/2"-13

NUT, LOCK, Flg, 1/2"-13

5шт.

15

1982943C1

GUIDE

SPACER - guide

3шт.

16

1988766C1

SPACER

- guide, lower

3шт.

17

1982974C2

EXTENSION

- toolbar, inner, 11-1/2 inch

1шт.

18

1988760C2

EXTENSION

- toolbar, right-hand

1шт.

19

1284365C2

REFLECTOR

- amber

1шт.

20

1545964C1

ROD

- toolbar marker, if used

1шт.

21

413-828

BOLT,Hex, 1/2" - 13 x 1-3/4", Gr 5

If used Hex, 1/2"-13 x 1 3/4", G5

1шт.

22

495-21056

WASHER,1/2"

- flat, 9/16 x 1-3/8 x 7/64 inch, if used

1шт.

23

80679

LOCK WASHER,1/20.507 CST ZND

WASHER, LOCK, , If used 1/2"

1шт.

24

425-108

NUT,1/2" - 13, Gr 5

NUT, , Hex, if used 1/2"-13, G5

1шт.

25

217-20

ELBOW,90 Degree, 1/8"-28 NPTF, Fem x 1/8"-27 NPTF Male

Street (Replaces elbow 9409931) 90º, 1/8"-28 NPTF, Fem x 1/8"-27 NPTF Male

2шт.

26

396-41053

WASHER,13.49mm ID x 31.75mm OD x 5.05mm Thk

- flat, 17/32 x 1-1/4 x 3/16 inch, hardened

2шт.

27

80679

LOCK WASHER,1/20.507 CST ZND

WASHER, LOCK, 1/2"

2шт.

28

429-108

NUT,1/2"-13, G8

- hex, 1/2 inch NC, grade 8

2шт.

Выбрано товаров: 29