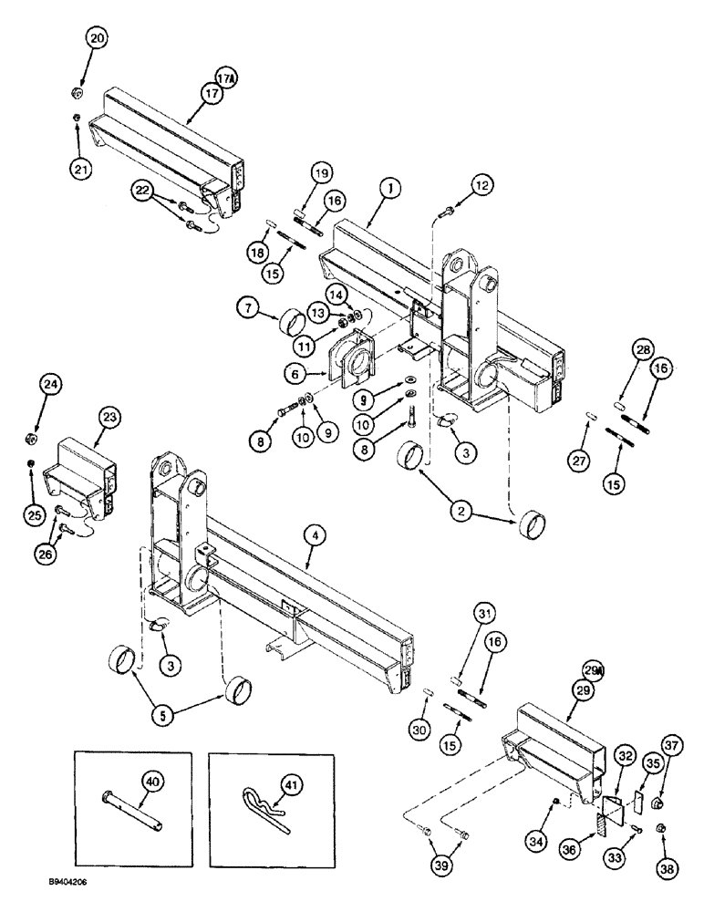
Запчасти Case IH 2055 (9A-84) - TOOLBAR ASSEMBLY W/AMBER & RED REFLECTOR-ITEMS 35 & 36 (13) - PICKING SYSTEM

Схема запчастей Case IH 2055 - (9A-84) - TOOLBAR ASSEMBLY W/AMBER & RED REFLECTOR-ITEMS 35 & 36 (13) - PICKING SYSTEM
6
19
39
36
10
18
5
38
4
26
16
33
20
40
30
2
15
24
3
1
23
9
16
29
32
11
21
14
13
15
31
12
35
16
37
17
3
41
8
8
17a
27
7
9
25
22
10
28
29
34
15
FIT
1:1
100%

Артикул

Название

Примечание

Количество

1

116218A1

BAR ASSY.

TOOLBAR ASSEMBLY - main, left-hand

1шт.

2

115792A1

BUSHING

- pivot

2шт.

3

217-20

ELBOW,90 Degree, 1/8"-28 NPTF, Fem x 1/8"-27 NPTF Male

Street (Replaces elbow 9409931) 90º, 1/8"-28 NPTF, Fem x 1/8"-27 NPTF Male

5шт.

4

116220A2

BAR ASSY.

TOOLBAR ASSEMBLY - main, right-hand

1шт.

5

115792A1

BUSHING

- pivot

2шт.

6

1983056C6

SUPPORT

RETAINER ASSEMBLY - toolbar

2шт.

7

115792A1

BUSHING

- pivot

4шт.

8

326-1028

BOLT,Hex, 5/8" - 11 x 1-3/4", Gr 8

4шт.

9

396-41053

WASHER,13.49mm ID x 31.75mm OD x 5.05mm Thk

- flat, 17/32 x 1-1/4 x 3/16 inch, hardened

2шт.

10

80679

LOCK WASHER,1/20.507 CST ZND

WASHER, LOCK, 1/2"

2шт.

11

429-108

NUT,1/2"-13, G8

- hex, 1/2 inch NC, grade 8

2шт.

12

409-7824

BOLT,Hex Flg, 1/2" - 13 x 1 1/2", Spcl

- hex serrated flange, 1/2 NC x 1-1/2 inch

2шт.

13

492-11062

BEARING WASHER,5/8"

WASHER, LOCK, 5/8"

4шт.

14

396-21066

WASHER,16.66mm ID x 33.33mm OD x 4.27mm Thk

4шт.

15

1546294C1

STUD

- toolbar, 13 x 113 mm long

5шт.

16

1546293C1

STUD

- toolbar, lower, 19 x 113 mm long

5шт.

17

1546291C1

EXTENSION

ASSEMBLY - toolbar, left-hand, with dowels, 4 row wide or 5 row narrow models, includes items 18 and 19

1шт.

17a

119255A1

EXTENSION

ASSEMBLY - toolbar, left-hand, with dowels, 5 row wide models, includes items 18 and 19

1шт.

18

37-11236

DOWEL,3/4" x 2 1/4"

PIN - dowel, 3/4 x 2-1/4 inch, hardened

1шт.

19

37-11632

DOWEL,1" x 2"

PIN - dowel, 1 x 2 inch, hardened

1шт.

20

232-53112

FLANGE NUT,Flg, 3/4"-10

NUT - hex flange, 3/4 inch NC

2шт.

21

232-5318

FLANGE NUT,Flg, 1/2"-13

NUT, LOCK, Flg, 1/2"-13

2шт.

22

409-7820

BOLT,Hex Flg, 1/2" - 13 x 1 1/4", Spcl

2шт.

23

1546301C1

EXTENSION

- toolbar, 11-1/2 inch

1шт.

24

232-53112

FLANGE NUT,Flg, 3/4"-10

NUT - hex flange, 3/4 inch NC

1шт.

25

232-5318

FLANGE NUT,Flg, 1/2"-13

NUT, LOCK, Flg, 1/2"-13

1шт.

26

409-7820

BOLT,Hex Flg, 1/2" - 13 x 1 1/4", Spcl

2шт.

27

37-11236

DOWEL,3/4" x 2 1/4"

PIN - dowel, 3/4 x 2-1/4 inch, hardened

1шт.

28

37-11632

DOWEL,1" x 2"

PIN - dowel, 1 x 2 inch, hardened

1шт.

29

1546292C1

EXTENSION

ASSEMBLY - toolbar, right-hand with dowels, 4 row wide or 5 row narrow models, includes items 30 and 31

1шт.

29a

119260A1

EXTENSION

ASSEMBLY - toolbar, right-hand with dowels, 5 row wide models, includes items 30 and 31

1шт.

30

37-11236

DOWEL,3/4" x 2 1/4"

PIN - dowel, 3/4 x 2-1/4 inch, hardened

1шт.

31

37-11632

DOWEL,1" x 2"

PIN - dowel, 1 x 2 inch, hardened

1шт.

32

1994997C1

BRACKET

- reflector toolbar

2шт.

33

161945C1

SERRATED SCREW,Sl Truss Hd, 5/16" - 18 x 1"

- slotted truss head, 5/16 NC x 1 inch

2шт.

34

231-5145

SERRATED NUT,Flg, USR, 5/16"-18

NUT - hex serrated flange, 5/16 inch NC

2шт.

35

1284374C1

REFLECTOR,Reflector Red

- red

2шт.

36

1284365C2

REFLECTOR

- amber

2шт.

37

232-53112

FLANGE NUT,Flg, 3/4"-10

NUT - hex flange, 3/4 inch NC

2шт.

38

232-5318

FLANGE NUT,Flg, 1/2"-13

NUT, LOCK, Flg, 1/2"-13

2шт.

39

409-7820

BOLT,Hex Flg, 1/2" - 13 x 1 1/4", Spcl

2шт.

40

118485A1

PIN,12.7mm OD x 150.75mm L

- hanger hold-down

1шт.

41

586591R1

COTTER PIN

PIN - hair, 1/8 inch

1шт.

118604A1

PACKAGE

KIT - toolbar, right-hand, 4 row wide, includes (1) each of items 4, 23, 27, 28, 29, 40, 41 and (3) each of items 15 and 16

1шт.

118605A1

PACKAGE

KIT - toolbar, left-hand, 4 row wide, includes (1) each of items 1 and 17 and (2) each of items 15 and 16

1шт.

118606A1

PACKAGE

KIT - toolbar, right-hand, 5 row narrow, includes (1) each of items 4 and 29 and (2) each of items 15 and 16

1шт.

118607A1

PACKAGE

KIT - toolbar, left-hand, 5 row narrow, includes (1) each of items 1, 17, 23, 27, 28, 40, 41 and (3) each of items 15 and 16

1шт.

Выбрано товаров: 47