Запчасти Case IH 2055 (9B-04) - WATER AND LUBE TANK SUPPORTS (14) - WATER SYSTEM

Схема запчастей Case IH 2055 - (9B-04) - WATER AND LUBE TANK SUPPORTS (14) - WATER SYSTEM
14
13
1
14
16
7
13
14
9
14
16
6
13
2
1a
3
18
12
11
15
15
10
8
19
13
14
17
21
13
13
22
20
5
14
14
14
13
4
14
13
14
FIT
1:1
100%

Артикул

Название

Примечание

Количество

1

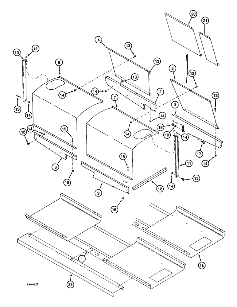
1984390C2

PLATE ASSY.

SADDLE - water and fuel tank, replaces 1984390C1 saddle, no longer available, order 1984390C5, item 1A

1шт.

1a

1984390C5

TRAY

SADDLE - water and fuel tank (replaces saddles 1984390C3 and 1984390C4)

1шт.

2

1984394C1

SUPPORT

BRACKET - front support, left-hand side

1шт.

3

1984395C2

SUPPORT

BRACKET - front support, right-hand side (replaces bracket 1984395C1)

1шт.

4

1984434C1

COVER

- tank, left-hand front

1шт.

5

1984436C1

COVER

- tank, right-hand front, used with 1984321C1 tank, item 1, page 9B-2

1шт.

6

1545974C1

COVER ASSY

COVER - left-hand rear

1шт.

7

1545976C3

COVER

- right-hand rear (replaces covers 1545976C1 and 1545976C2)

1шт.

8

1984396C1

SUPPORT

BRACKET - rear support, left-hand

1шт.

9

1984397C1

SUPPORT

BRACKET - rear support, right-hand

1шт.

10

1984441C2

BRACKET

CHANNEL - left-hand

1шт.

11

108483A1

CHANNEL

- right-hand

1шт.

12

1990483C1

ANGLE

- tank support

1шт.

13

409-7612

BOLT,3/8"-16 x 1.09" OAL

- hex serrated flange, 3/8 NC x 3/4 inch (16-21)

1шт.

14

231-5146

FLANGE NUT,3/8"-16

(18-23) Flg, USR, 3/8"-16

1шт.

15

413-620

BOLT,Hex, 3/8" - 16 x 1-1/4", Gr 5

- hex, 3/8 NC x 1-1/4 inch

6шт.

16

1306680C1

FLANGE NUT

NUT - hex flange, self-locking, special, 3/8 inch NC

6шт.

17

413-816

BOLT,Hex, 1/2" - 13 x 1", Gr 5

4шт.

18

80679

LOCK WASHER,1/20.507 CST ZND

WASHER, LOCK, 1/2"

4шт.

19

425-108

NUT,1/2" - 13, Gr 5

NUT, , Hex 1/2"-13, G5

4шт.

20

120528A1

COVER

- water tank, right-hand, front, used with 121402A1 tank assembly, item 1, page 9B-3A

1шт.

21

120527A1

COVER

- lube tank, right-hand, front, used with 121402A1 tank assembly, item 1, page 9B-3A

1шт.

22

124885A2

CONDUIT

CHANNEL - cover, between water tank and basket supports, if used (replaces channel 124885A1)

1шт.

Выбрано товаров: 23