Запчасти Case IH 2055 (9B-08) - WATER LINES SERVICE CENTER (14) - WATER SYSTEM

Схема запчастей Case IH 2055 - (9B-08) - WATER LINES SERVICE CENTER (14) - WATER SYSTEM
11
8
3
5
10
4
4
6
1
5
7
9
2
4
5
3
FIT
1:1
100%

Артикул

Название

Примечание

Количество

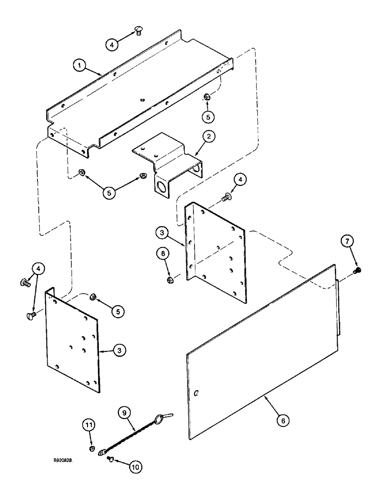
1

1990233C1

SUPPORT

- service center top

1шт.

2

1345112C1

SUPPORT

BRACKET - water filter

1шт.

3

1345144C1

SUPPORT

- service center, front and rear

2шт.

4

477-73812

SERRATED SCREW,Truss HD, 3/8" - 16 x 3/4"

- slotted truss head, special, 3/8 NC x 3/4 inch

12шт.

5

231-5146

FLANGE NUT,3/8"-16

12шт.

6

1345217C1

TRAP DOOR

DOOR - service center

1шт.

7

135270

SERRATED SCREW,5/16" - 18 x 3/4"

- slotted truss head, 5/16 NC x 3/4 inch

2шт.

8

231-5145

SERRATED NUT,Flg, USR, 5/16"-18

NUT - hex serrated flange, 5/16 inch NC

2шт.

9

1345212C1

CHAIN (AG)

CHAIN - retainer, includes click pin

1шт.

10

409-748

BOLT,Hex Flg, 1/4" - 20 x 1/2", Spcl

1шт.

11

231-5144

SERRATED NUT,Flg, USR, 1/4"-20

1шт.

Выбрано товаров: 11