Запчасти Case IH 2055 (2-38) - CYLINDER BLOCK 6TA-830 ENGINE (01) - ENGINE

Схема запчастей Case IH 2055 - (2-38) - CYLINDER BLOCK 6TA-830 ENGINE (01) - ENGINE
13
6
12
16
7
15
14
9
8
7
4
8
23
7
29
18
5
21
2
22
14
10
26
28
20
1
14
27
11
12
19
7
17
25
3
24
FIT
1:1
100%

Артикул

Название

Примечание

Количество

1989144C2

ENGINE ASSEMBLY

ENGINE ASSY ENGINE ASSEMBLY complete, 6TA-830

1шт.

Includes all parts except starter, alternator, fan, fan belt, air cleaner, muffler and exhaust pipe, for service order basic engine below, uses fuel injection pump with aneroid, for service order 1989167C3 basic engine below

1шт.

1989144C3

ENGINE ASSEMBLY

ENGINE ASSY Complete, 6TA-830

1шт.

Includes all parts except starter, alternator, fan, fan belt, air cleaner, muffler and exhaust pipe, for serivce order basic engine below, uses fuel injection pump without aneroid, for service order 1989167C3 basic engine below

1шт.

1989144C3R

REMAN-REPLACEMENT EN

Reman For New PN 1989144C3

1шт.

6TA-830C

CORE-REPLACEMENT ENG

Return Part Number, KNOWN POTENTIAL CORE VARIATIONS, REFER TO CORE CRITERIA FOR PROPER CORE IDENTIFICATION

1шт.

1989167C2R

ENGINE, EXCHANGE

Engine (Exchange) Engine Assembly remanufactured, component parts shown on this page do not apply to the remanufactured assembly, remanufactured replaces 1989167C1R basic engine assembly

1шт.

1989167C1C

CORE-ENGINE

Return Part Number use this part number to return basic engine core for credit when using a remanufactured assembly

1шт.

1989167C3

BASIC ENGINE

ENGINE ASSEMBLY basic

1шт.

Includes all parts except starter, alternator, fan, fan belt, air cleaner, muffler, exhaust manifold, flywheel and housing, oil fill and dipstick, fuel injection pump, injectors and lines, front pulley, belt tensioner, turbocharger and aftercooler, replaces 1989167C1 and 1989167C2 basic engine assembly

1шт.

199949A1R

REMAN-BASIC ENGINE

Includes all parts except starter, alternator, fan, fan belt, air cleaner, muffler, exhaust manifold, flywheel and housing, oil fill and dipstick, fuel injection pump, injectors and lines, front pulley, belt tensioner, turbocharger and aftercooler, replaces 1989167C1 and 1989167C2 basic engine assembly

1шт.

199949A1C

CORE-BASIC ENGINE

Return Part Number

1шт.

JR925187

SKELETON ENGINE

BLOCK ASSEMBLY - short, engine remanufactured, North America only, component parts shown on this page do not apply to the remanufactured assembly, no longer available, order J926151 short block assembly for service

1шт.

JC925187

CORE-SHORT ENGINE

RETURN NUMBER - use this part number to return short block for credit when using a remanufactured assembly

1шт.

J926151

SKELETON ENGINE

BLOCK ASSEMBLY - short, new, includes stripped block, pistons, connecting rods and bearings, crankshaft and bearings, replaces J921839 and J925187 block assemblies

1шт.

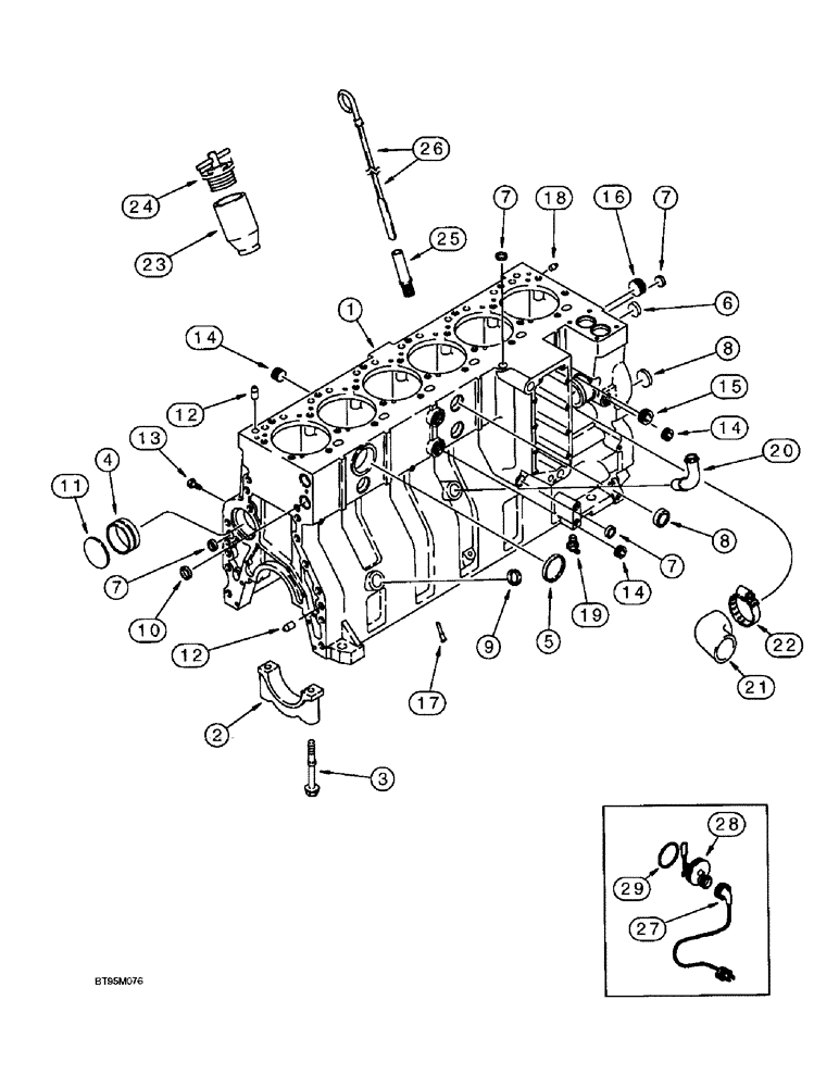
1

J926145

CRANKCASE

BLOCK ASSEMBLY - stripped engine, replaces J919934 and J923289 block assembly

1шт.

Order items 9 - 20, when ordering J926145 stripped block.

1шт.

2

J917313

BEARING CAP

CAP - bearing, main

7шт.

3

J916369

FLANGE BOLT,Hex, M14 x 2 x 128mm, Cl 10.9

SCREW, Hex Flg Hd, M14 x 128

14шт.

4

J901685

BUSHING

BUSHING - camshaft, front, see page 2-36, item 6

7шт.

5

A77782

PLUG

PLUG - expansion, 58 mm OD

1шт.

5a

J920706

PLUG

PLUG - expansion, 22 mm OD, replaces A77439 plug, not used in this application, not shown

1шт.

6

A77586

PLUG

PLUG - expansion, 28.9 mm OD

1шт.

7

A77506

PLUG

PLUG - expansion, 21 mm O.D.

4шт.

8

J905401

PLUG

PLUG - expansion, 35 mm OD

4шт.

A77716

BLOCK

KIT - block hardware, no longer available, order components separately

1шт.

9

J920706

PLUG

PLUG - expansion, 22 mm OD, replaces A77439 plug, not used in this application

1шт.

10

A77530

PLUG

PLUG - expansion, 30 mm OD

2шт.

11

41-3044

PLUG,Exp, 2 3/4"

PLUG, , Replaces J901969 Exp, 2 3/4"

1шт.

12

J901846

PIN,12.01mm OD x 24mm L

PIN - dowel

4шт.

13

J906619

PLUG,1/8" - 27

PLUG - hex, 1/8 inch PT

6шт.

14

A77429

PLUG

PLUG - hex socket, 1/2 inch PT, 4 used in this application

5шт.

15

A77505

PLUG

PLUG - hex socket, 3/4 inch PT

2шт.

16

A77533

PLUG

PLUG - hex socket, 1 inch PT

1шт.

17

J919003

NOZZLE INJECTION

NOZZLE - piston cooling

12шт.

18

J900257

PIN,10.01mm OD x 16mm L

PIN - dowel, 16 mm long

2шт.

19

217-103

COCK, DRAIN

VALVE - 1/4 inch PT, drain, coolant

1шт.

20

J903744

PIPE FITTING,22.42 mm ID x 28 mm OD x 90.2, 64 mm L

TUBE - turbocharger oil drain

1шт.

21

J920762

ELBOW

HOSE - elbow, water, 79 mm (3-1/8 inch)

1шт.

22

J918521

HOSE CLAMP,59mm - 83mm

CLAMP - adj, 1-13/16 - 2-3/4 inch dia, replaces 214-261 clamp

1шт.

23

J905408

TUBE,35.13 mm ID x 52.39 mm OD x 100 mm L

TUBE - oil filler

1шт.

24

A77424

FILLER CAP

CAP - oil fill tube

1шт.

25

J905425

TUBE,9.52 mm OD x 93 mm L

TUBE - dipstick, oil

1шт.

26

J906757

DIPSTICK

DIPSTICK - oil gauge

1шт.

A77595

KIT

KIT - engine block heater

1шт.

27

J905113

CABLE

CABLE - engine block heater

1шт.

28

NSS

NOT SOLD SEPARAT

ELEMENT - heater ENGINE BLOCK

1шт.

29

J921068

TUBE,35.13 - 52.39 mm OD x 180 mm L

O-RING - heater sealing (Replaces J910517) ENGINE BLOCK

1шт.

Выбрано товаров: 48