Запчасти Case IH 2155 (8-08) - RESERVOIR TO HYDRAULIC PUMP SYSTEM (07) - HYDRAULICS

Схема запчастей Case IH 2155 - (8-08) - RESERVOIR TO HYDRAULIC PUMP SYSTEM (07) - HYDRAULICS
12
1
4
11
5
2
14
13
8
3
10
6
7
9
FIT
1:1
100%

Артикул

Название

Примечание

Количество

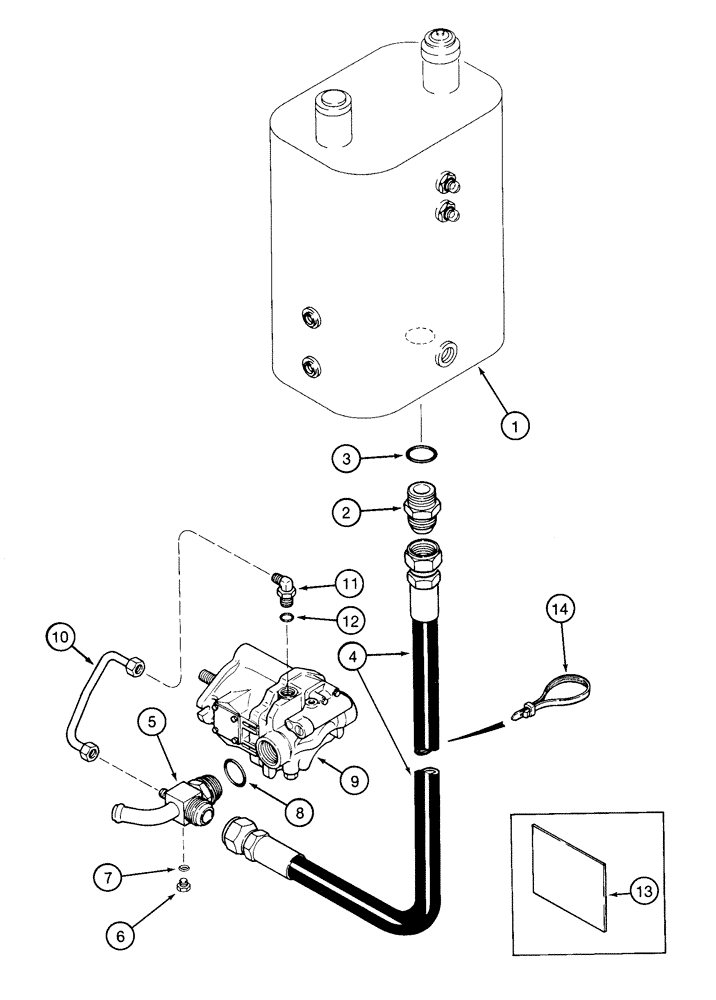
1

123413A3

TANK, HYDRAULIC OIL

RESERVOIR ASSEMBLY - hydraulic oil, see page 8-2 for assembly and mounting

1шт.

2

218-5049

HYD CONNECTOR,1-7/8" - 12 Male JIC x 1-5/8" - 12 Male ORB

ADAPTER - straight, 1-7/8-12 flare x 1-5/8-12 inch O-ring boss

1шт.

3

237-6020

O-RING,0.118" Thk x 1.475" ID, -920, Cl 6, 90 Duro

20-1, 90 Duro, 1.475" ID x .118" Thk

1шт.

4

1988946C1

HOSE

- 39-3/8 inch (1000 mm) long, pump suction

1шт.

5

1971747C1

FITTING

- cross, special

1шт.

6

9672438

PLUG,7/16" - 20 ORB

1шт.

8

237-6024

O-RING,0.118" Thk x 1.720" ID, -924, Cl 6, 90 Duro

24-1, 90 Duro, 1.72" ID x .118" Thk

1шт.

9

1282249C91

PUMP, HYDRAULIC

PUMP ASSEMBLY - hydraulic, new, parts list pages 8-11 and 8-13

1шт.

10

184360A1

TUBE

- case drain

1шт.

11

218-5281

ELBOW,90 Degree, 9/16"-18, 37 Degree x 9/16"-18, O-Ring

- 90 degree, 9/16-18 flare x 7/8-14 inch adj O-ring boss

1шт.

12

237-6010

O-RING,0.097" Thk x 0.755" ID, -910, Cl 6, 90 Duro

10-1, 90 Duro, .755" ID x .097" Thk

1шт.

13

112075A1

SKID/SHOE

PAD - hydraulic hose, 203 x 229 x 2.4 mm

1шт.

14

306132C1

CABLE TIE,14.5" L

STRAP - tie, 4 inch maximum bundle

2шт.

7

237-6004

O-RING,0.072" Thk x 0.351" ID, -904, Cl 6, 90 Duro

4-1, 90 Duro, .351" ID x .072" Thk

1шт.

Выбрано товаров: 0