Запчасти Case IH 2155 (9E-44) - HEATING SYSTEM, EVAPORATOR CORE TO CAB, CHASSIS CONNECTIONS (10) - CAB & AIR CONDITIONING

Схема запчастей Case IH 2155 - (9E-44) - HEATING SYSTEM, EVAPORATOR CORE TO CAB, CHASSIS CONNECTIONS (10) - CAB & AIR CONDITIONING
11
16
4
4
14
17
10
5
2
12
12
14
2
10
10
6
8
3
10
7
13
11
10
9
1
10
16
15
17
FIT
1:1
100%

Артикул

Название

Примечание

Количество

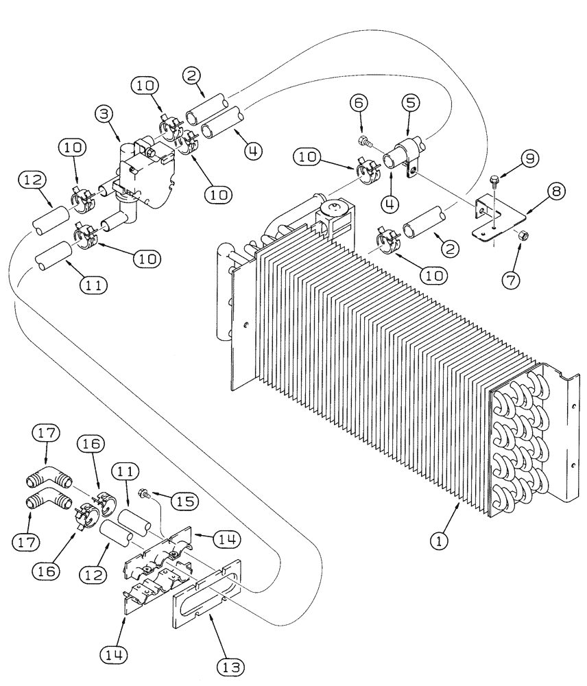
1

121590A2

BODY

CORE ASSEMBLY - evaporator, see page 9E-43 for core and attaching parts

1шт.

2

141148A1

HOSE,15.50 mm ID x 247.60 mm

HEATER HOSE - Formed, Evaporator core to heater control valve 15.50 mm ID x 247.60 mm

1шт.

3

141336A1

VALVE

- heater control

1шт.

4

141147A1

HOSE,15.50 mm ID x 190.30 mm

HEATER HOSE - Formed, Heater control valve to evaporator core 15.50 mm ID x 190.30 mm

1шт.

5

515-22254

CLAMP,1", Insul, 5/16" Bolt

P-type 1", Insul, 5/16" Bolt

1шт.

6

614-8016

BOLT,Hex, M8 x 1.25 x 16mm, Cl 8.8, Full Thd

- hex, full threads, 8 - 1.25 x 16 mm

1шт.

7

829-1408

NUT,Hex, M8 x 1.25, Cl 10.9

- hex, 8 mm - 1.25, class 10

1шт.

8

181450A1

SUPPORT

BRACKET - hose clamp support

1шт.

10

1954736C1

HOSE CLAMP,#24

CLAMP, HOSE, , Adjustable #24

6шт.

11

1958774C1

HEATER HOSE

- heater, 28 inch (710 mm) long, cut from 97252CX bulk hose, supply, see below

1шт.

12

121748A2

HEATER HOSE,15.50mm ID x 750mm L

- Return 15.50 mm ID x 750.00 mm

1шт.

13

125000A2

GASKET

- bulkhead clamp

1шт.

9

281-53510

SELF-TAP SCREW,Hex Wash Hd, #10 x 5/8"

SCREW, SELF TAP, Hex Wash Hd, #10 x 5/8"

2шт.

14

125264A2

CLAMP

- hose bulkhead

2шт.

15

191216A1

SELF-TAP SCREW,Hex Wash Hd, #10-24 x 5/8"

SCREW, SELF TAP, Hex Wash Hd, #10-24 x 5/8"

8шт.

16

1954736C1

HOSE CLAMP,#24

CLAMP, HOSE, , Adjustable #24

2шт.

17

127083A1

ELBOW,16mm OD x 17mm OD Bead

- 90 degree, special

2шт.

97252CX

HOSE

- bulk, 5/8 (16) x 1 (25) x 600 inch (15240 mm) long

1шт.

Выбрано товаров: 18