Запчасти Case IH 2155 (9F-14) - FUEL TANK SHIELDS (12) - CHASSIS

Схема запчастей Case IH 2155 - (9F-14) - FUEL TANK SHIELDS (12) - CHASSIS
5
9
3
8
5
7
1
5
5
10
4
2
6
7
11
6
FIT
1:1
100%

Артикул

Название

Примечание

Количество

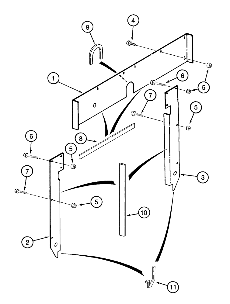
1

1984051C1

COVER

- fuel tank, upper

1шт.

2

1984052C1

COVER

- fuel tank side, left-hand

1шт.

3

1984053C1

COVER

- fuel tank side, right-hand

1шт.

4

256873

BOLT,Hex Serr, 5/16" - 18 x 1/2", 5SPL, Full Thd

8шт.

5

231-5145

SERRATED NUT,Flg, USR, 5/16"-18

NUT - hex serrated flange, 5/16 inch NC

14шт.

6

409-7524

BOLT,Hex Flg, 5/16" - 18 x 1 1/2", Spcl

- hex serrated flange, 5/16 NC x 1-1/2 inch

2шт.

7

409-7516

BOLT,Hex Flg, 5/16" - 18 x 1", Spcl

4шт.

8

87110C1

SEAL

- 17-3/4 inch (451 mm) long, cut from 1263038C1 bulk seal, fuel tank upper cover, see below

2шт.

9

87111C2

SEAL

- 6-7/8 inch (175 mm) long, cut from 1263038C1 bulk seal, fuel tank upper cover, see below

1шт.

10

1990499C1

SEAL

- adhesive-backed, 20 inch (508 mm) long, cut from 73215C2 bulk seal, fuel tank side cover, see below

2шт.

11

1330169C1

SEAL

- adhesive-backed, 10-5/16 inch (262 mm) long, cut from 195917C2 bulk seal, fuel tank side cover, see below

2шт.

1263038C1

SEAL,7620mm L

- bulk, 300 inch (7620 mm) long

1шт.

73215C2

GASKET

SEAL - bulk, foam, adhesive-backed, 600 inch (15240 mm) long

1шт.

195917C2

SEAL

SEAL - bulk, foam, adhesive-backed, 600 inch (15240 mm) long

1шт.

Выбрано товаров: 14