Запчасти Case IH 2155 (9A-50) - PICKER BARS AND SPINDLES (13) - PICKING SYSTEM

Схема запчастей Case IH 2155 - (9A-50) - PICKER BARS AND SPINDLES (13) - PICKING SYSTEM
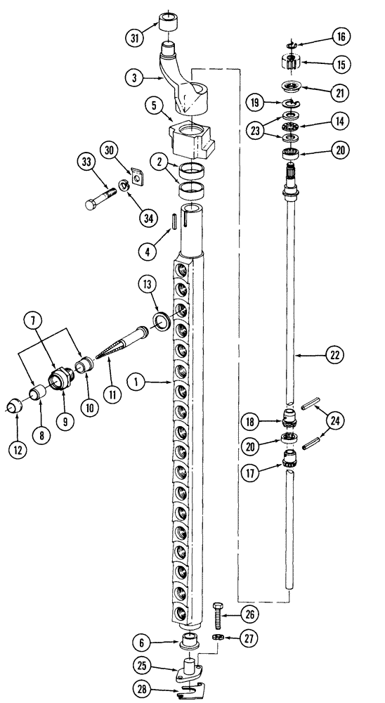
31
16
17
14
3
20
12
24
30
27
25
28
2
1
8
13
23
6
22
20
15
4
26
34
18
19
10
33
7
11
21
9
5
FIT
1:1
100%

Артикул

Название

Примечание

Количество

1982390C2

BAR ASSY.

BAR ASSEMBLY - picker, left-hand, includes items 1 - 24

12шт.

1982391C2

BAR ASSY.

BAR ASSEMBLY - picker, right-hand

12шт.

1

1982392C1

BAR

- picker, left-hand

1шт.

1

1982393C1

BAR

- picker, right-hand

1шт.

2

223634C1

SLEEVE,41.93mm ID x 43.98mm OD x 21.5mm L

SLEEVE - picker bar

2шт.

3

216504C3

ARM

- picker bar cam, left-hand

1шт.

3

216505C3

ARM

- picker bar cam, right-hand

1шт.

4

Q5024

KEY,3/16" Sq x 1", Par

1шт.

5

1982394C2

BEARING,48.97 mm ID x 39 mm

- journal

1шт.

238-6132

O-RING,0.103" Thk x 1.737" ID, -132, Cl 6, 90 Duro

2шт.

6

669815R3

BUSHING,19.16mm ID x 28.78mm OD x 20.62mm L

- picker bar pivot

1шт.

7

1994865C1

RING ASSY.

HOLDER ASSEMBLY - spindle, left-hand

18шт.

7

1994866C1

RING ASSY.

HOLDER ASSEMBLY - spindle, right-hand

18шт.

8

1994863C1

BUSHING,12.72mm ID x 15.27mm OD x 19mm L

- spindle, plain

1шт.

9

NSS

NOT SOLD SEPARAT

HOLDER - spindle, right-hand

1шт.

9

NSS

NOT SOLD SEPARAT

HOLDER - spindle, right-hand

1шт.

10

1994864C1

BUSHING,12.72mm ID x 21mm OD x 15mm L

- flanged

1шт.

11

216546C2

SPINDLE

- picker, left-hand

18шт.

216546C2 SPINDLE IS FOR THE REAR

1шт.

11

216547C2

FINGER

SPINDLE - picker, right-hand

18шт.

216547C2 SPINDLE IS FOR THE FRONT

1шт.

12

216554C1

SHIELD

- spindle

18шт.

13

674980R2

SHIM,25.77mm ID x 31.75mm OD x 0.31mm Thk

(0.012"), Spindle nut 0.3048mm Thk

1шт.

13

11264R

SHIM,25.77mm ID x 31.75mm OD x 0.2mm Thk

(0.008"), Spindle nut 0.2032mm Thk

1шт.

13

1994989C1

SPACER

SHIM - 0.006 inch thick, spindle nut

1шт.

13

202099C1

SPACER

SHIM - 0.004 inch thick, spindle nut

1шт.

14

372070R91

BEARING ASSY,15.93mm ID x 28.32mm OD x 1.98mm W

BEARING - thrust

1шт.

15

216584C3

GEAR

- spindle drive shaft

1шт.

16

100-1150

SNAP RING,#50, Ext

Ring, Snap, #50, Ext

1шт.

17

10053RA

GEAR

- spindle, long

5шт.

18

10054RA

GEAR

- spindle, short

13шт.

19

100-21112

SNAP RING,1.125", Int, #112

Ring, Snap, 1.125", Int, #112

1шт.

20

3139062R91

BEARING, NEEDLE,Needle, 22.21mm ID x 31.88mm OD x 9.53mm W

BEARING - spindle gear

6шт.

21

1982364C1

SEAL,28.73mm ID x 36mm OD x 4.78mm Thk

- picker bar upper

1шт.

22

216578C3

SHAFT

- spindle drive

1шт.

23

216581C1

THRUST WASHER,15.93mm ID x 28.32mm OD x 2.41mm Thk

- thrust

2шт.

24

25954R1

LOCK PIN,9/64" x 1", Slotted

Pin, 9/64" x 1", Slotted

18шт.

25

214910C2

PIVOT

- picker bar

24шт.

26

114-105

BOLT,Hex, 5/16" - 24 x 5/8", Gr 5

48шт.

27

92-11031

LOCK WASHER,5/16"

WASHER, LOCK, 5/16"

48шт.

28

1338189C1

SHIM,0.05mm Thk

- 0.002 inch thick, picker bar

1шт.

28

669817R1

SHIM,0.08mm Thk

- 0.003 inch thick, picker bar

1шт.

28

669818R1

SHIM,0.18mm Thk

- 0.005 inch thick, picker bar

1шт.

28

669819R1

SHIM,0.18mm Thk

- 0.007 inch thick, picker bar

1шт.

28

669820R1

SHIM,0.25mm Thk

- 0.010 inch thick, picker bar

1шт.

30

1994935C1

LARGE PLATE

RETAINER - journal bearing

24шт.

31

86948C1

ROLLER,34.93mm OD x 20mm L

- cam arm

24шт.

33

413-644

BOLT,Hex, 3/8" - 16 x 2-3/4", Gr 5

- hex, 3/8 NC x 2-3/4 inch

24шт.

34

492-11038

LOCK WASHER,3/8"

WASHER, LOCK, 3/8"

24шт.

Выбрано товаров: 49